Скачать Типовой проект 902-2-356 Отстойники канализационные вертикальные вторичные из сборного железобетона диаметром 4,5 мДата актуализации: 01.01.2021 Типовой проект 902-2-356
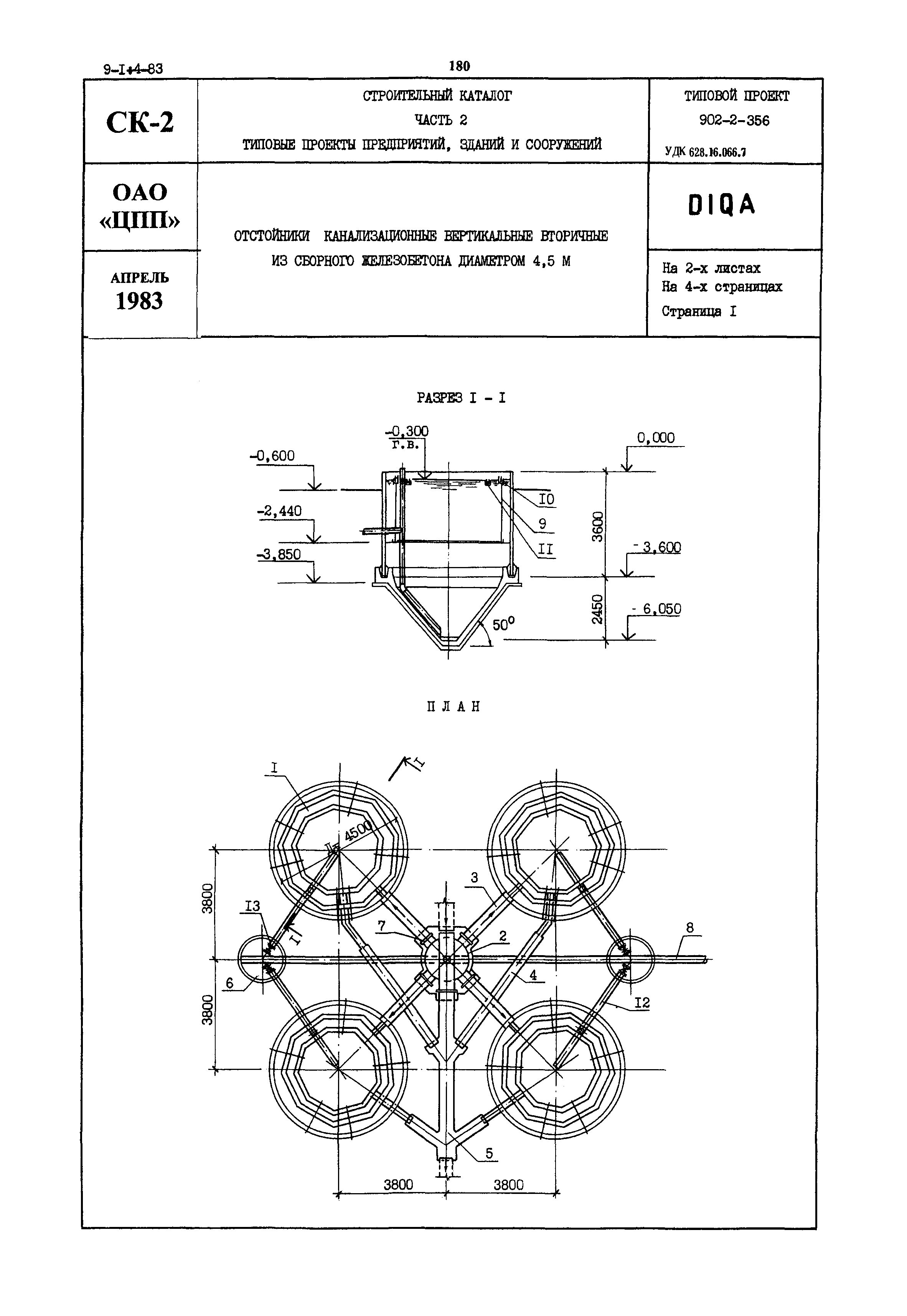
Отстойники канализационные вертикальные вторичные из сборного железобетона диаметром 4,5 м| Обозначение: | Типовой проект 902-2-356 | | Обозначение англ: | 902-2-356 | | Статус: | не определен законодательством | | Название рус.: | Отстойники канализационные вертикальные вторичные из сборного железобетона диаметром 4,5 м | | Дата добавления в базу: | 01.09.2013 | | Дата актуализации: | 01.01.2021 | | Дата введения: | 27.01.1983 | | Дата окончания срока действия: | 30.06.2003 |
   
|