Скачать Типовой проект 902-2-407с.86 Односекционные железобетонные резервуары для сточных вод и осадков из сборных унифицированных конструкций заводского изготовленияДата актуализации: 01.01.2021 Типовой проект 902-2-407с.86
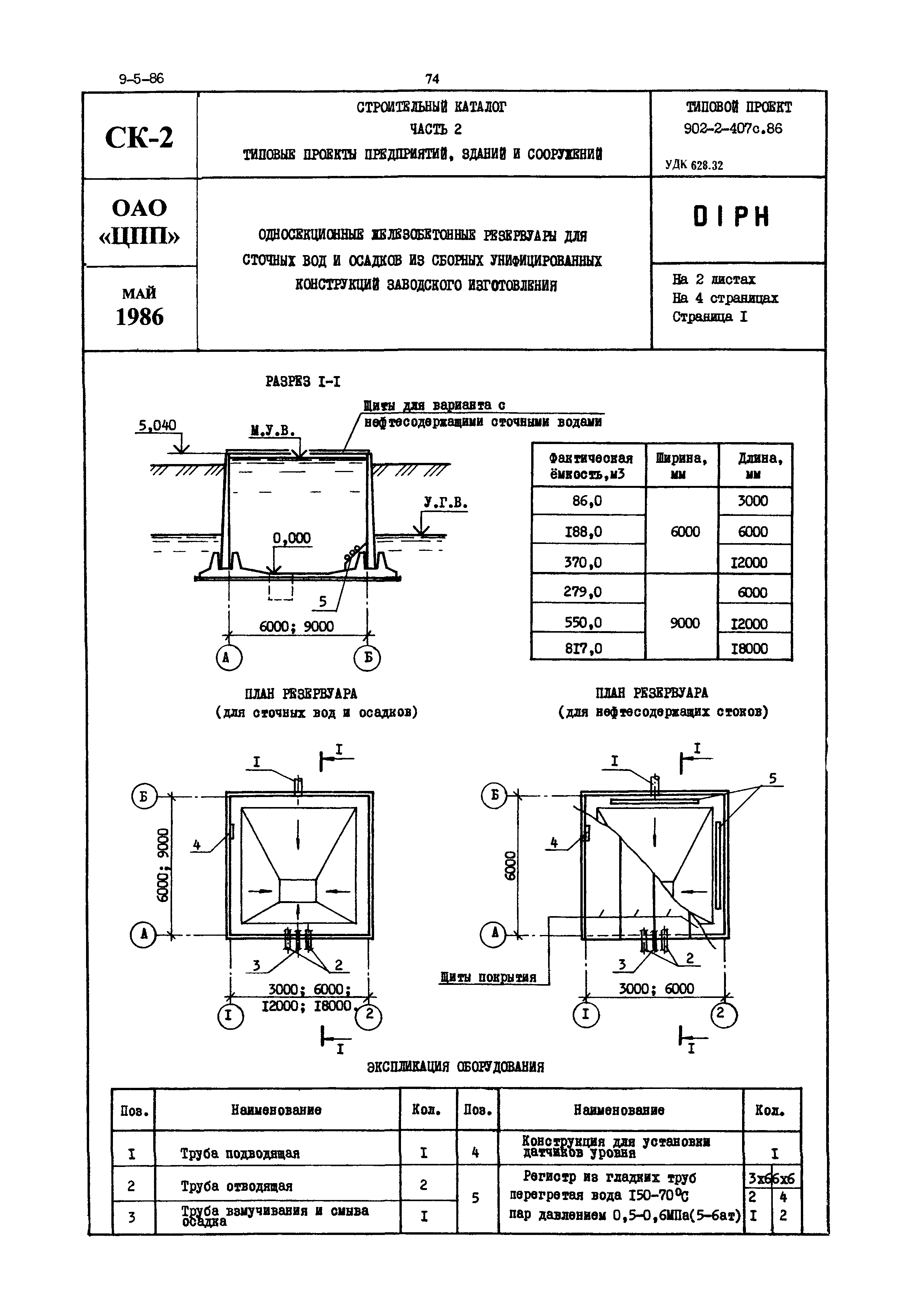
Односекционные железобетонные резервуары для сточных вод и осадков из сборных унифицированных конструкций заводского изготовления| Обозначение: | Типовой проект 902-2-407с.86 | | Обозначение англ: | 902-2-407с.86 | | Статус: | не определен законодательством | | Название рус.: | Односекционные железобетонные резервуары для сточных вод и осадков из сборных унифицированных конструкций заводского изготовления | | Дата добавления в базу: | 01.09.2013 | | Дата актуализации: | 01.01.2021 | | Дата введения: | 06.03.1985 | | Дата окончания срока действия: | 30.06.2003 |
  
|