Скачать Типовой проект 901-2-182.91 Насосная станция на водозаборной скважине с насосами ЭЦВ производительностью от 3 до 12 куб. м/ч и бактерицидными установками ОВ-1П

Дата актуализации: 01.01.2021

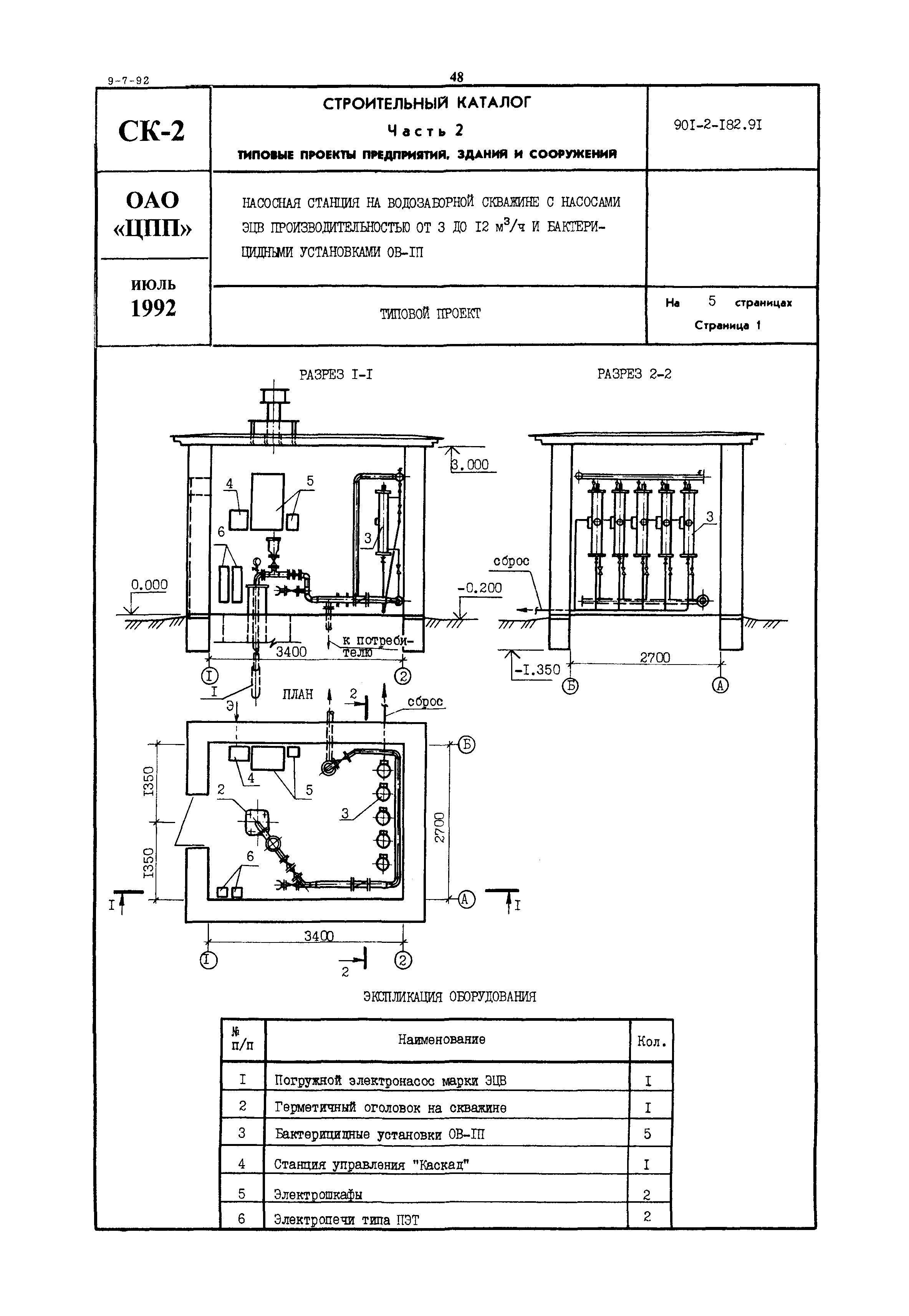
Типовой проект 901-2-182.91

Насосная станция на водозаборной скважине с насосами ЭЦВ производительностью от 3 до 12 куб. м/ч и бактерицидными установками ОВ-1П

Обозначение: Типовой проект 901-2-182.91
Обозначение англ: 901-2-182.91
Статус:не определен законодательством
Название рус.:Насосная станция на водозаборной скважине с насосами ЭЦВ производительностью от 3 до 12 куб. м/ч и бактерицидными установками ОВ-1П
Дата добавления в базу:01.09.2013
Дата актуализации:01.01.2021
Дата введения:01.07.1992
Дата окончания срока действия:30.06.2003
Область применения:Насосная станция предназначена для подъема воды из скважин, ее обеззараживания и подачи в систему хозяйственно-питьевого, противопожарного и производственного водоснабжения объектов с водопотреблением 50-200 куб. м/сутки.
Типовой проект 901-2-182.91Типовой проект 901-2-182.91Типовой проект 901-2-182.91Типовой проект 901-2-182.91Типовой проект 901-2-182.91