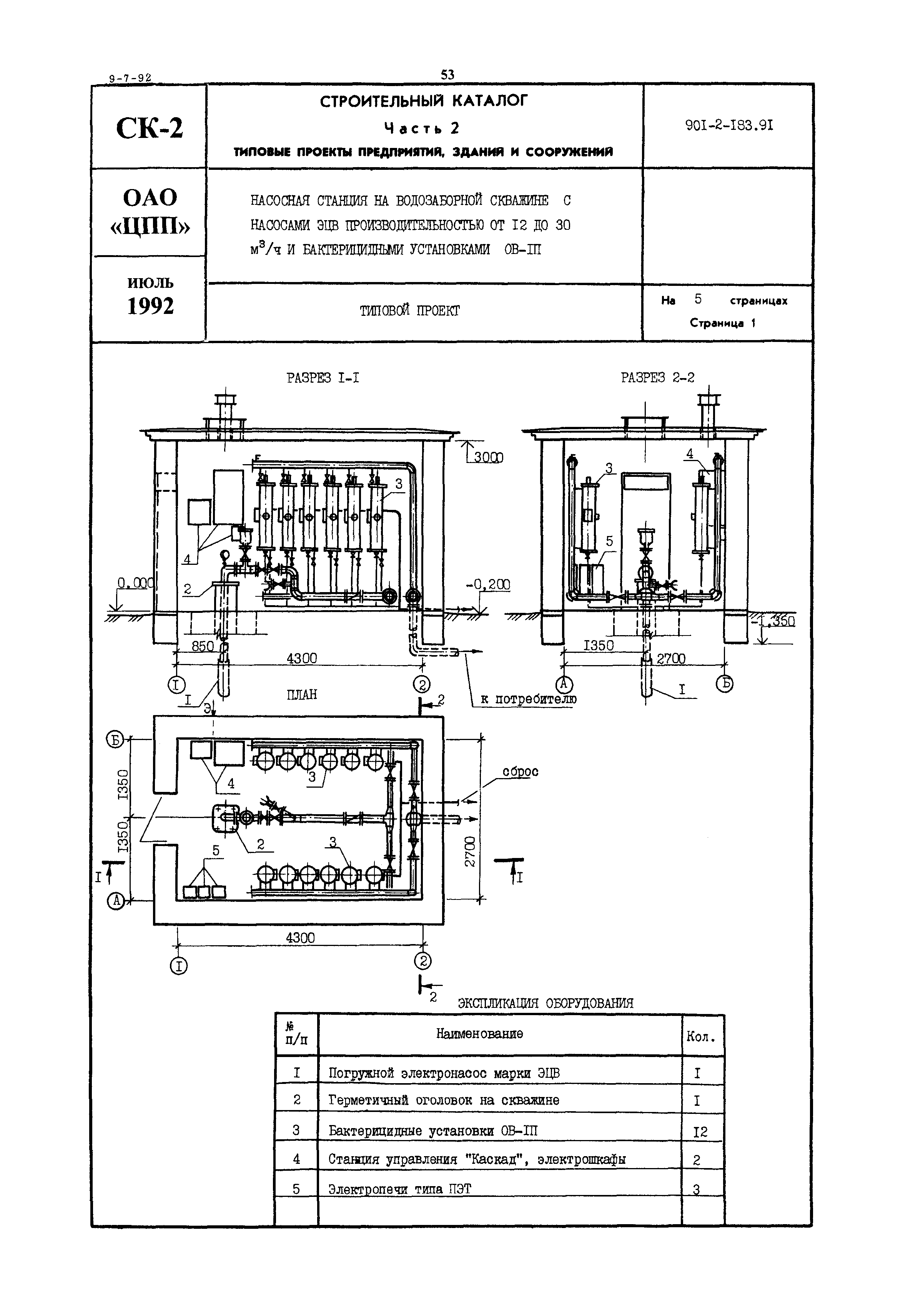
Скачать Типовой проект 901-2-183.91 Насосная станция на водозаборной скважине с насосами ЭЦВ производительностью от 12 до 30 куб. м/ч и бактерицидными установками ОВ-1ПДата актуализации: 01.01.2021 Типовой проект 901-2-183.91
Насосная станция на водозаборной скважине с насосами ЭЦВ производительностью от 12 до 30 куб. м/ч и бактерицидными установками ОВ-1П| Обозначение: | Типовой проект 901-2-183.91 | | Обозначение англ: | 901-2-183.91 | | Статус: | не определен законодательством | | Название рус.: | Насосная станция на водозаборной скважине с насосами ЭЦВ производительностью от 12 до 30 куб. м/ч и бактерицидными установками ОВ-1П | | Дата добавления в базу: | 01.09.2013 | | Дата актуализации: | 01.01.2021 | | Дата введения: | 28.05.1991 | | Дата окончания срока действия: | 30.06.2003 |
   
|