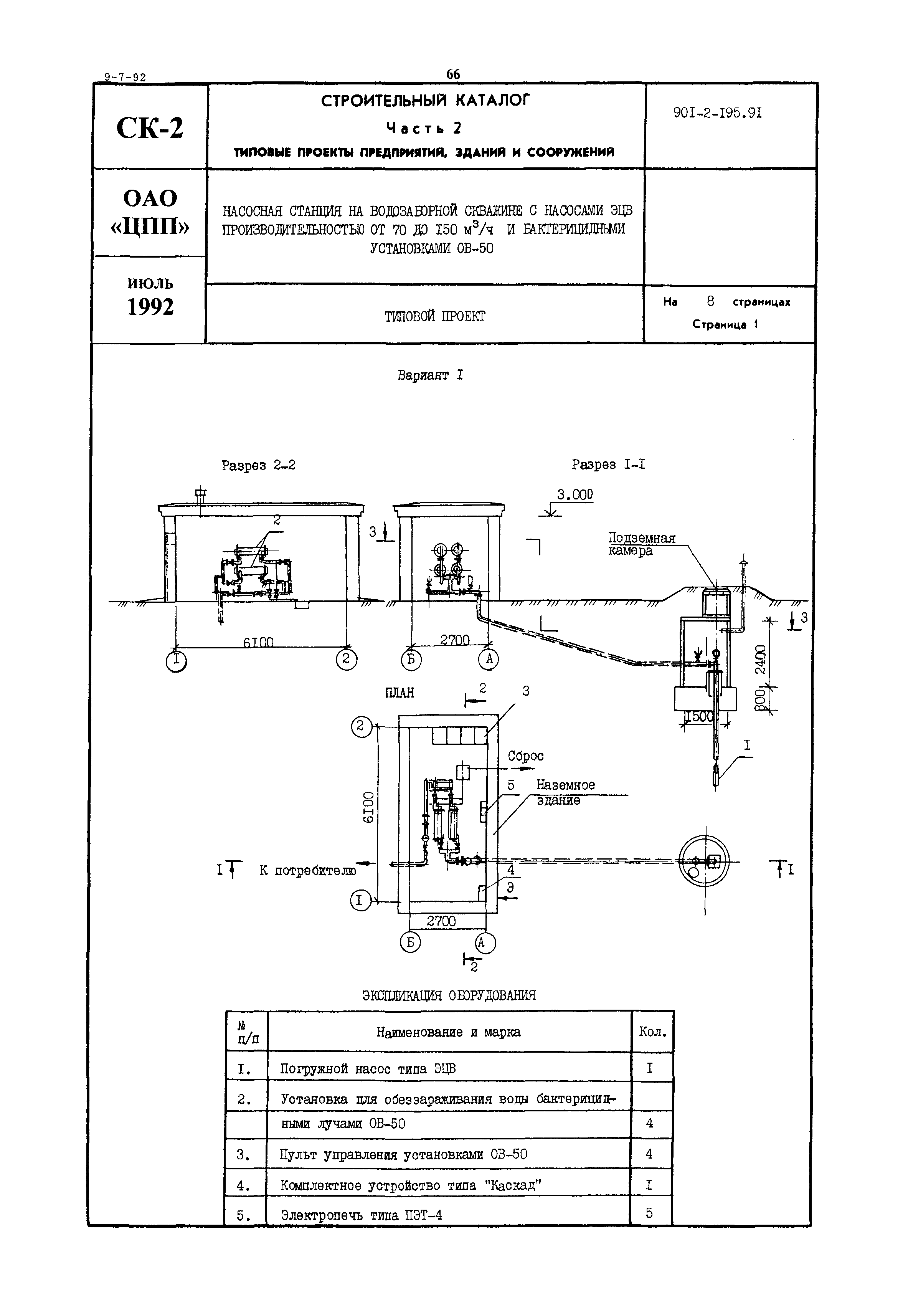
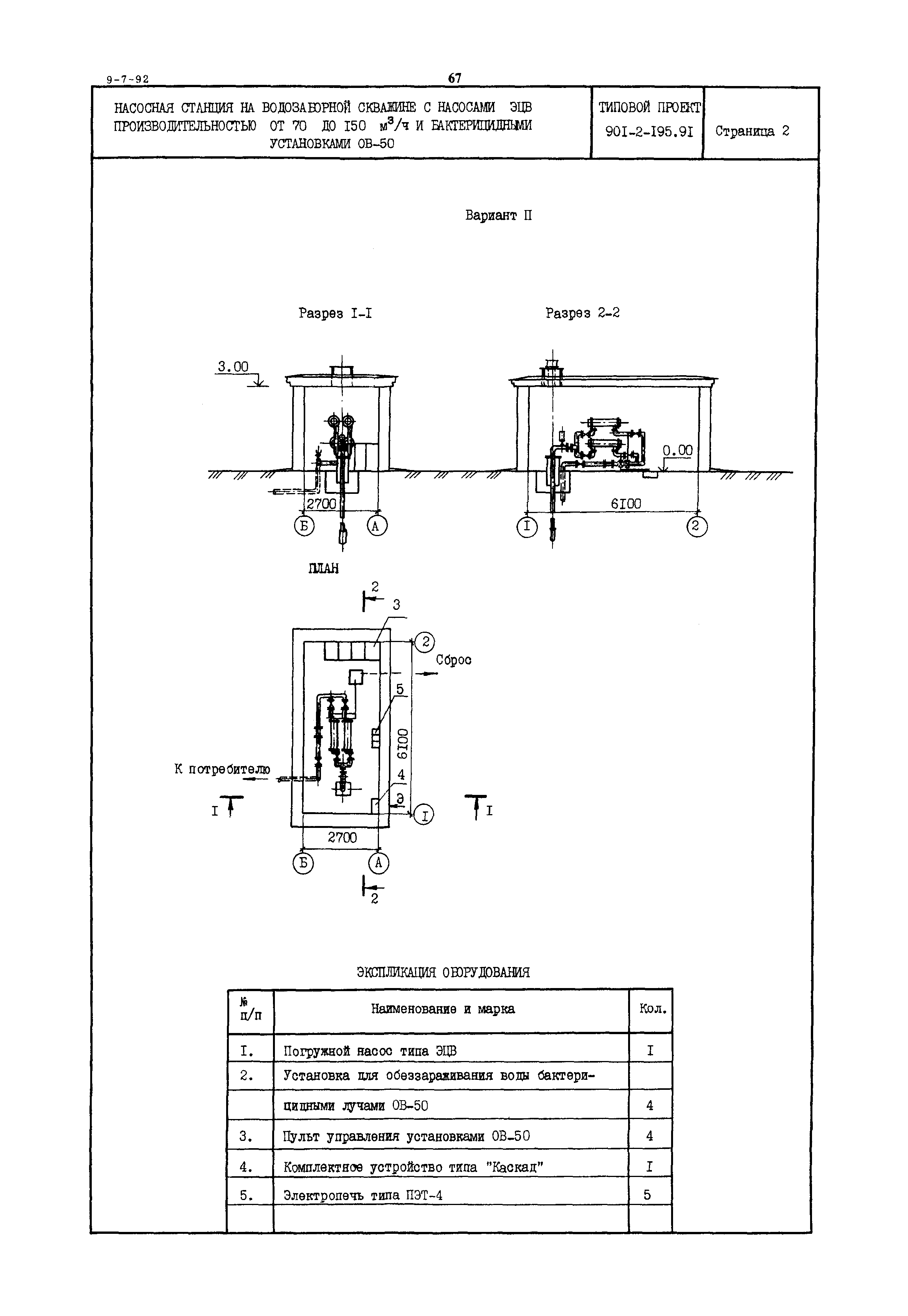
Скачать Типовой проект 901-2-195.91 Насосная станция на водозаборной скважине с насосами ЭЦВ производительностью от 70 до 150 м3/ч и бактерицидными установками ОВ-50Дата актуализации: 01.01.2021 Типовой проект 901-2-195.91
Насосная станция на водозаборной скважине с насосами ЭЦВ производительностью от 70 до 150 м3/ч и бактерицидными установками ОВ-50| Обозначение: | Типовой проект 901-2-195.91 | | Обозначение англ: | 901-2-195.91 | | Статус: | не определен законодательством | | Название рус.: | Насосная станция на водозаборной скважине с насосами ЭЦВ производительностью от 70 до 150 м3/ч и бактерицидными установками ОВ-50 | | Дата добавления в базу: | 01.09.2013 | | Дата актуализации: | 01.01.2021 | | Дата введения: | 01.07.1992 | | Дата окончания срока действия: | 30.06.2003 |
      
|