Скачать Типовой проект 901-2-186.91 Наземная насосная станция на скважине с насосами ЭЦВ производительностью 50 - 80 куб. м/чДата актуализации: 01.01.2021 Типовой проект 901-2-186.91
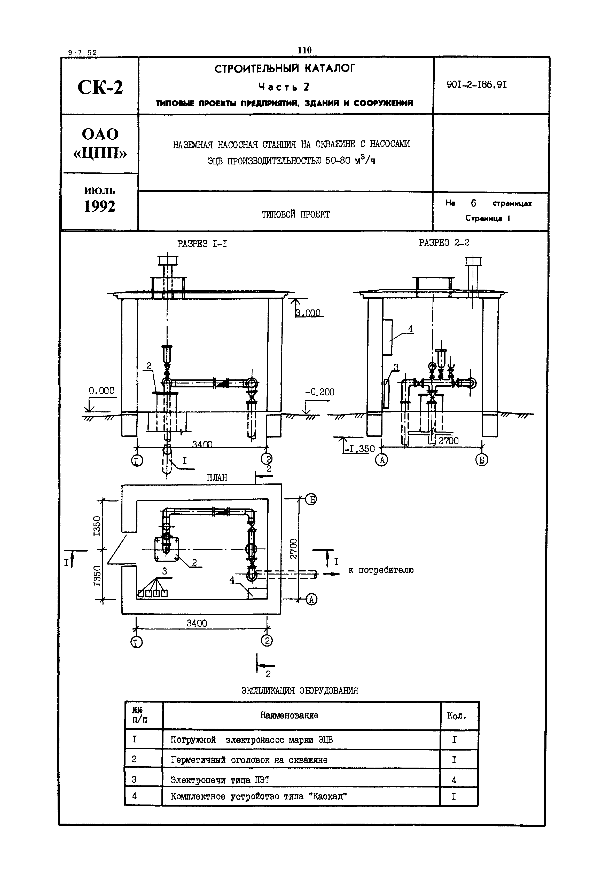
Наземная насосная станция на скважине с насосами ЭЦВ производительностью 50 - 80 куб. м/ч| Обозначение: | Типовой проект 901-2-186.91 | | Обозначение англ: | 901-2-186.91 | | Статус: | не определен законодательством | | Название рус.: | Наземная насосная станция на скважине с насосами ЭЦВ производительностью 50 - 80 куб. м/ч | | Дата добавления в базу: | 01.09.2013 | | Дата актуализации: | 01.01.2021 | | Дата введения: | 01.07.1992 | | Дата окончания срока действия: | 30.06.2003 |
    
|