Скачать Типовые проектные решения 901-5-045.88 Унифицированные водонапорные стальные башни заводского изготовления (системы Рожновского) вместимостью 15, 25, 50 куб. м высотой опоры 10, 12, 15, 18 мДата актуализации: 01.01.2021 Типовые проектные решения 901-5-045.88
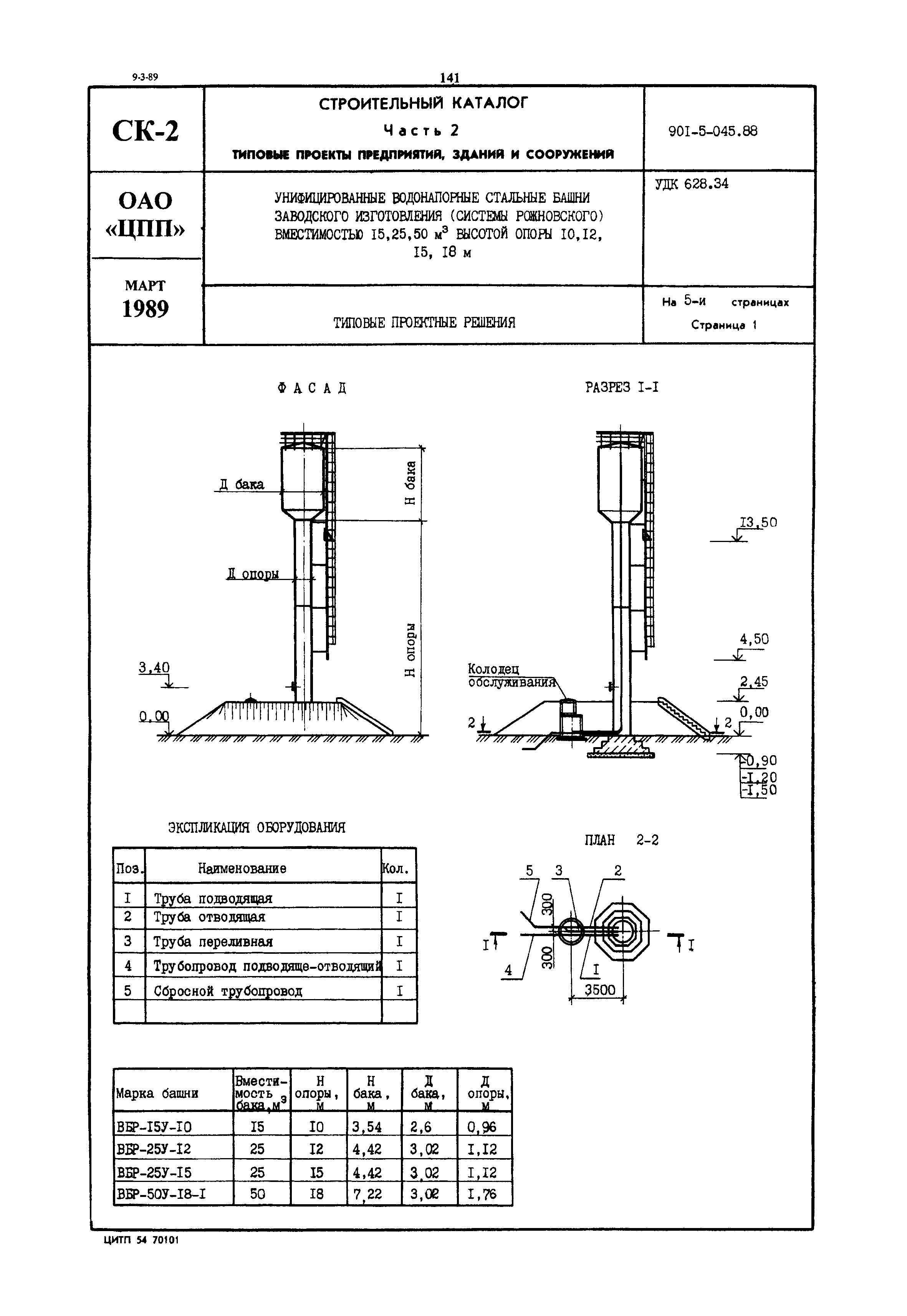
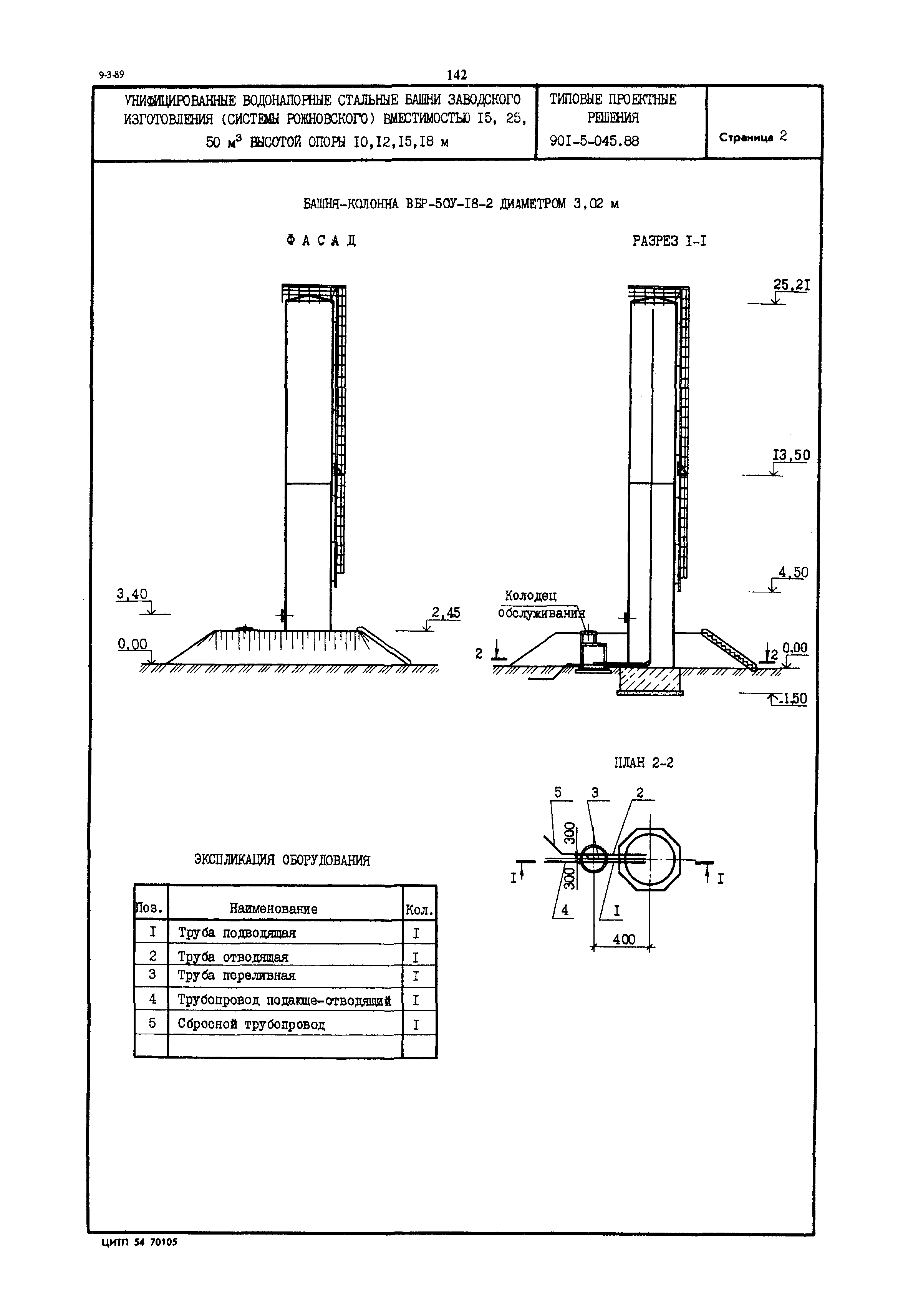
Унифицированные водонапорные стальные башни заводского изготовления (системы Рожновского) вместимостью 15, 25, 50 куб. м высотой опоры 10, 12, 15, 18 м| Обозначение: | Типовые проектные решения 901-5-045.88 | | Обозначение англ: | 901-5-045.88 | | Статус: | справочные материалы, мп, тпр | | Название рус.: | Унифицированные водонапорные стальные башни заводского изготовления (системы Рожновского) вместимостью 15, 25, 50 куб. м высотой опоры 10, 12, 15, 18 м | | Дата добавления в базу: | 01.09.2013 | | Дата актуализации: | 01.01.2021 | | Дата введения: | 01.03.1989 | | Область применения: | Башни предназначены для регулирования неравномерности водопотребления, хранения ограниченных резервного и противопожарного запасов в системах сельскохозяйственного водоснабжения и водоснабжения небольших предприятий. |
   
|