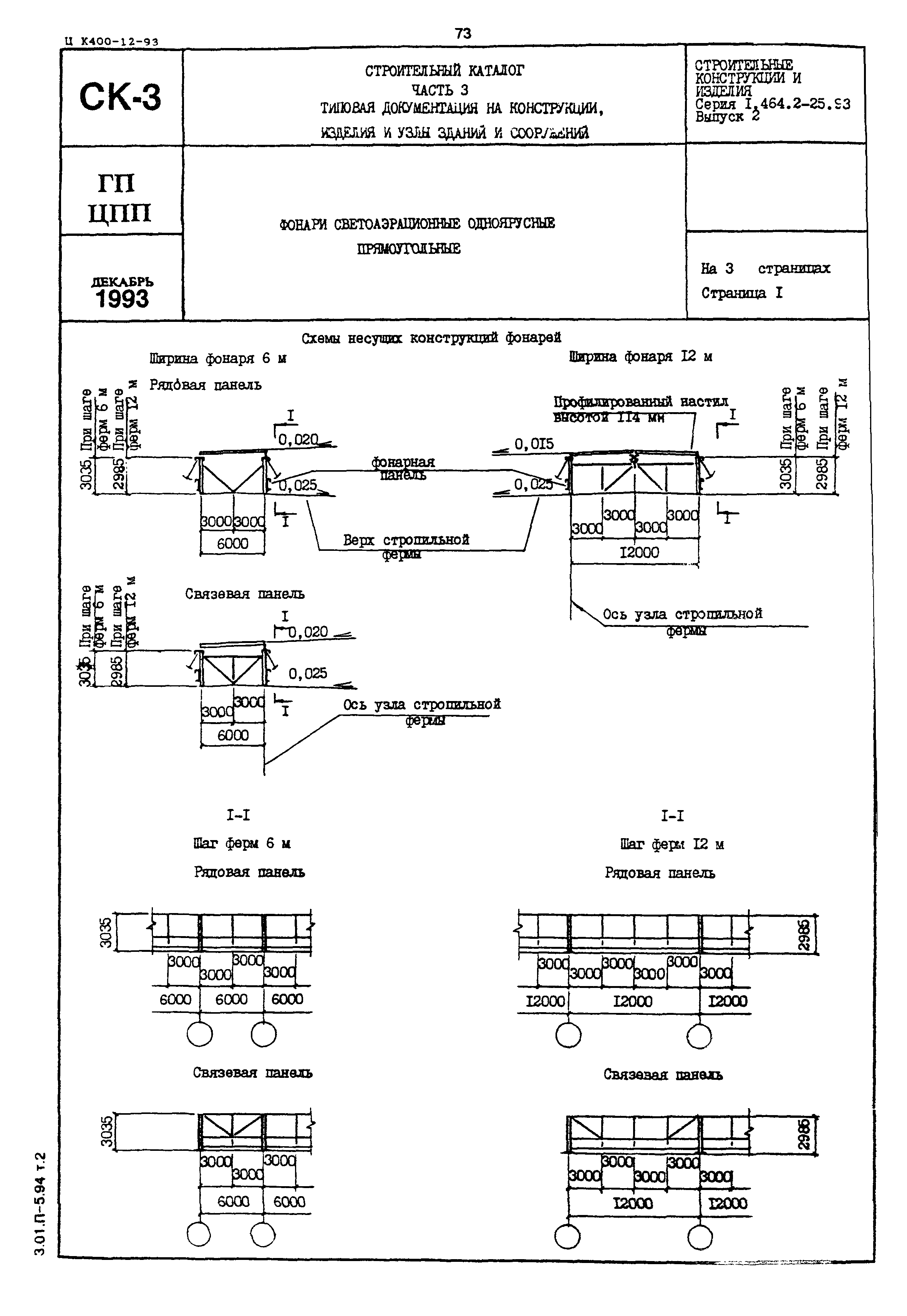
Скачать Серия 1.464.2-25.93 Выпуск 2. Стальные конструкции фонарей с применением в покрытии стального профилированного настила высотой 114 мм. Чертежи КМДата актуализации: 01.01.2021
|
| Обозначение: | Серия 1.464.2-25.93 |
| Обозначение англ: | Series 1.464.2-25.93 |
| Статус: | действует |
| Название рус.: | Выпуск 2. Стальные конструкции фонарей с применением в покрытии стального профилированного настила высотой 114 мм. Чертежи КМ |
| Дата добавления в базу: | 01.09.2013 |
| Дата актуализации: | 01.01.2021 |
| Дата введения: | 01.11.1993 |
| Оглавление: | 1.464.2-25.93.2-ТТ Технические требования 1.464.2-25.93.2-1КМ Схемы расположения конструкций фонаря. 1.464.2-25.93.2-2КМ Фонарная панель (фп-) 1.464.2-25.93.2-3КМ Фонарная ферма (фф-) 1.464.2-25.93.2-4КМ Панель торца 1.464.2-25.93.2-5КМ Узел 2 ...8 фонарной панели 1.464.2-25.93.2-6КМ Узел 9... 15 фонарной фермы. Узел 16, 17 фонарного раскоса 1.464.2-25.93.2-7КМ Узел 18...25 панелей торца 1.464.2-25.93.2-8КМ Узел 26 ...32 крепления прогонов и горизонтальной связи 1.464.2-25.93.2-9КМ Монтажный узел 33...38. Прогоны П4,П5 1.464.2-25.93.2-10КМ Спецификация стали |


