Скачать Серия 3.407.1-175 Унифицированные конструкции промежуточных одностоечных железобетонных опор ВЛ 35-220 кВДата актуализации: 01.01.2021 Серия 3.407.1-175
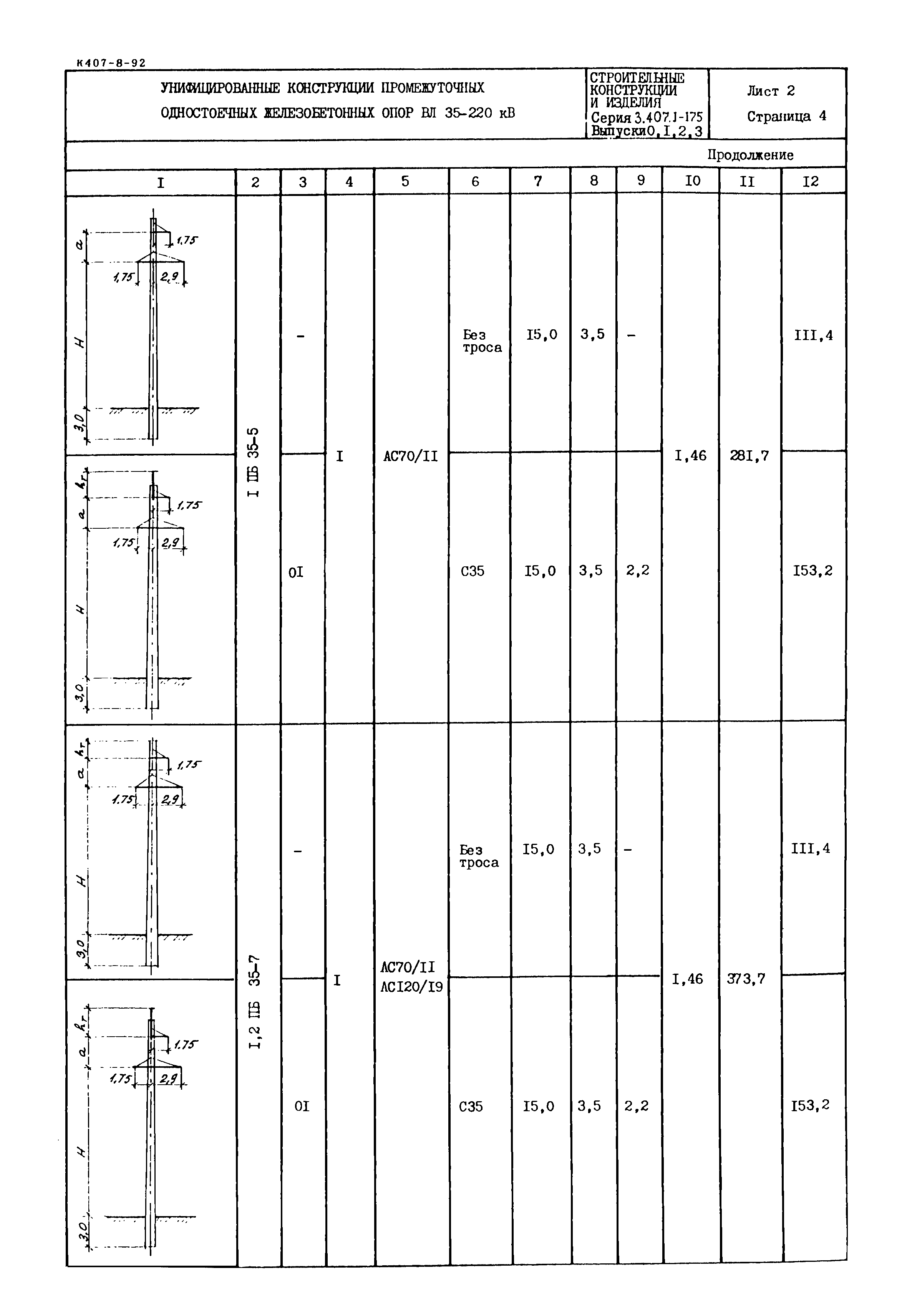
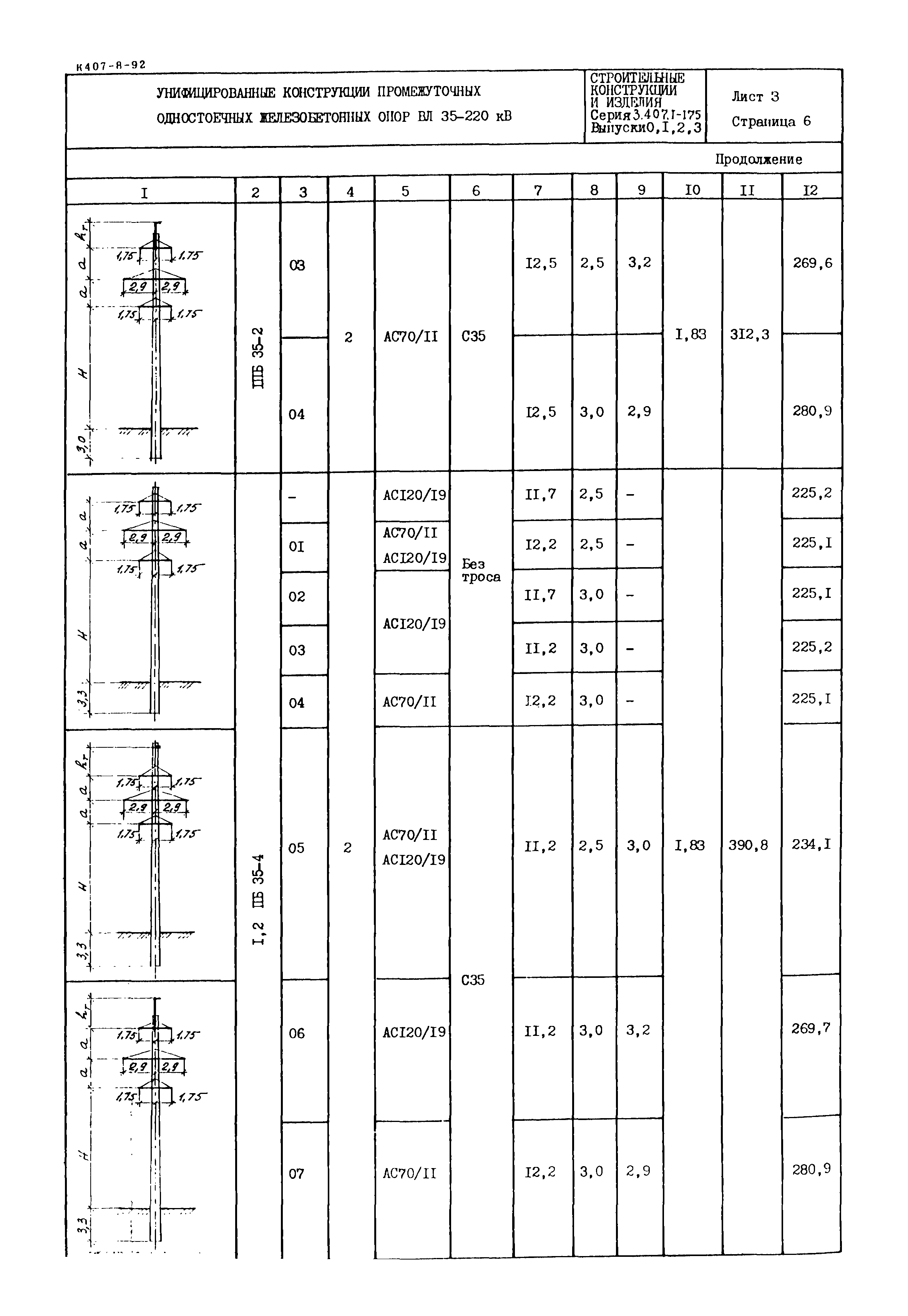
Унифицированные конструкции промежуточных одностоечных железобетонных опор ВЛ 35-220 кВ| Обозначение: | Серия 3.407.1-175 | | Обозначение англ: | Series 3.407.1-175 | | Статус: | действует | | Название рус.: | Унифицированные конструкции промежуточных одностоечных железобетонных опор ВЛ 35-220 кВ | | Дата добавления в базу: | 01.09.2013 | | Дата актуализации: | 01.01.2021 | | Дата введения: | 01.04.1992 |
          
|