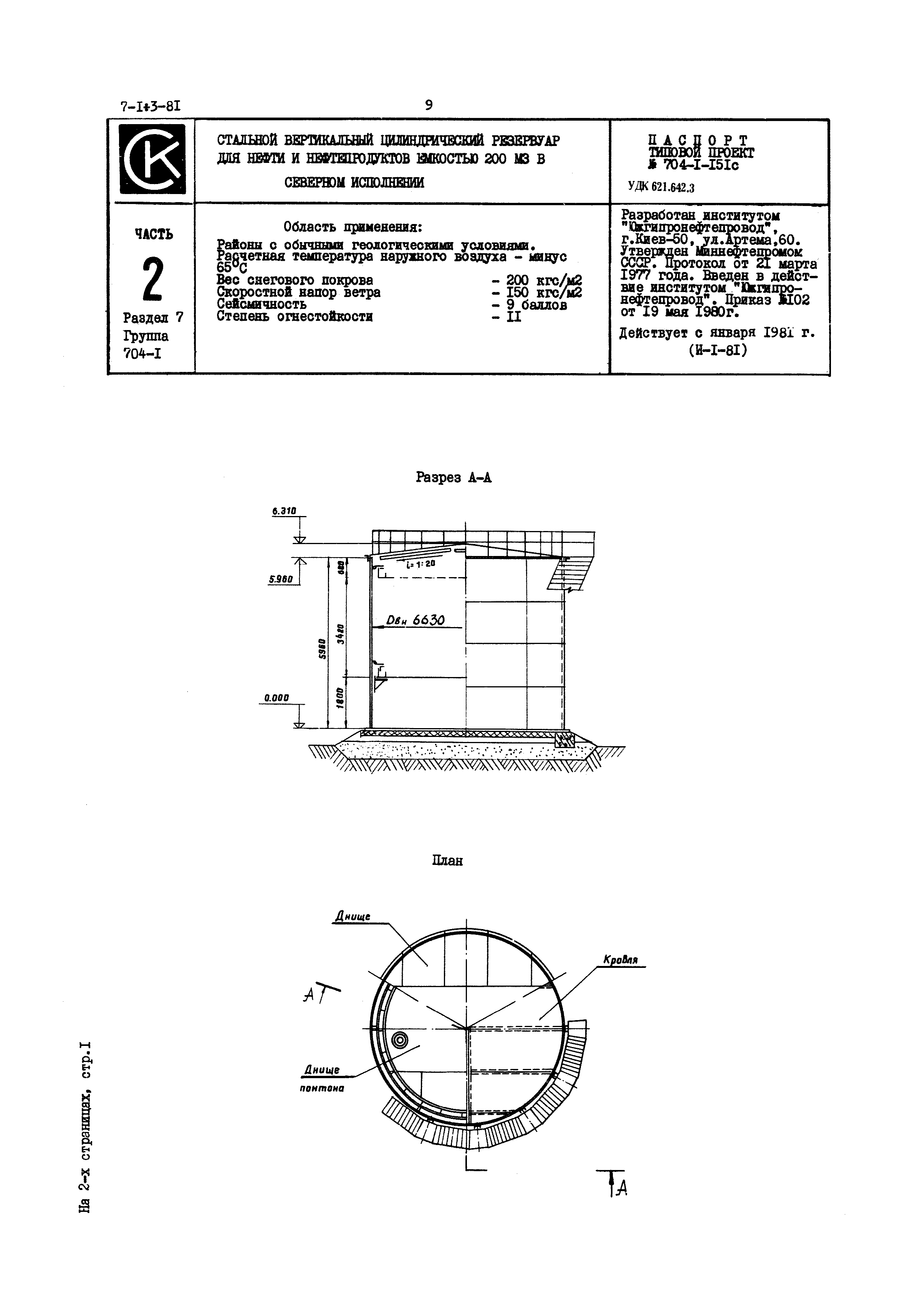
Скачать Серия 3.501-56 Унифицированные сборные пролетные строения из предварительно напряженного железобетона длинами 9,3; 13,5; 16,5 и 18,7 м под тяжелые нагрузки от специального подвижного состава металлургических заводов, для мостов и путепроводов на железных дорогах колеи 1524 мм промышленных предприятий. Рабочие чертежиДата актуализации: 01.01.2021
|
| Обозначение: | Серия 3.501-56 |
| Обозначение англ: | Series 3.501-56 |
| Статус: | действует |
| Название рус.: | Унифицированные сборные пролетные строения из предварительно напряженного железобетона длинами 9,3; 13,5; 16,5 и 18,7 м под тяжелые нагрузки от специального подвижного состава металлургических заводов, для мостов и путепроводов на железных дорогах колеи 1524 мм промышленных предприятий. Рабочие чертежи |
| Дата добавления в базу: | 01.09.2013 |
| Дата актуализации: | 01.01.2019 |
| Дата введения: | 17.06.1970 |
| Оглавление: | Общая часть Пояснительная записка Сводная таблица основных объемов работ Расчетные листы Конструктивные чертежи А. Пролетные строения под нагрузку слитковозными тележками и чугуновозами Детали изоляции Детали изоляции (продолжение) Детали водоотводной трубки и трубки для пропуска строп Листы перекрытия швов и детали перил Закладные детали Детали анкера Постоянные смотровые приспособления Расположение строповочных петель для снятия балки со стенда Схемы строповки балок пролетных строений Б. Пролетные строения под нагрузку слитковозными тележками Общий вид железобетонной тротуарной консоли Опалубочный и арматурный чертежи тротуарной консоли Опалубочный чертеж тротуарных плит Арматурный чертеж тротуарных плит Съемные наружные смотровые приспособления В. Пролетные строения под нагрузку чугуновозами Общий вид и опалубочный чертеж железобетонной тротуарной консоли Арматурный чертеж тротуарной консоли Опалубочный чертеж тротуарных плит Арматурный чертеж тротуарных плит Монтажные схемы специальных ограждений Общий вид и детали специального ограждения Детали конструкций специального ограждения Съемные наружные смотровые приспособления Общий вид площадки - убежища Железобетонная консоль для площадки - убежища Конструкция тротуарных плит для площадки - убежища Конструкции пролетных строений а/под нагрузку слитковозными тележками ln=9,3 м Общий вид Опалубочный чертеж балки Напрягаемая арматура балки Ненапрягаемая арматура балки Ненапрягаемая арматура балки (продолжение) Торцевая полудиафрагма Торцевая полудиафрагма. Монтажный стык Ненапрягаемая арматура балки. Спецификация ln=13,5 м Общий вид Опалубочный чертеж балки Напрягаемая арматура балки Ненапрягаемая арматура балки Ненапрягаемая арматура балки (продолжение) Торцевая полудиафрагма Торцевая полудиафрагма. Монтажный стык Ненапрягаемая арматура балки. Спецификация ln=16,5 м Общий вид Опалубочный чертеж балки Напрягаемая арматура балки Напрягаемая арматура балки (продолжение) Ненапрягаемая арматура балки Ненапрягаемая арматура балки (продолжение) Торцевая полудиафрагма Торцевая полудиафрагма. Монтажный стык Ненапрягаемая арматура балки. Спецификация ln=18,7 м Общий вид Опалубочный чертеж балки Напрягаемая арматура балки Напрягаемая арматура балки (продолжение) Детали оттяжек Ненапрягаемая арматура балки Ненапрягаемая арматура балки (продолжение) Торцевая полудиафрагма Торцевая полудиафрагма. Монтажный стык Ненапрягаемая арматура балки. Спецификация Конструкции пролетных строений б/под нагрузку чугуновозами ln=9,3 м Общий вид Опалубочный чертеж балки Напрягаемая арматура балки Ненапрягаемая арматура балки Ненапрягаемая арматура балки (продолжение) Торцевая полудиафрагма Торцевая полудиафрагма. Монтажный стык Ненапрягаемая арматура балки. Спецификация ln=13,5 м Общий вид Опалубочный чертеж балки Напрягаемая арматура балки Ненапрягаемая арматура балки Ненапрягаемая арматура балки (продолжение) Торцевая полудиафрагма Торцевая полудиафрагма. Монтажный стык Ненапрягаемая арматура балки. Спецификация ln=16,5 м Общий вид Опалубочный чертеж балки Напрягаемая арматура балки Напрягаемая арматура балки (продолжение) Ненапрягаемая арматура балки Ненапрягаемая арматура балки (продолжение) Торцевая полудиафрагма Торцевая полудиафрагма. Монтажный стык Ненапрягаемая арматура балки. Спецификация ln=18,7 м Общий вид Опалубочный чертеж балки Напрягаемая арматура балки Ненапрягаемая арматура балки Ненапрягаемая арматура балки (продолжение) Торцевая полудиафрагма Торцевая полудиафрагма. Монтажный стык Ненапрягаемая арматура балки. Спецификация |
| Список изменений: |
|


Текстовое изменение Поправка