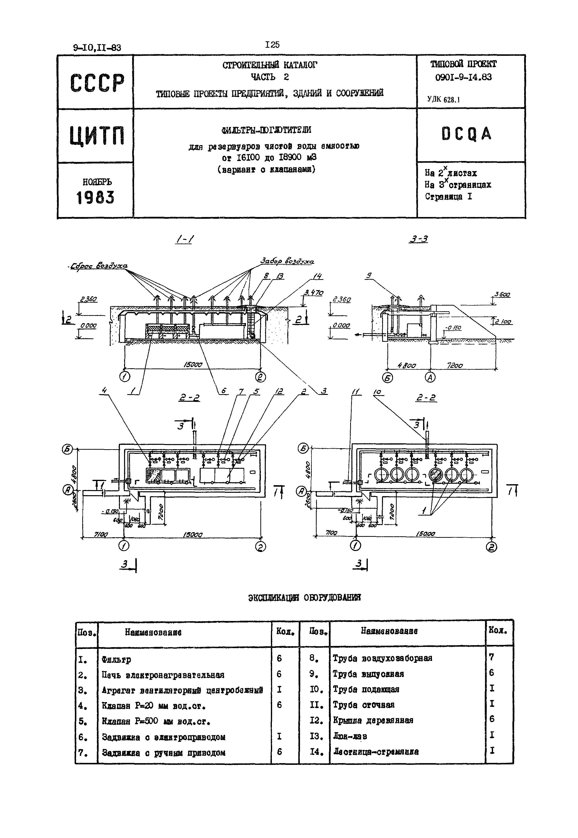
Скачать Типовой проект 0901-9-14.83 Фильтры-поглотители для резервуаров чистой воды емкостью от 16100 куб. м до 18900 куб. м (вариант с клапанами)Дата актуализации: 01.01.2021 Типовой проект 0901-9-14.83
Фильтры-поглотители для резервуаров чистой воды емкостью от 16100 куб. м до 18900 куб. м (вариант с клапанами)| Обозначение: | Типовой проект 0901-9-14.83 | | Обозначение англ: | 0901-9-14.83 | | Статус: | не действует | | Название рус.: | Фильтры-поглотители для резервуаров чистой воды емкостью от 16100 куб. м до 18900 куб. м (вариант с клапанами) | | Дата добавления в базу: | 01.09.2013 | | Дата актуализации: | 01.01.2021 |
 
|