Скачать Типовой проект 407-3-265м Распределительный пункт 6 - 10 кВ с кабельными линиями, с двумя трансформаторами мощностью до 630 кВА каждый, для электроснабжения объектов железнодорожного транспорта на трассе БАМ. Тип РПК-2Т БАМДата актуализации: 01.01.2021 Типовой проект 407-3-265м
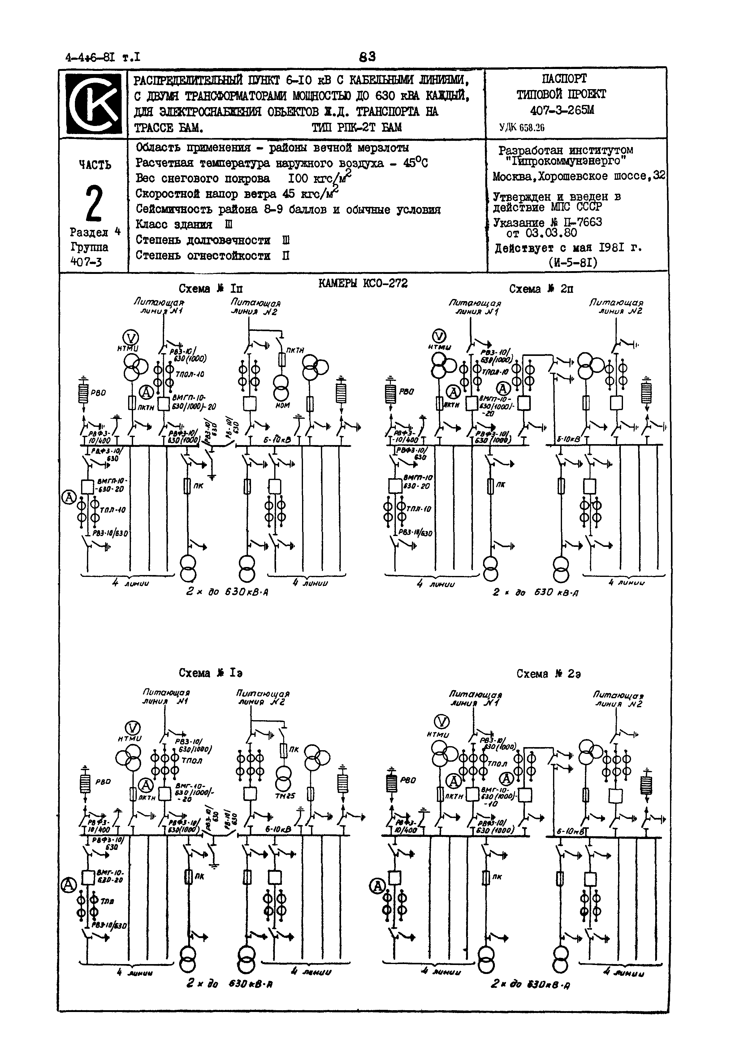
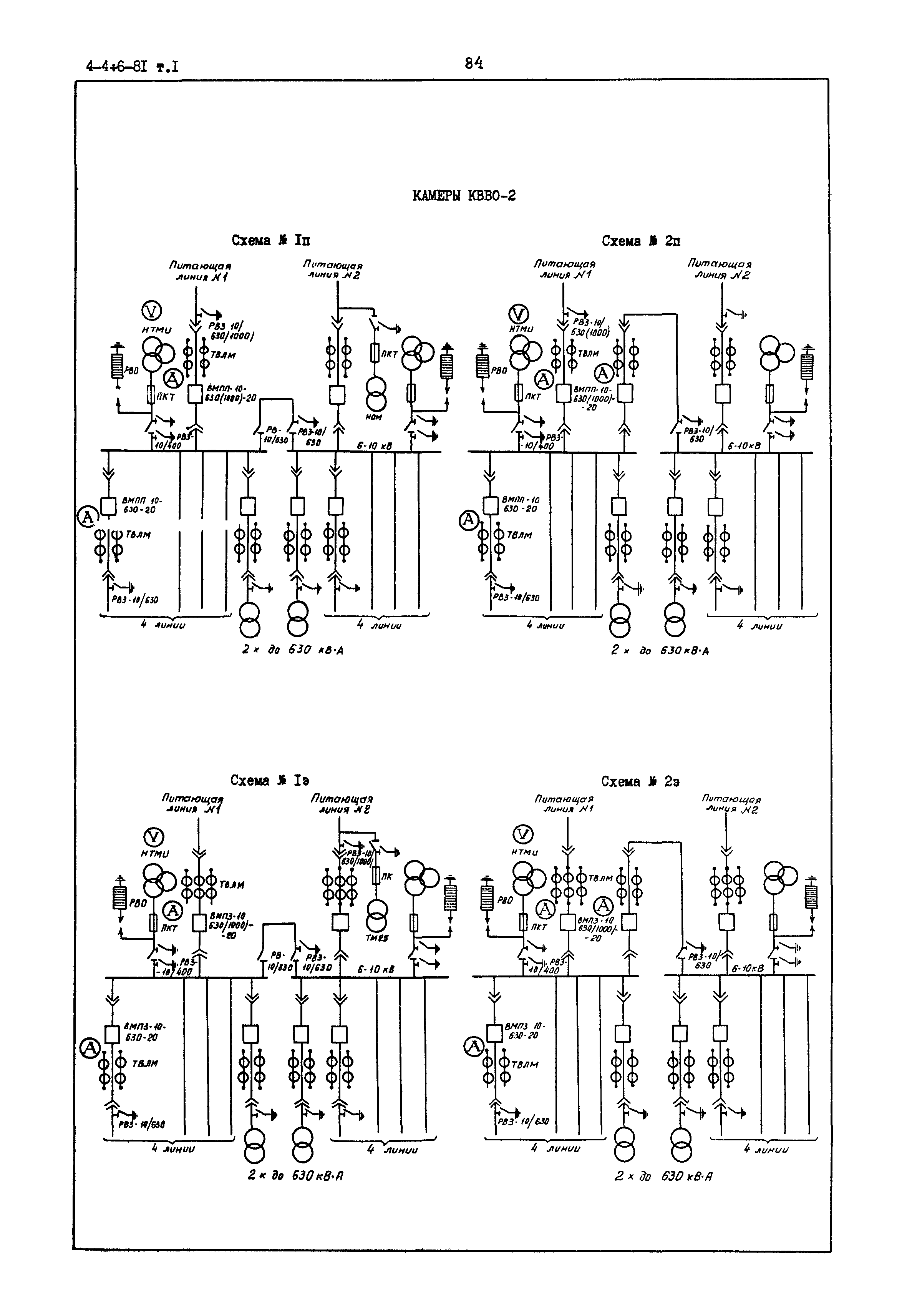
Распределительный пункт 6 - 10 кВ с кабельными линиями, с двумя трансформаторами мощностью до 630 кВА каждый, для электроснабжения объектов железнодорожного транспорта на трассе БАМ. Тип РПК-2Т БАМ| Обозначение: | Типовой проект 407-3-265м | | Обозначение англ: | 407-3-265м | | Статус: | действует | | Название рус.: | Распределительный пункт 6 - 10 кВ с кабельными линиями, с двумя трансформаторами мощностью до 630 кВА каждый, для электроснабжения объектов железнодорожного транспорта на трассе БАМ. Тип РПК-2Т БАМ | | Дата добавления в базу: | 01.09.2013 | | Дата актуализации: | 01.01.2021 | | Дата введения: | 01.05.1981 | | Список изменений: | |
   
|