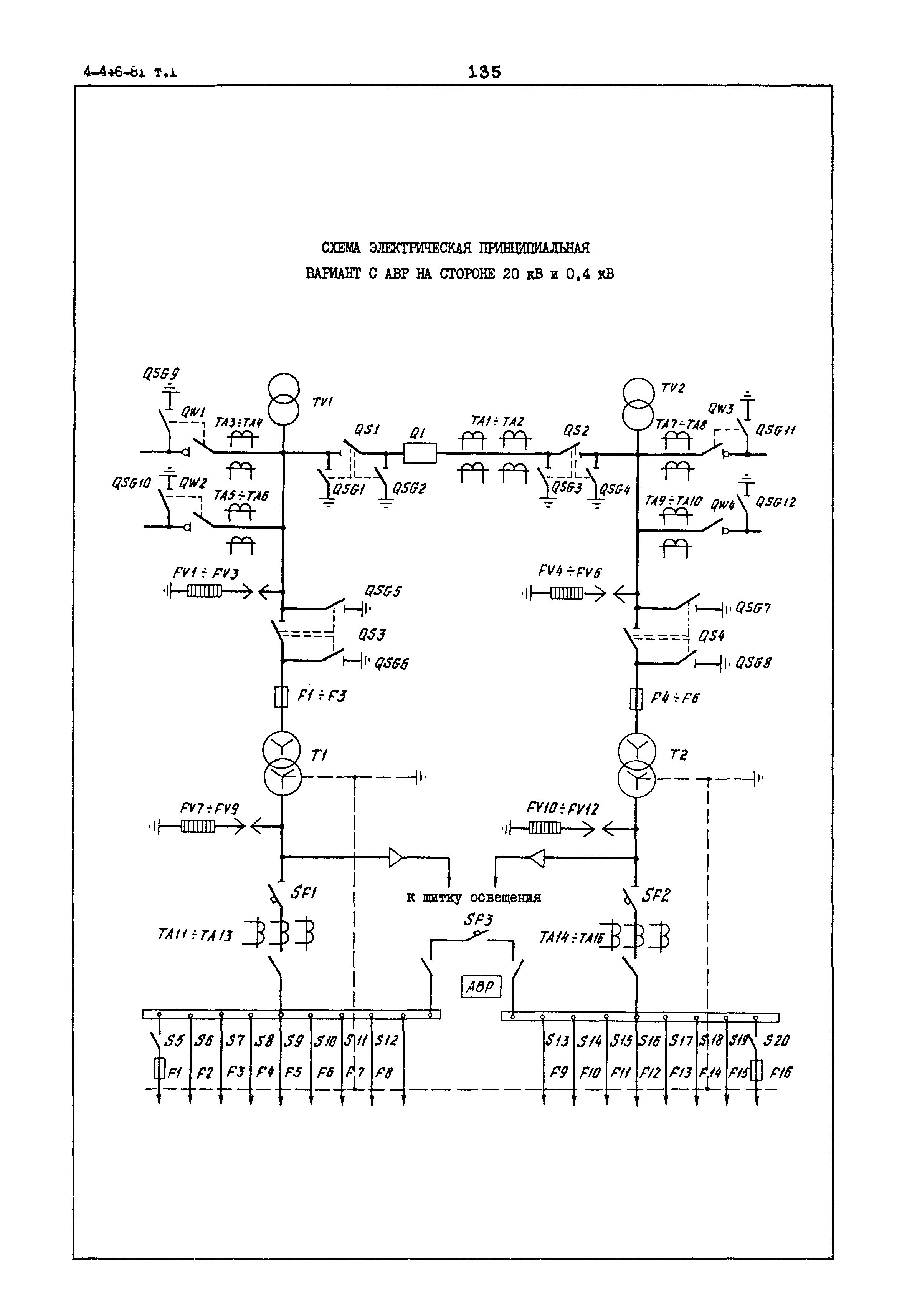
Скачать Типовой проект 407-3-267 Трансформаторная подстанция закрытого типа напряжением 20/0,4 кВ с двумя трансформаторами мощностью до 400 кВА с воздушными вводамиДата актуализации: 01.01.2021 Типовой проект 407-3-267
Трансформаторная подстанция закрытого типа напряжением 20/0,4 кВ с двумя трансформаторами мощностью до 400 кВА с воздушными вводами| Обозначение: | Типовой проект 407-3-267 | | Обозначение англ: | 407-3-267 | | Статус: | не действует | | Название рус.: | Трансформаторная подстанция закрытого типа напряжением 20/0,4 кВ с двумя трансформаторами мощностью до 400 кВА с воздушными вводами | | Дата добавления в базу: | 01.09.2013 | | Дата актуализации: | 01.01.2021 | | Дата введения: | 01.04.1981 | | Дата окончания срока действия: | 01.02.1987 |
 
|