Скачать Типовой проект 407-3-263м Трансформаторная подстанция с воздушными вводами 6 - 10 и 0,4 кВ для объектов железнодорожного транспорта трассы БАМ (тип В-42-400 БАМ)Дата актуализации: 01.01.2021 Типовой проект 407-3-263м
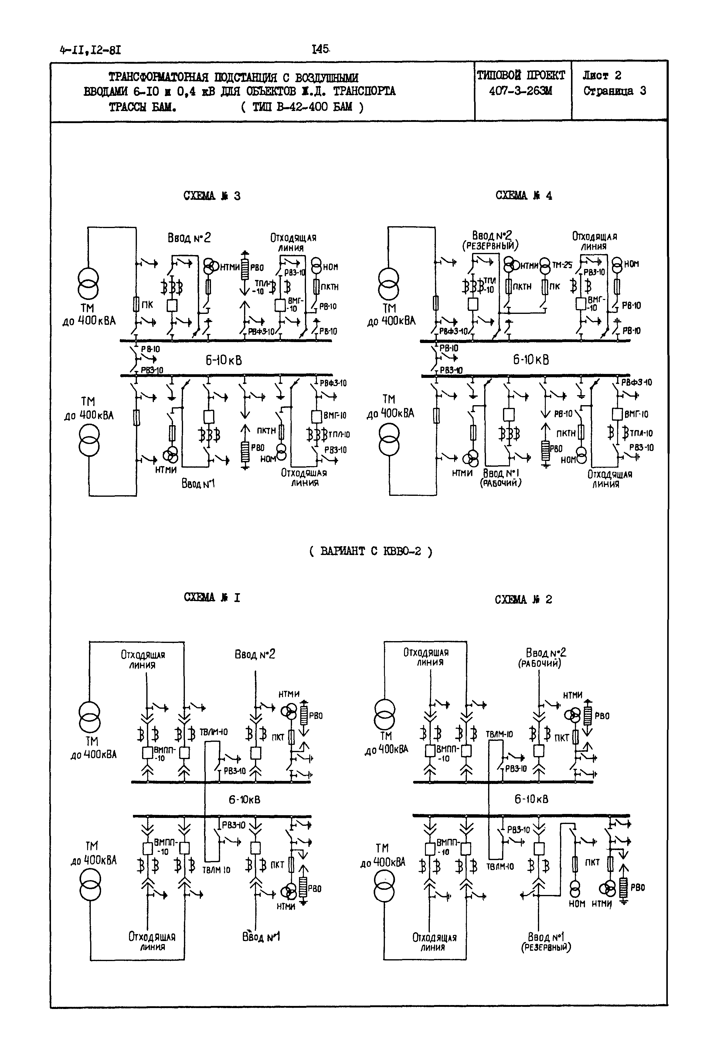
Трансформаторная подстанция с воздушными вводами 6 - 10 и 0,4 кВ для объектов железнодорожного транспорта трассы БАМ (тип В-42-400 БАМ)| Обозначение: | Типовой проект 407-3-263м | | Обозначение англ: | 407-3-263м | | Статус: | действует | | Название рус.: | Трансформаторная подстанция с воздушными вводами 6 - 10 и 0,4 кВ для объектов железнодорожного транспорта трассы БАМ (тип В-42-400 БАМ) | | Дата добавления в базу: | 01.09.2013 | | Дата актуализации: | 01.01.2021 | | Дата введения: | 14.05.1980 | | Список изменений: | |
     
Текстовое изменение № 2 от 01.10.1988
  
|