Скачать Типовой проект 407-3-490с.13.87 Трансформаторная подстанция с четырьмя кабельными вводами 6 - 10 кВ на два трансформатора мощностью до 2х630 кВА, тип К-42-630 М4, со стенами из блоков пильного известняка (с выкаткой трансформаторов в торец), для строительства в Молдавской ССРДата актуализации: 01.01.2021 Типовой проект 407-3-490с.13.87
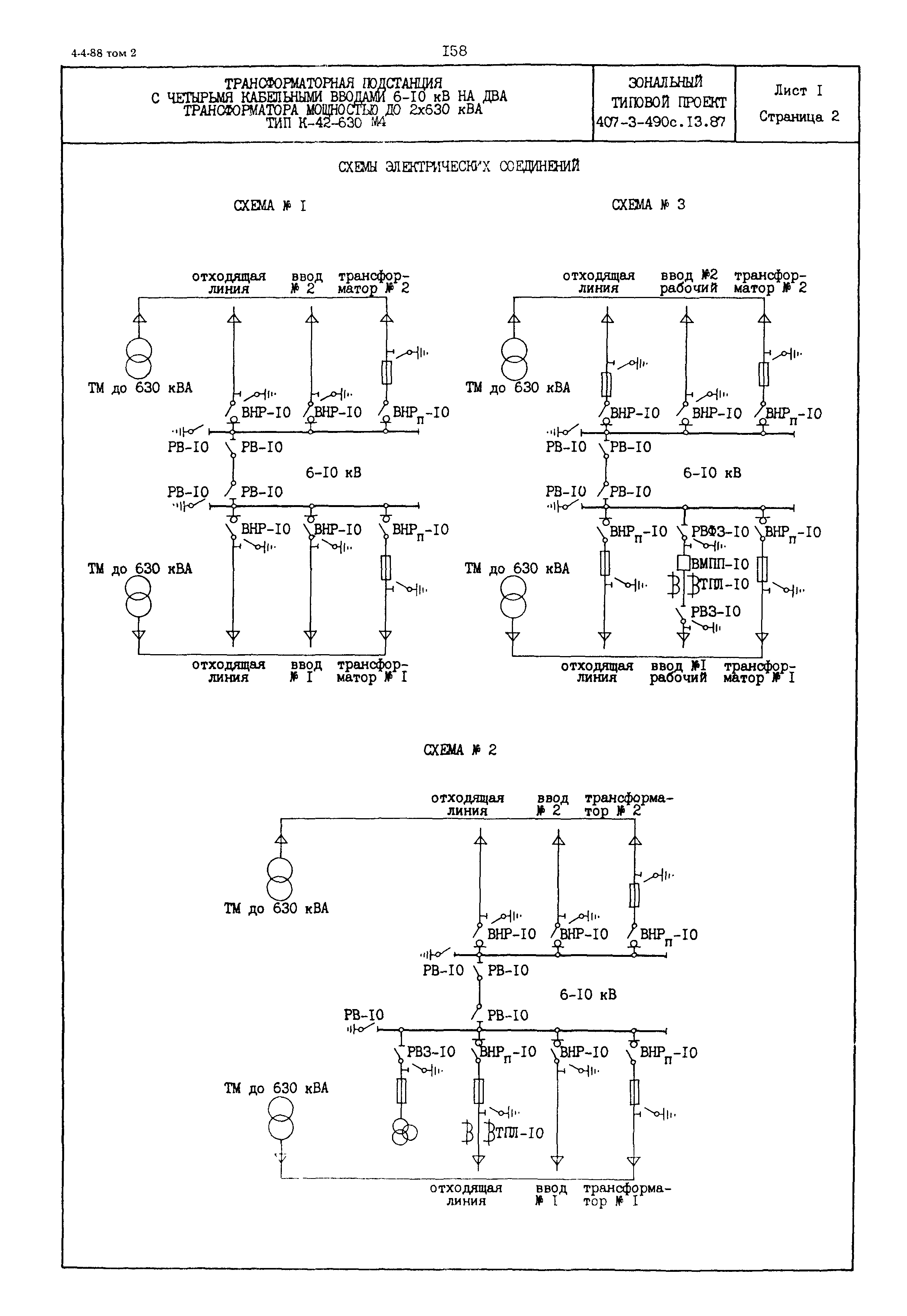
Трансформаторная подстанция с четырьмя кабельными вводами 6 - 10 кВ на два трансформатора мощностью до 2х630 кВА, тип К-42-630 М4, со стенами из блоков пильного известняка (с выкаткой трансформаторов в торец), для строительства в Молдавской ССР| Обозначение: | Типовой проект 407-3-490с.13.87 | | Обозначение англ: | 407-3-490с.13.87 | | Статус: | действует | | Название рус.: | Трансформаторная подстанция с четырьмя кабельными вводами 6 - 10 кВ на два трансформатора мощностью до 2х630 кВА, тип К-42-630 М4, со стенами из блоков пильного известняка (с выкаткой трансформаторов в торец), для строительства в Молдавской ССР | | Дата добавления в базу: | 01.09.2013 | | Дата актуализации: | 01.01.2021 | | Дата введения: | 14.12.1987 | | Список изменений: | |
   
Текстовое изменение № 3 от 01.01.1988
|