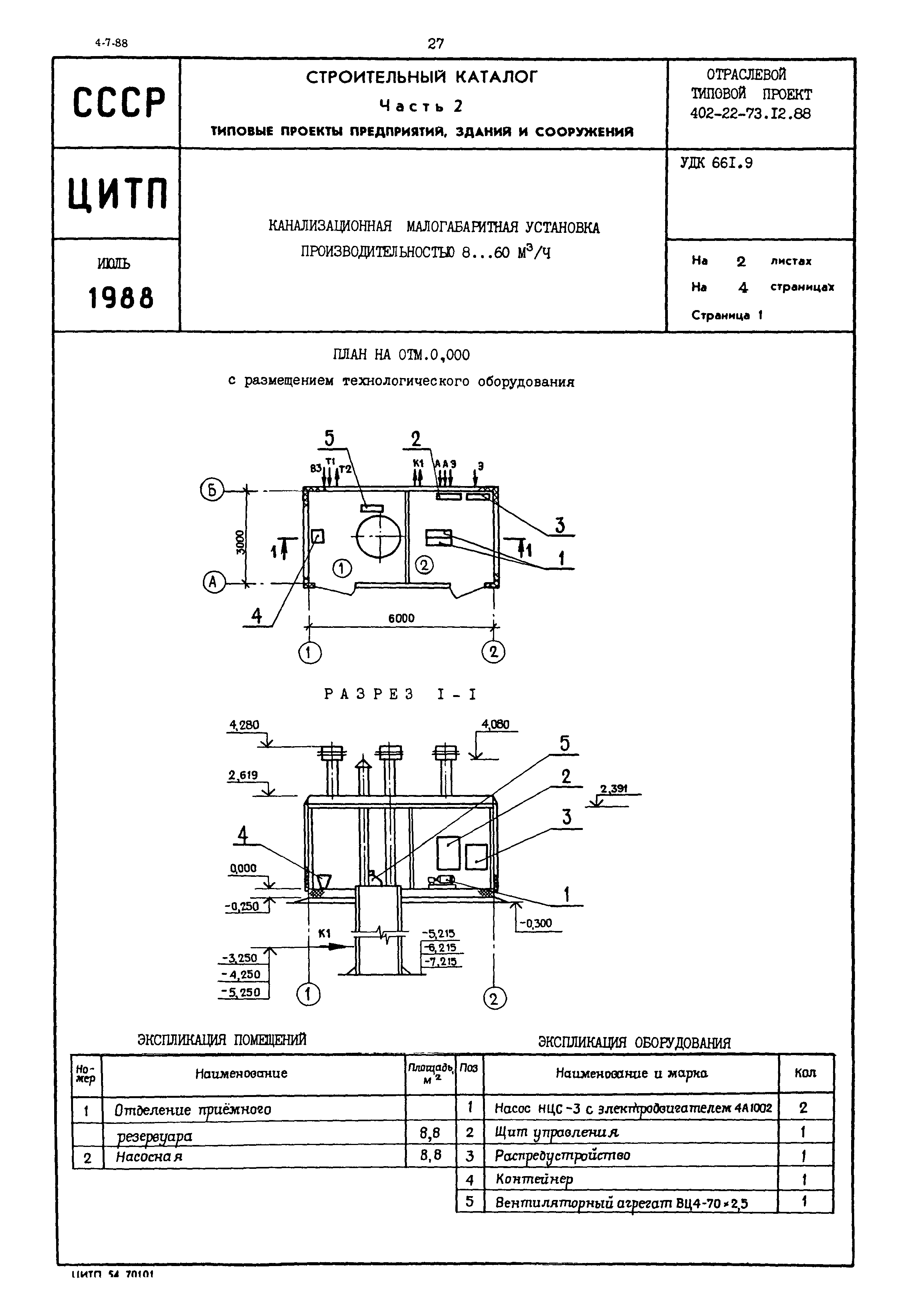
Скачать Типовой проект 402-22-73.12.88 Канализационная малогабаритная установка производительностью 8…60 куб. м/чДата актуализации: 01.01.2021 Типовой проект 402-22-73.12.88
Канализационная малогабаритная установка производительностью 8…60 куб. м/ч| Обозначение: | Типовой проект 402-22-73.12.88 | | Обозначение англ: | 402-22-73.12.88 | | Статус: | не определен законодательством | | Название рус.: | Канализационная малогабаритная установка производительностью 8…60 куб. м/ч | | Дата добавления в базу: | 01.09.2013 | | Дата актуализации: | 01.01.2021 | | Дата введения: | 01.03.1988 | | Дата окончания срока действия: | 30.06.2003 |
  
|