Скачать Типовой проект 903-1-225.86 Котельная с тремя котлами КВ-ТС(В)-10 и тремя котлами КЕ-10-14С. Закрытая система теплоснабжения. Топливо - каменные и бурые углиДата актуализации: 01.01.2021 Типовой проект 903-1-225.86
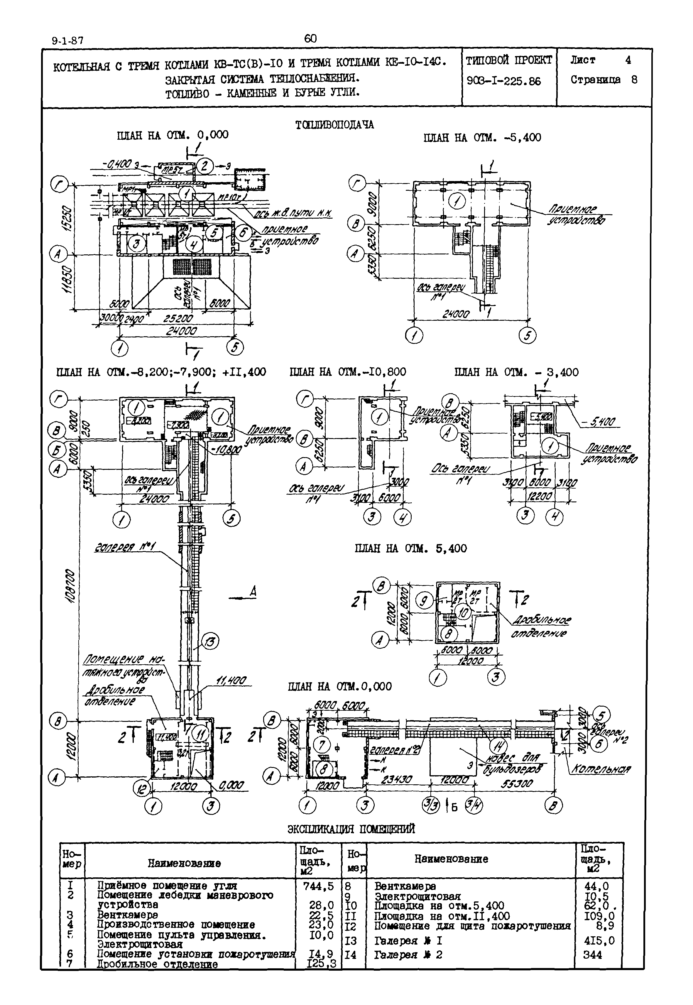
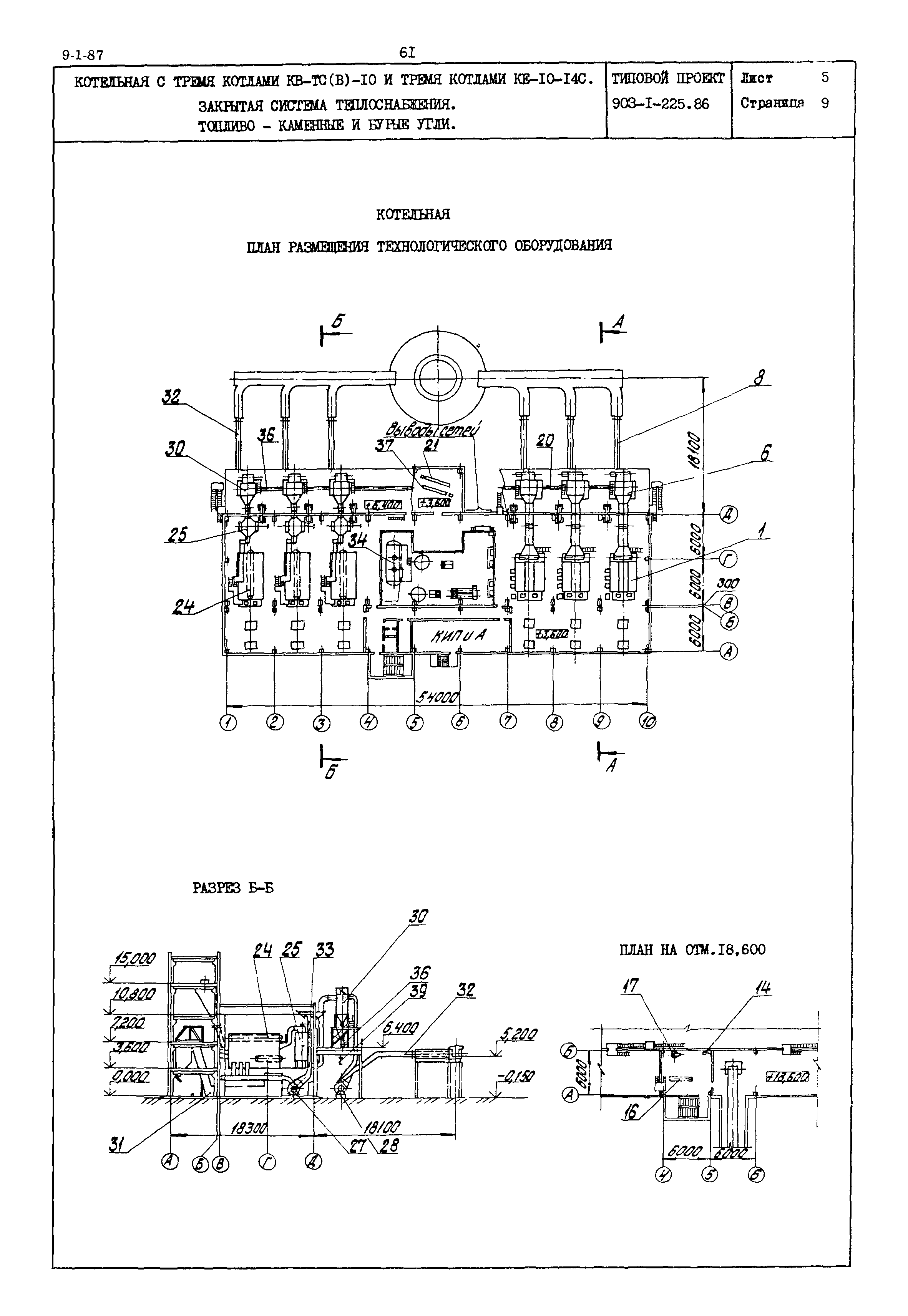
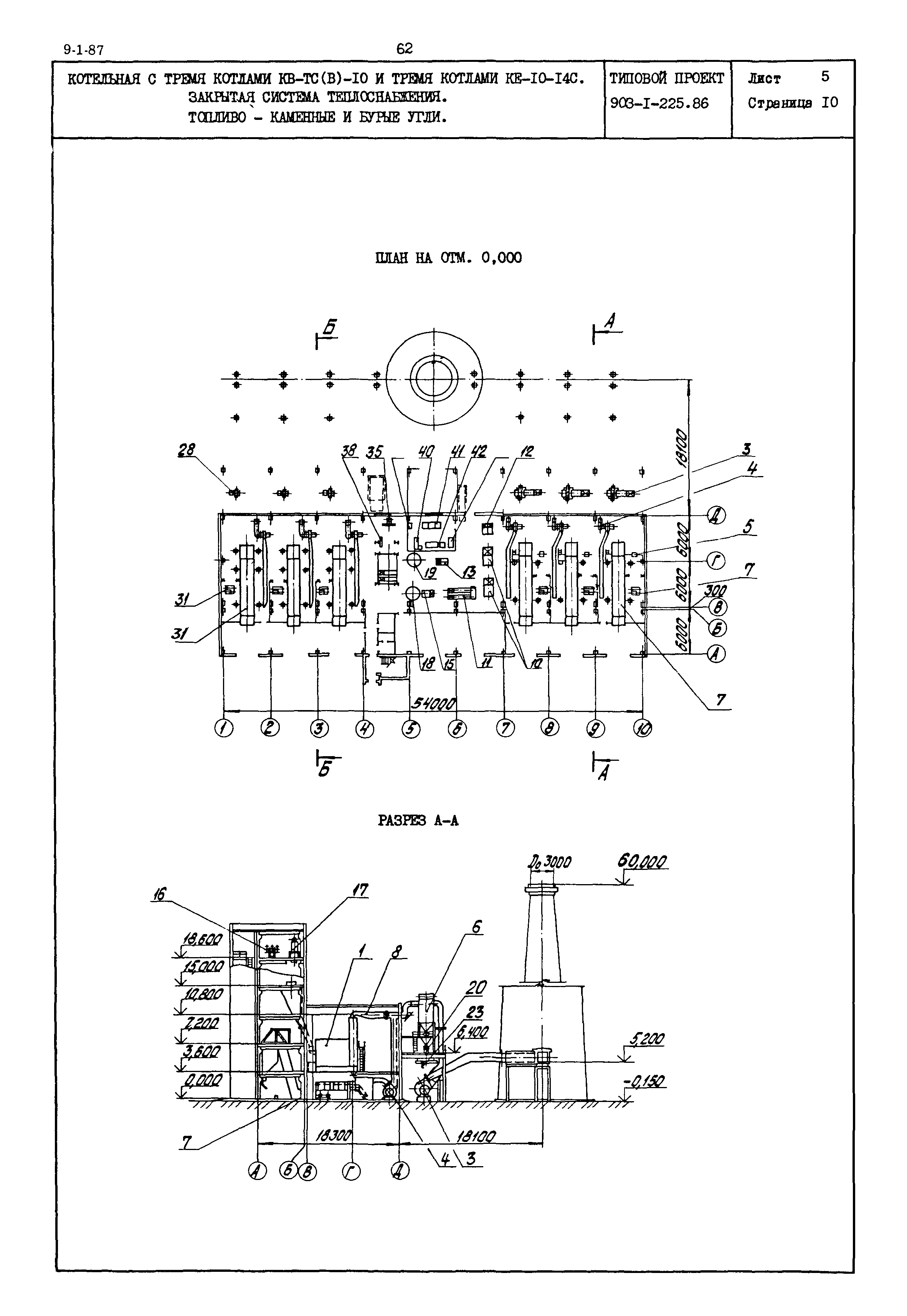
Котельная с тремя котлами КВ-ТС(В)-10 и тремя котлами КЕ-10-14С. Закрытая система теплоснабжения. Топливо - каменные и бурые угли| Обозначение: | Типовой проект 903-1-225.86 | | Обозначение англ: | 903-1-225.86 | | Статус: | действует | | Название рус.: | Котельная с тремя котлами КВ-ТС(В)-10 и тремя котлами КЕ-10-14С. Закрытая система теплоснабжения. Топливо - каменные и бурые угли | | Дата добавления в базу: | 01.09.2013 | | Дата актуализации: | 01.01.2021 | | Дата введения: | 20.05.1986 |
                          
|