Скачать Типовой проект 905-1-34.87 Установка 4-х подземных резервуаров с форсуночным испарителемДата актуализации: 01.01.2021
|
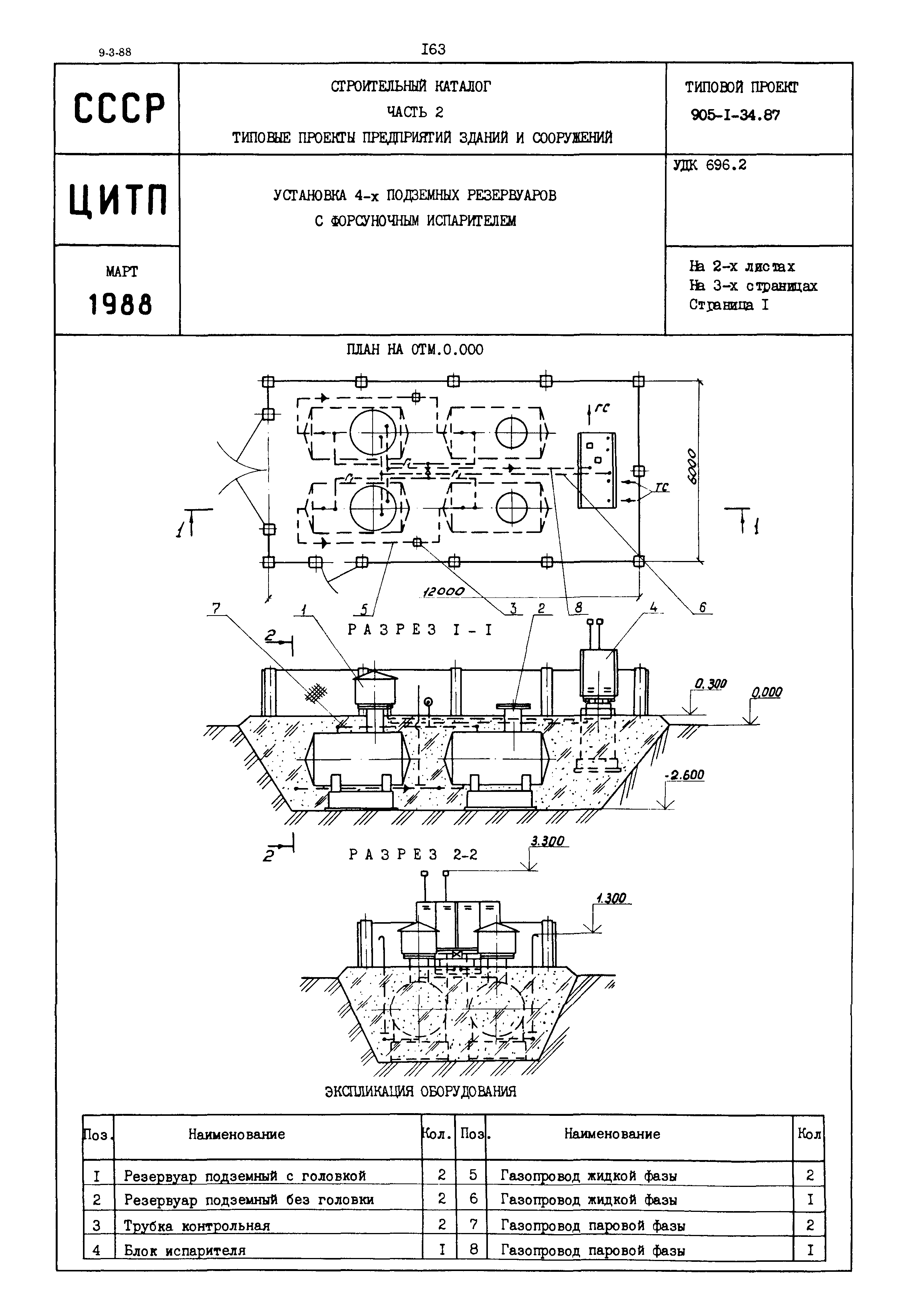
| Обозначение: | Типовой проект 905-1-34.87 |
| Обозначение англ: | 905-1-34.87 |
| Статус: | не действует |
| Название рус.: | Установка 4-х подземных резервуаров с форсуночным испарителем |
| Дата добавления в базу: | 01.09.2013 |
| Дата актуализации: | 01.01.2021 |
| Дата введения: | 20.10.1987 |
| Дата окончания срока действия: | 01.01.1992 |


