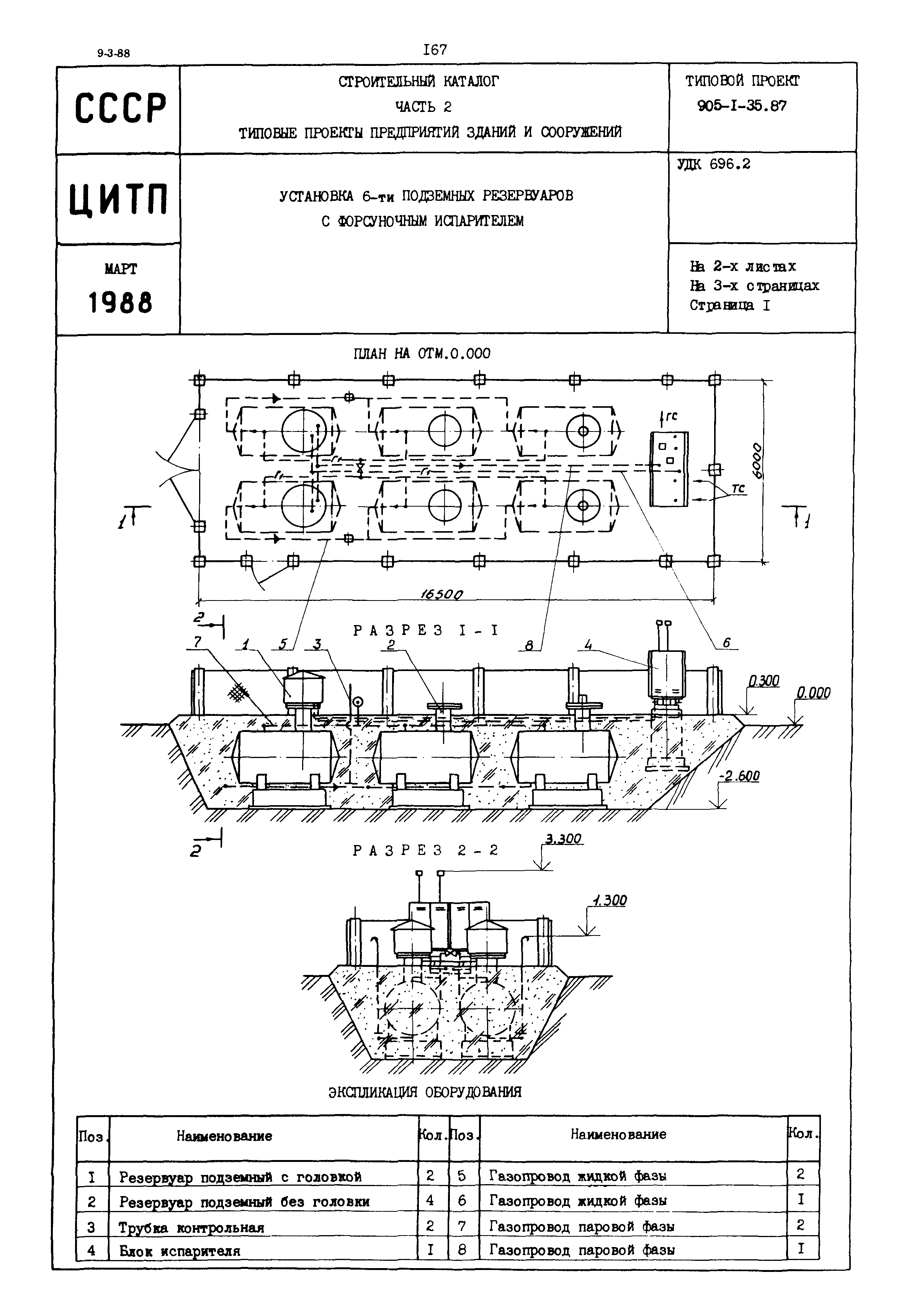
Скачать Типовой проект 905-1-35.87 Установка 6-ти подземных резервуаров с форсуночным испарителемДата актуализации: 01.01.2021 Типовой проект 905-1-35.87
Установка 6-ти подземных резервуаров с форсуночным испарителем| Обозначение: | Типовой проект 905-1-35.87 | | Обозначение англ: | 905-1-35.87 | | Статус: | не действует | | Название рус.: | Установка 6-ти подземных резервуаров с форсуночным испарителем | | Дата добавления в базу: | 01.09.2013 | | Дата актуализации: | 01.01.2021 | | Дата введения: | 20.10.1987 | | Дата окончания срока действия: | 01.01.1992 |
 
|