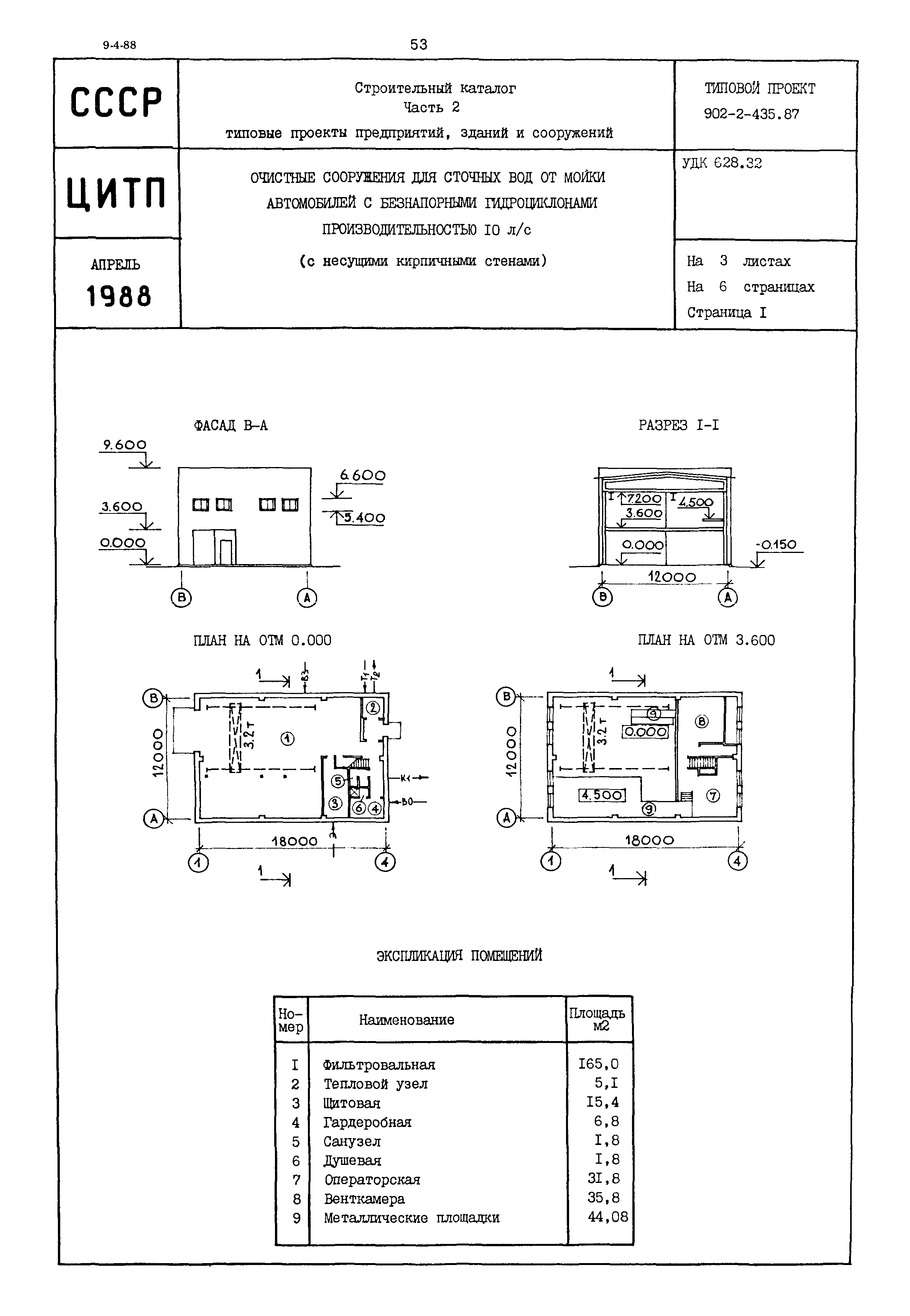
Скачать Типовой проект 902-2-435.87 Очистные сооружения для сточных вод от мойки автомобилей с безнапорными гидроциклонами производительностью 10 л/с (с несущими кирпичными стенами)Дата актуализации: 01.01.2021 Типовой проект 902-2-435.87
Очистные сооружения для сточных вод от мойки автомобилей с безнапорными гидроциклонами производительностью 10 л/с (с несущими кирпичными стенами)| Обозначение: | Типовой проект 902-2-435.87 | | Обозначение англ: | 902-2-435.87 | | Статус: | заменен | | Название рус.: | Очистные сооружения для сточных вод от мойки автомобилей с безнапорными гидроциклонами производительностью 10 л/с (с несущими кирпичными стенами) | | Дата добавления в базу: | 01.09.2013 | | Дата актуализации: | 01.01.2021 | | Дата введения: | 01.10.1987 | | Дата окончания срока действия: | 01.03.1993 |
    
|