Скачать Типовой проект 903-4-105.87 Центральный тепловой пункт для городских микрорайонов с тепловой нагрузкой 20 МВт. Двухступенчатая схема горячего водоснабжения и независимое присоединение систем отопления р = 0,3 - 0,5 (каркасно-панельный вариант)Дата актуализации: 01.01.2021 Типовой проект 903-4-105.87
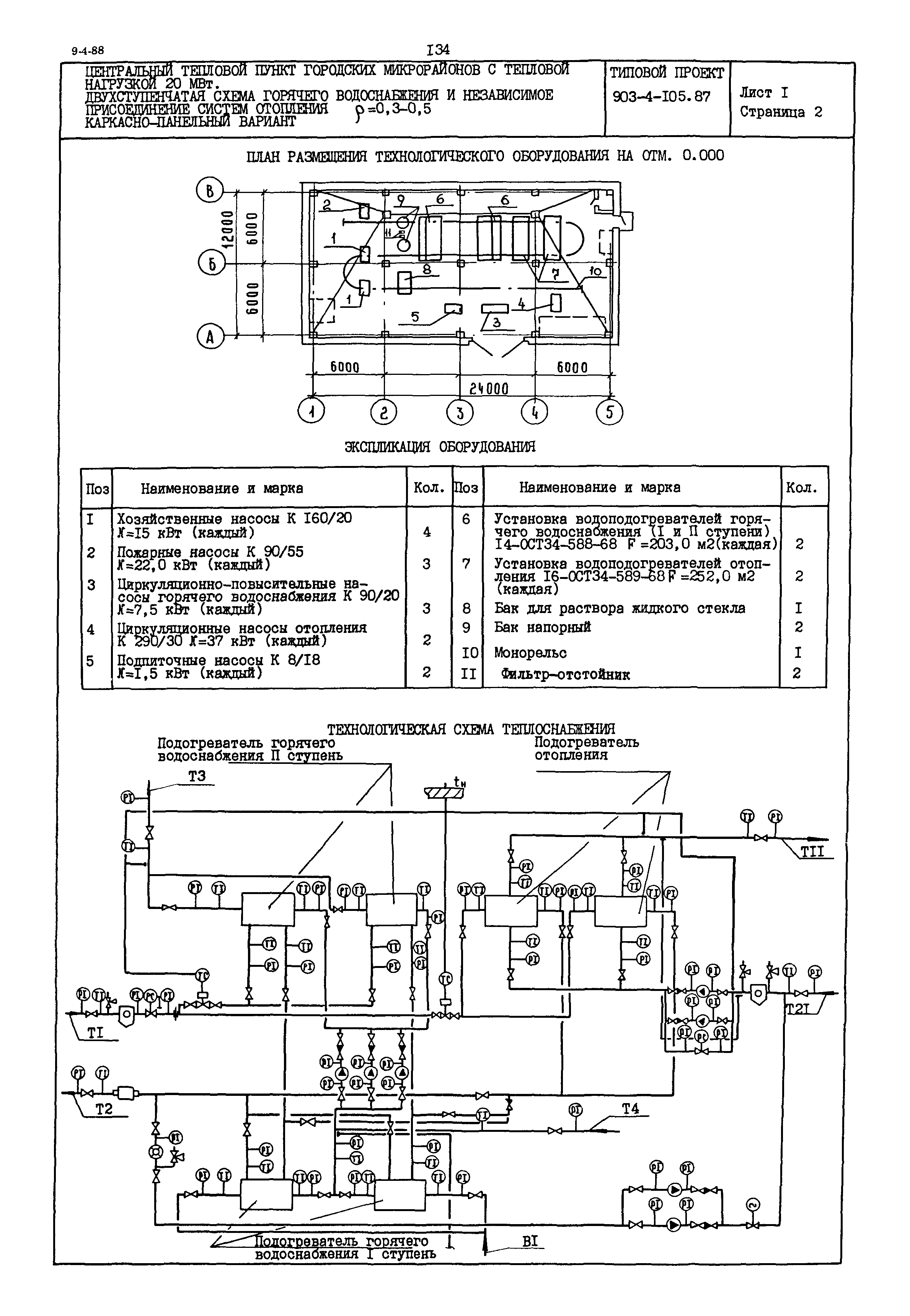
Центральный тепловой пункт для городских микрорайонов с тепловой нагрузкой 20 МВт. Двухступенчатая схема горячего водоснабжения и независимое присоединение систем отопления р = 0,3 - 0,5 (каркасно-панельный вариант)| Обозначение: | Типовой проект 903-4-105.87 | | Обозначение англ: | 903-4-105.87 | | Статус: | действует | | Название рус.: | Центральный тепловой пункт для городских микрорайонов с тепловой нагрузкой 20 МВт. Двухступенчатая схема горячего водоснабжения и независимое присоединение систем отопления р = 0,3 - 0,5 (каркасно-панельный вариант) | | Дата добавления в базу: | 01.09.2013 | | Дата актуализации: | 01.01.2021 | | Дата введения: | 01.04.1988 | | Список изменений: | |
     
Текстовое изменение № 1 от 01.01.2001
  
|