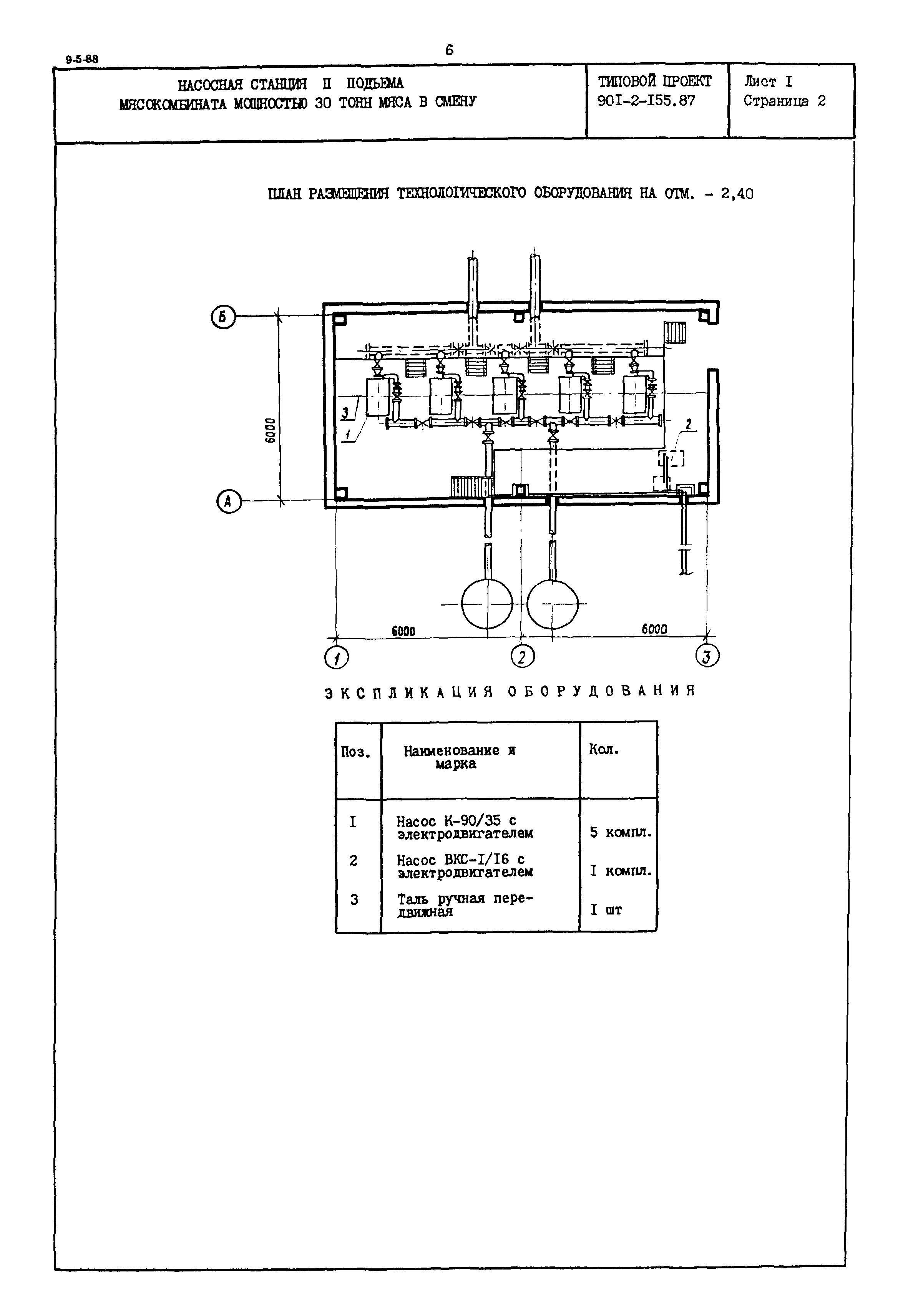
Скачать Типовой проект 901-2-155.87 Насосная станция II подъема мясокомбината мощностью 30 тонн мяса в сменуДата актуализации: 01.01.2021 Типовой проект 901-2-155.87
Насосная станция II подъема мясокомбината мощностью 30 тонн мяса в смену| Обозначение: | Типовой проект 901-2-155.87 | | Обозначение англ: | 901-2-155.87 | | Статус: | не определен законодательством | | Название рус.: | Насосная станция II подъема мясокомбината мощностью 30 тонн мяса в смену | | Дата добавления в базу: | 01.09.2013 | | Дата актуализации: | 01.02.2017 | | Дата введения: | 01.04.1988 |
  
|