Скачать Типовой проект 294-7-10.90 Трибуны для зрителей на 1500 местДата актуализации: 01.01.2021
|
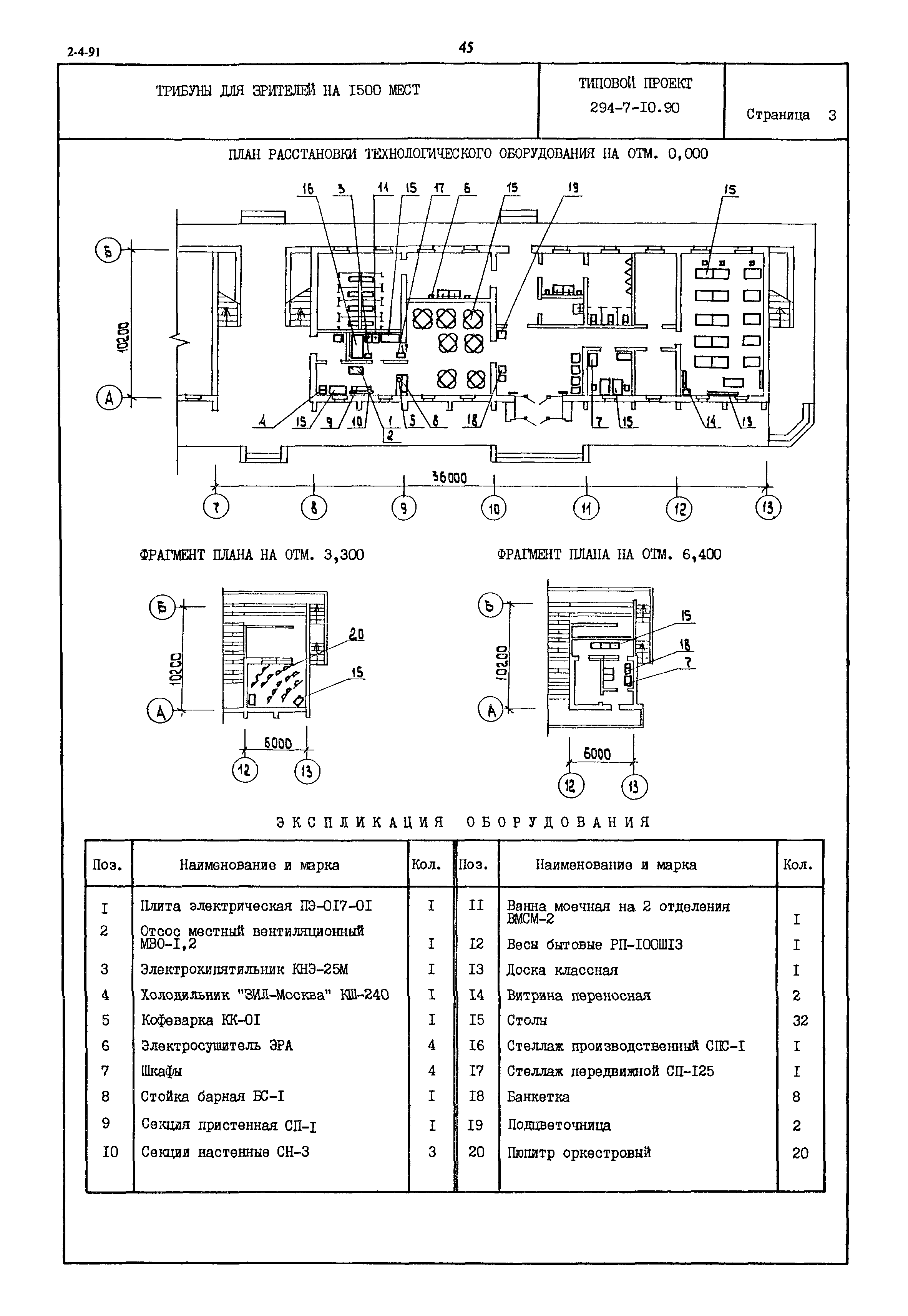
| Обозначение: | Типовой проект 294-7-10.90 |
| Обозначение англ: | 294-7-10.90 |
| Статус: | действует |
| Название рус.: | Трибуны для зрителей на 1500 мест |
| Дата добавления в базу: | 01.10.2014 |
| Дата актуализации: | 01.01.2021 |
| Дата введения: | 29.11.1990 |







