Скачать Типовой проект 901-6-89с.86 Башенная градирня пленочная площадью орошения 16 кв. м со стальной каркасной обшивной башнейДата актуализации: 01.01.2021 Типовой проект 901-6-89с.86
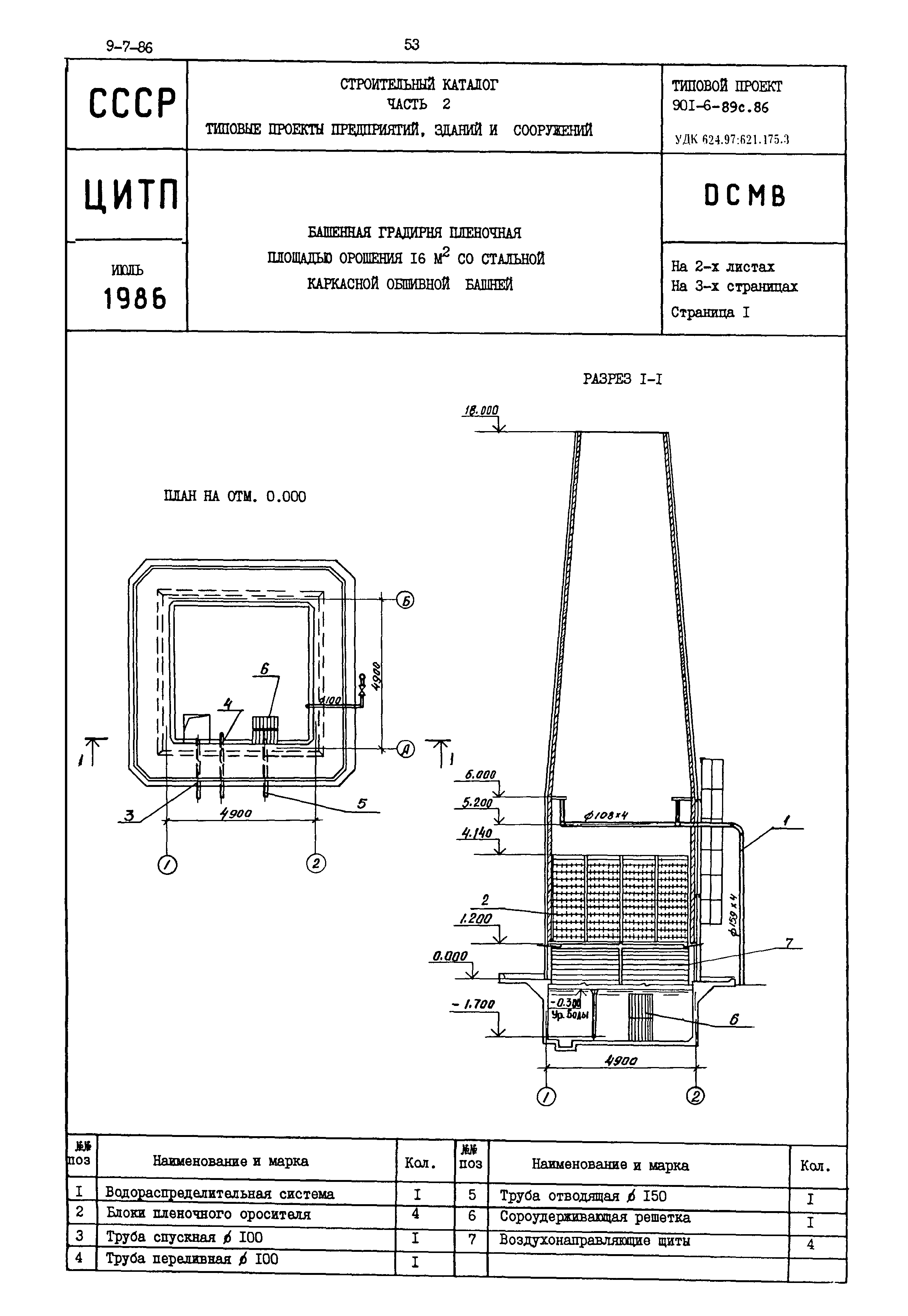
Башенная градирня пленочная площадью орошения 16 кв. м со стальной каркасной обшивной башней| Обозначение: | Типовой проект 901-6-89с.86 | | Обозначение англ: | 901-6-89с.86 | | Статус: | не действует | | Название рус.: | Башенная градирня пленочная площадью орошения 16 кв. м со стальной каркасной обшивной башней | | Дата добавления в базу: | 01.10.2014 | | Дата актуализации: | 01.01.2021 | | Дата введения: | 10.03.1986 | | Дата окончания срока действия: | 01.07.1996 |
 
|