Скачать Типовой проект 901-6-73.85 Градирня открытого типа с капельным оросителем площадью 4 кв. м

Дата актуализации: 01.01.2021

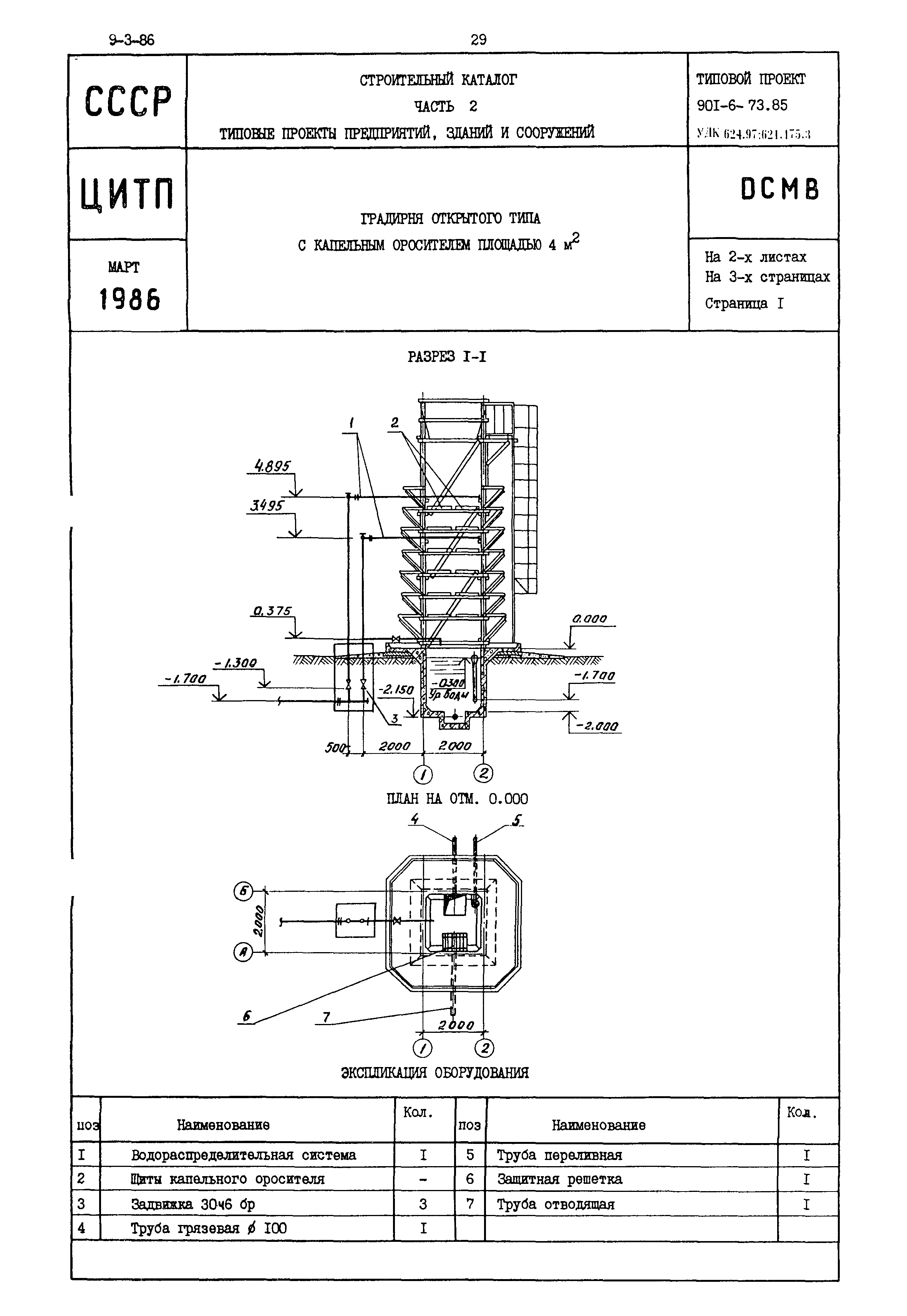
Типовой проект 901-6-73.85

Градирня открытого типа с капельным оросителем площадью 4 кв. м

Обозначение: Типовой проект 901-6-73.85
Обозначение англ: 901-6-73.85
Статус:отменен
Название рус.:Градирня открытого типа с капельным оросителем площадью 4 кв. м
Дата добавления в базу:21.05.2015
Дата актуализации:01.01.2021
Дата введения:03.10.1985
Дата окончания срока действия:01.07.1996
Область применения:Градирня предназначена для охлаждения воды в системах оборотного водоснабжения с расходом воды от 15 до 30 куб. м/час с перепадом температур нагретой и охлажденной воды в диапазоне от 5 до 10 градусов Цельсия
Типовой проект 901-6-73.85Типовой проект 901-6-73.85Типовой проект 901-6-73.85