Скачать Типовой проект 902-5-15.86 Резервуар метантенков объемом 1100 куб. мДата актуализации: 01.01.2021
|
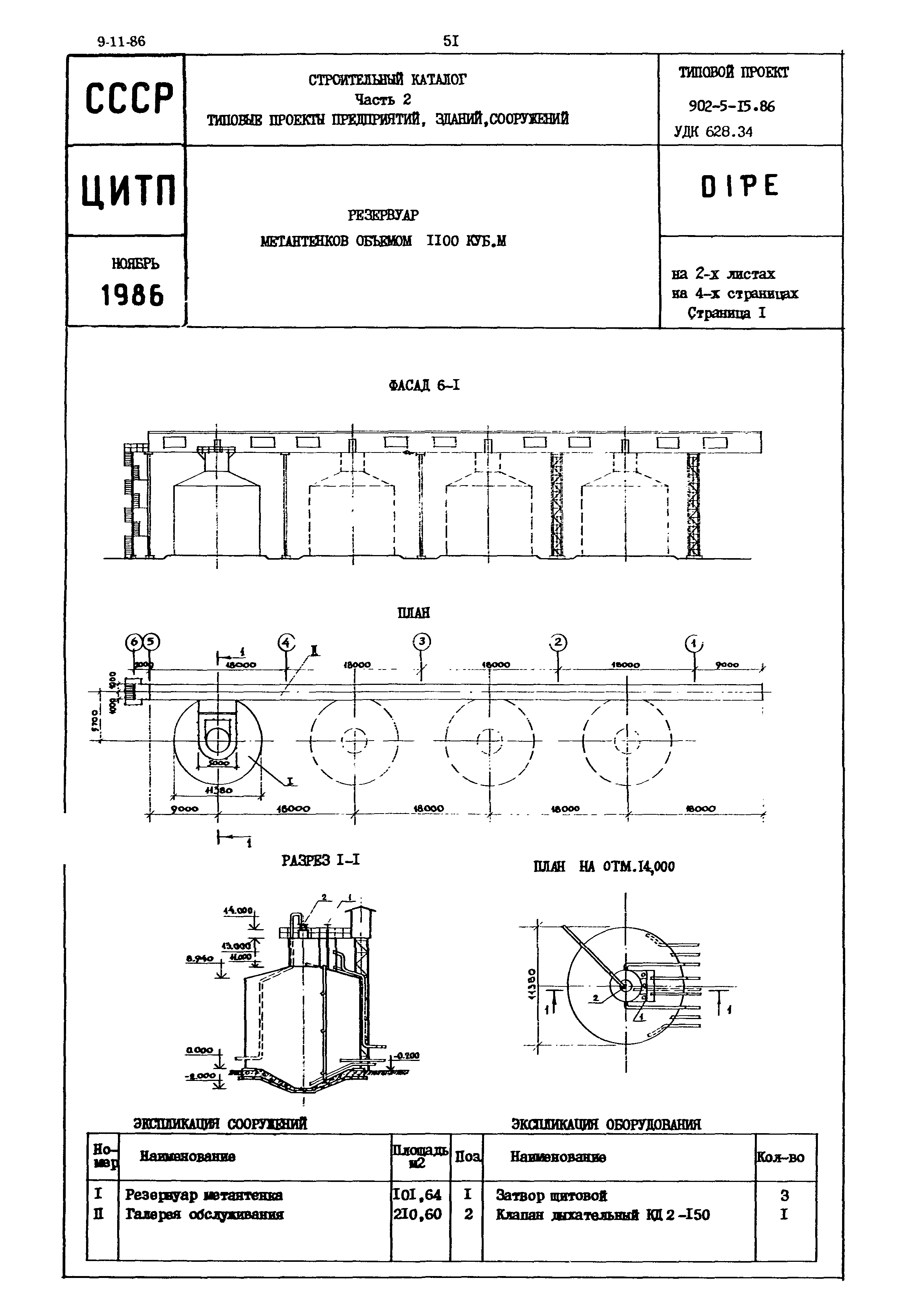
| Обозначение: | Типовой проект 902-5-15.86 |
| Обозначение англ: | 902-5-15.86 |
| Статус: | не определен законодательством |
| Название рус.: | Резервуар метантенков объемом 1100 куб. м |
| Дата добавления в базу: | 21.05.2015 |
| Дата актуализации: | 01.01.2021 |
| Дата введения: | 12.03.1986 |
| Дата окончания срока действия: | 30.06.2003 |



