Скачать Типовой проект 405-4-49 Кислородно-газификационная станция производительностью 200 - 400 куб. м/чДата актуализации: 01.01.2021
|
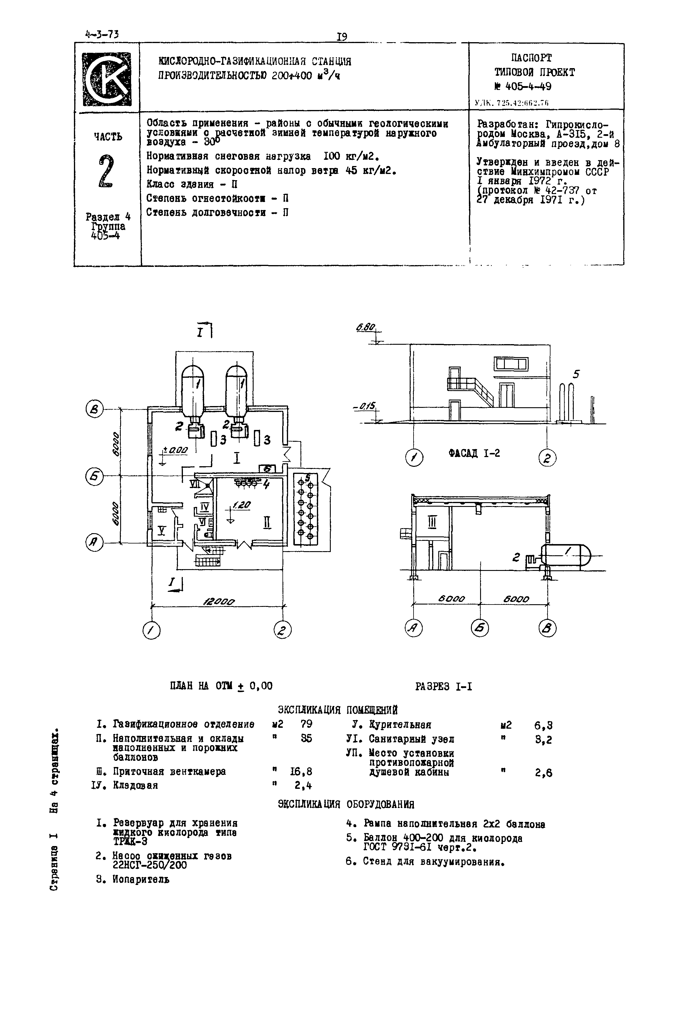
| Обозначение: | Типовой проект 405-4-49 |
| Обозначение англ: | 405-4-49 |
| Статус: | действует |
| Название рус.: | Кислородно-газификационная станция производительностью 200 - 400 куб. м/ч |
| Дата добавления в базу: | 01.10.2014 |
| Дата актуализации: | 01.01.2021 |
| Дата введения: | 01.01.1972 |



