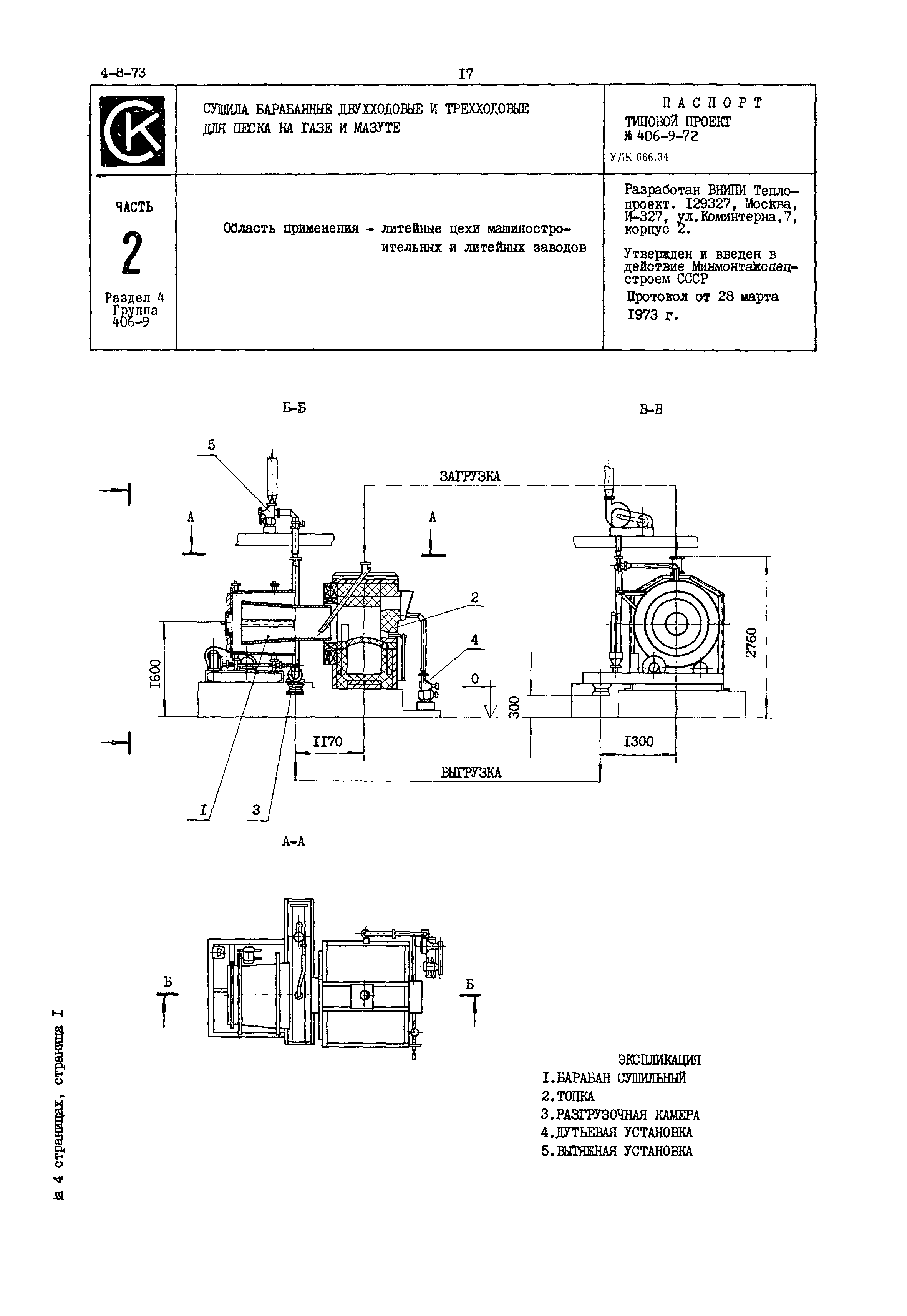
Скачать Типовой проект 406-9-72 Сушила барабанные двухходовые и трехходовые для песка на газе и мазутеДата актуализации: 01.01.2021
|
| Обозначение: | Типовой проект 406-9-72 |
| Обозначение англ: | 406-9-72 |
| Статус: | действует |
| Название рус.: | Сушила барабанные двухходовые и трехходовые для песка на газе и мазуте |
| Дата добавления в базу: | 01.10.2014 |
| Дата актуализации: | 01.01.2021 |
| Дата введения: | 28.03.1973 |



