Скачать Типовой проект 407-3-207 Тип 1 Подстанция 110/6-10 кВ с трансформаторами мощностью от 40 до 63 МВА с распределением всей мощности по кабельным линиям. Тип 1. ГПП-110-II-2х63-Б2СРДата актуализации: 01.01.2021 Типовой проект 407-3-207 Тип 1
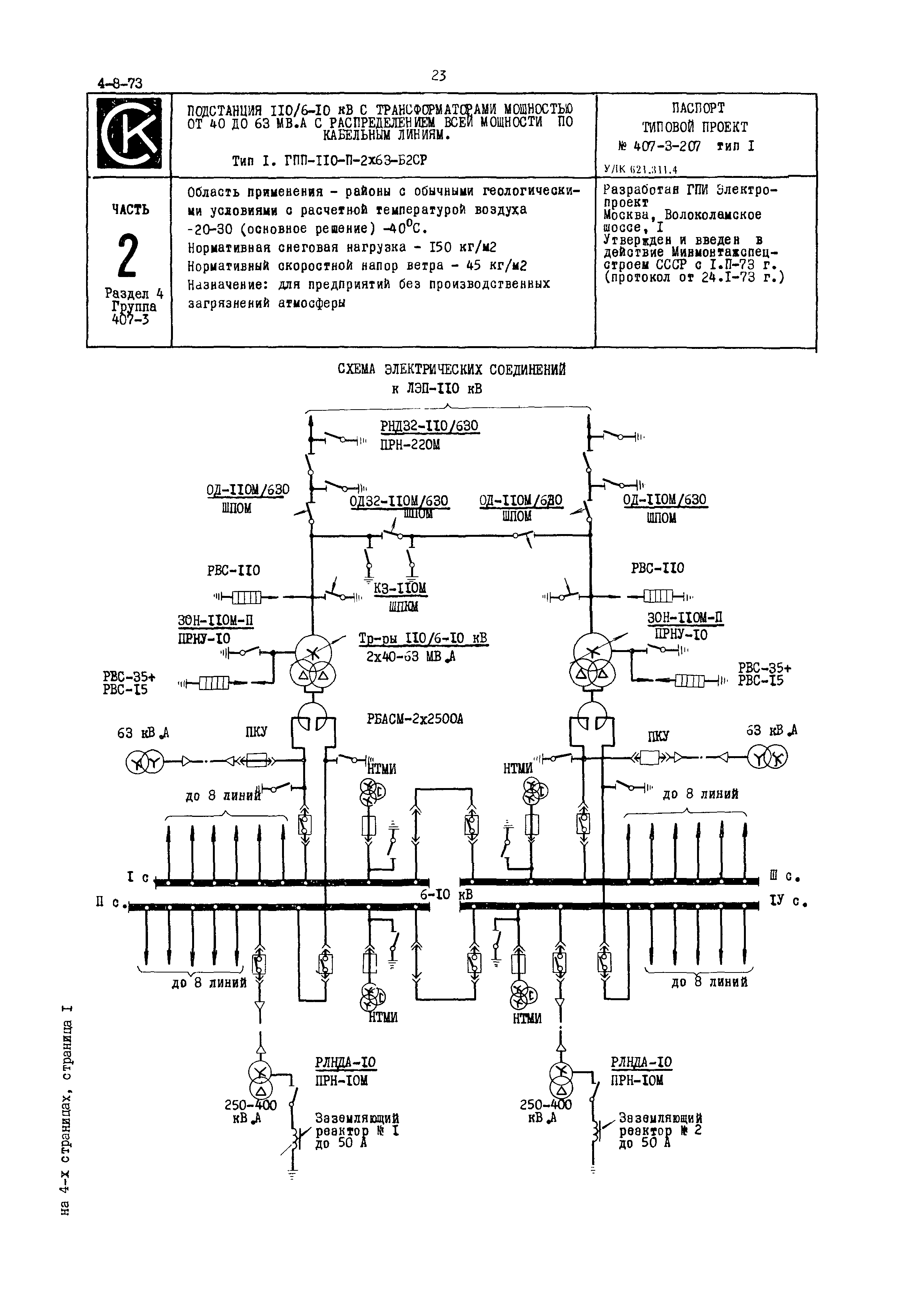
Подстанция 110/6-10 кВ с трансформаторами мощностью от 40 до 63 МВА с распределением всей мощности по кабельным линиям. Тип 1. ГПП-110-II-2х63-Б2СР| Обозначение: | Типовой проект 407-3-207 Тип 1 | | Обозначение англ: | 407-3-207 Тип 1 | | Статус: | действует | | Название рус.: | Подстанция 110/6-10 кВ с трансформаторами мощностью от 40 до 63 МВА с распределением всей мощности по кабельным линиям. Тип 1. ГПП-110-II-2х63-Б2СР | | Дата добавления в базу: | 01.10.2014 | | Дата актуализации: | 01.01.2021 | | Дата введения: | 01.02.1973 |
  
|