Скачать Типовой проект 407-3-207 Тип 3 Подстанция 110/6-10 кВ с трансформаторами мощностью от 63 до 80 МВА с распределением всей мощности по кабельным линиям. Тип 3. ГПП-110-III-2х80-Б2СР+Б2СРДата актуализации: 01.01.2021 Типовой проект 407-3-207 Тип 3
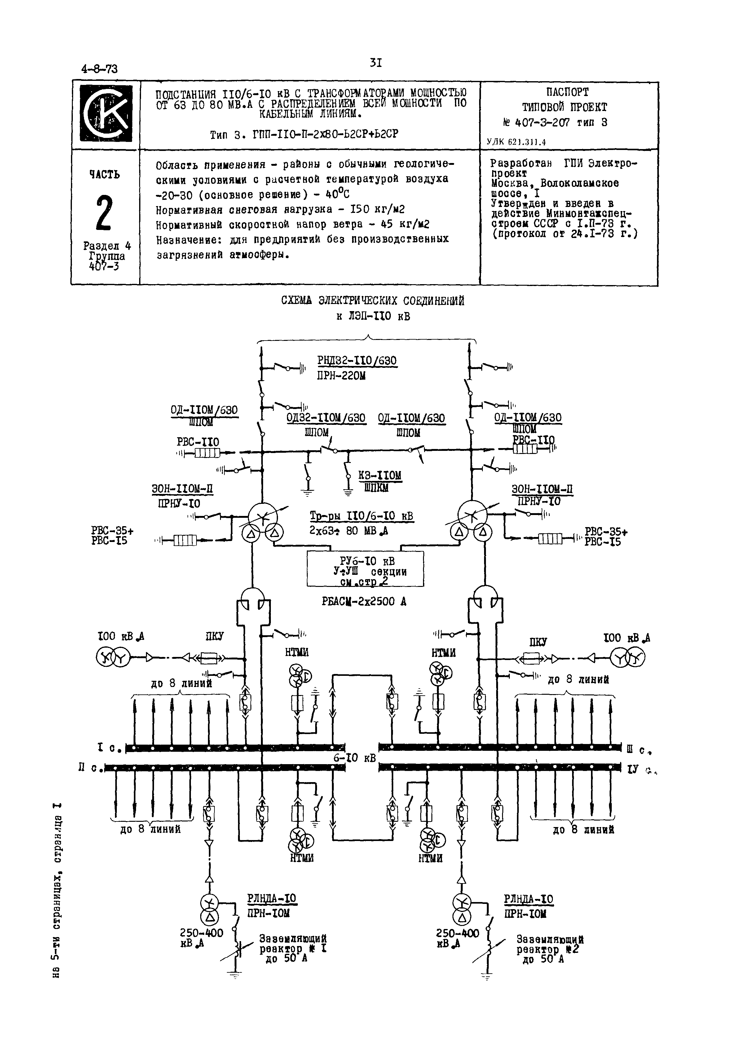
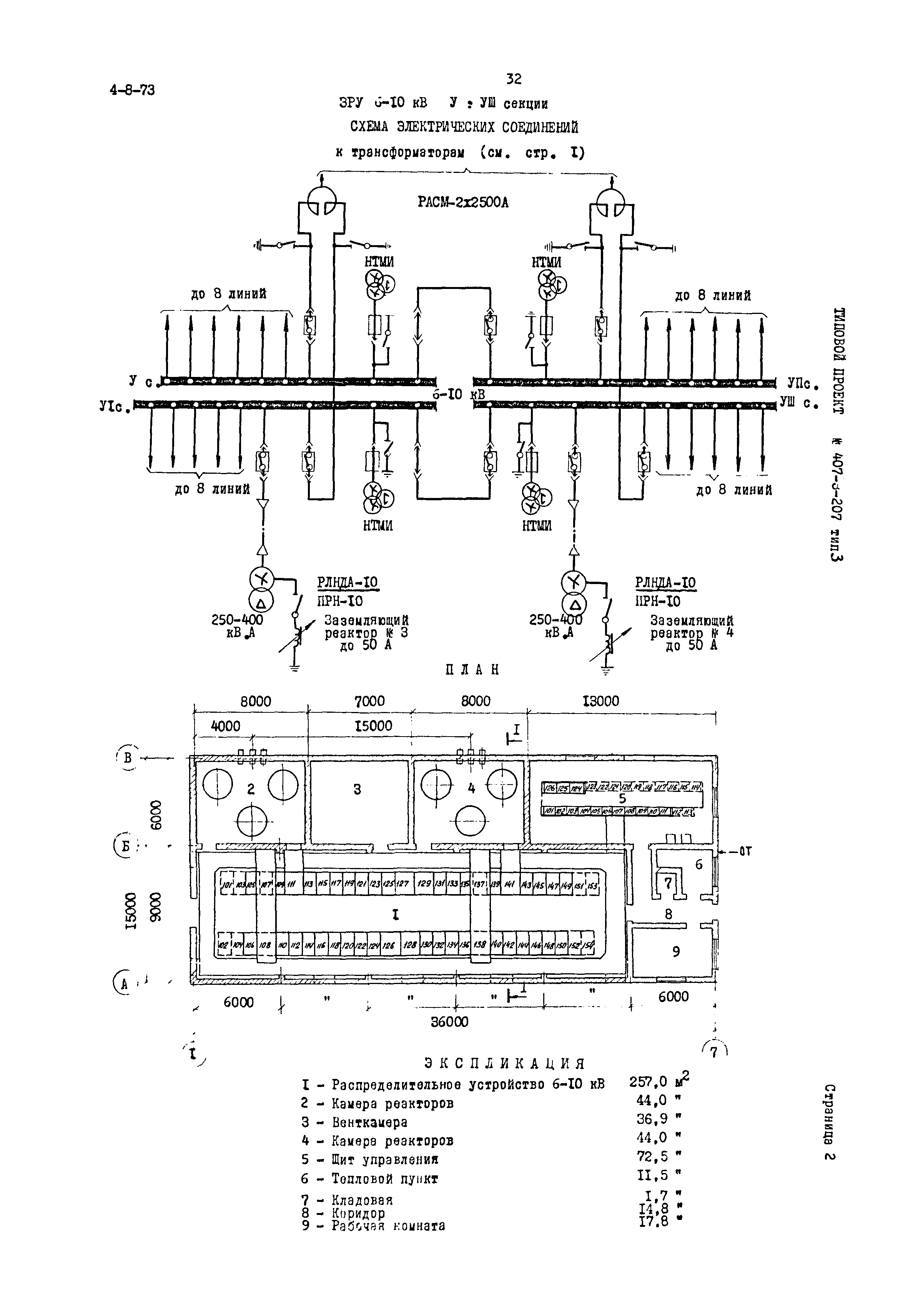
Подстанция 110/6-10 кВ с трансформаторами мощностью от 63 до 80 МВА с распределением всей мощности по кабельным линиям. Тип 3. ГПП-110-III-2х80-Б2СР+Б2СР| Обозначение: | Типовой проект 407-3-207 Тип 3 | | Обозначение англ: | 407-3-207 Тип 3 | | Статус: | действует | | Название рус.: | Подстанция 110/6-10 кВ с трансформаторами мощностью от 63 до 80 МВА с распределением всей мощности по кабельным линиям. Тип 3. ГПП-110-III-2х80-Б2СР+Б2СР | | Дата добавления в базу: | 01.10.2014 | | Дата актуализации: | 01.01.2021 | | Дата введения: | 01.02.1973 |
   
|