Скачать Типовой проект 409-23-29 тип 2 Сборно-разборный гидромеханизированный гравийно-сортировочный завод (установка открытого типа) производительностью 200,0 тыс. куб. м в год для месторождений с содержанием гравия 5+20 %Дата актуализации: 01.01.2021 Типовой проект 409-23-29 тип 2
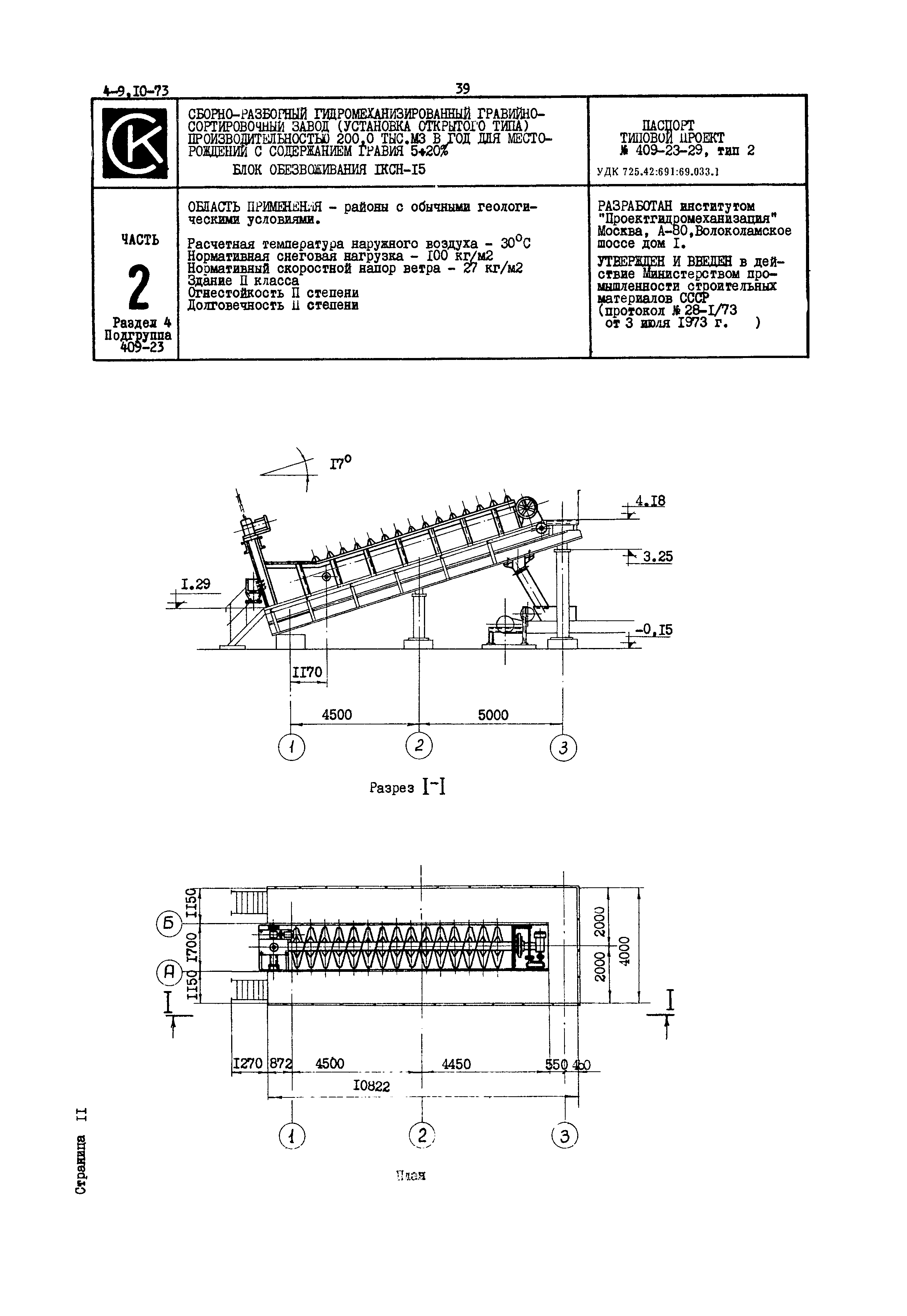
Сборно-разборный гидромеханизированный гравийно-сортировочный завод (установка открытого типа) производительностью 200,0 тыс. куб. м в год для месторождений с содержанием гравия 5+20 %| Обозначение: | Типовой проект 409-23-29 тип 2 | | Обозначение англ: | 409-23-29 тип 2 | | Статус: | действует | | Название рус.: | Сборно-разборный гидромеханизированный гравийно-сортировочный завод (установка открытого типа) производительностью 200,0 тыс. куб. м в год для месторождений с содержанием гравия 5+20 % | | Дата добавления в базу: | 01.10.2014 | | Дата актуализации: | 01.01.2021 | | Дата введения: | 03.07.1973 |
            
|