Скачать Типовой проект 409-28-24 Автоматизированное отделение по приготовлению жидких химических добавок бетона и раствора для установки производительностью 50 куб. м/часДата актуализации: 01.01.2021 Типовой проект 409-28-24
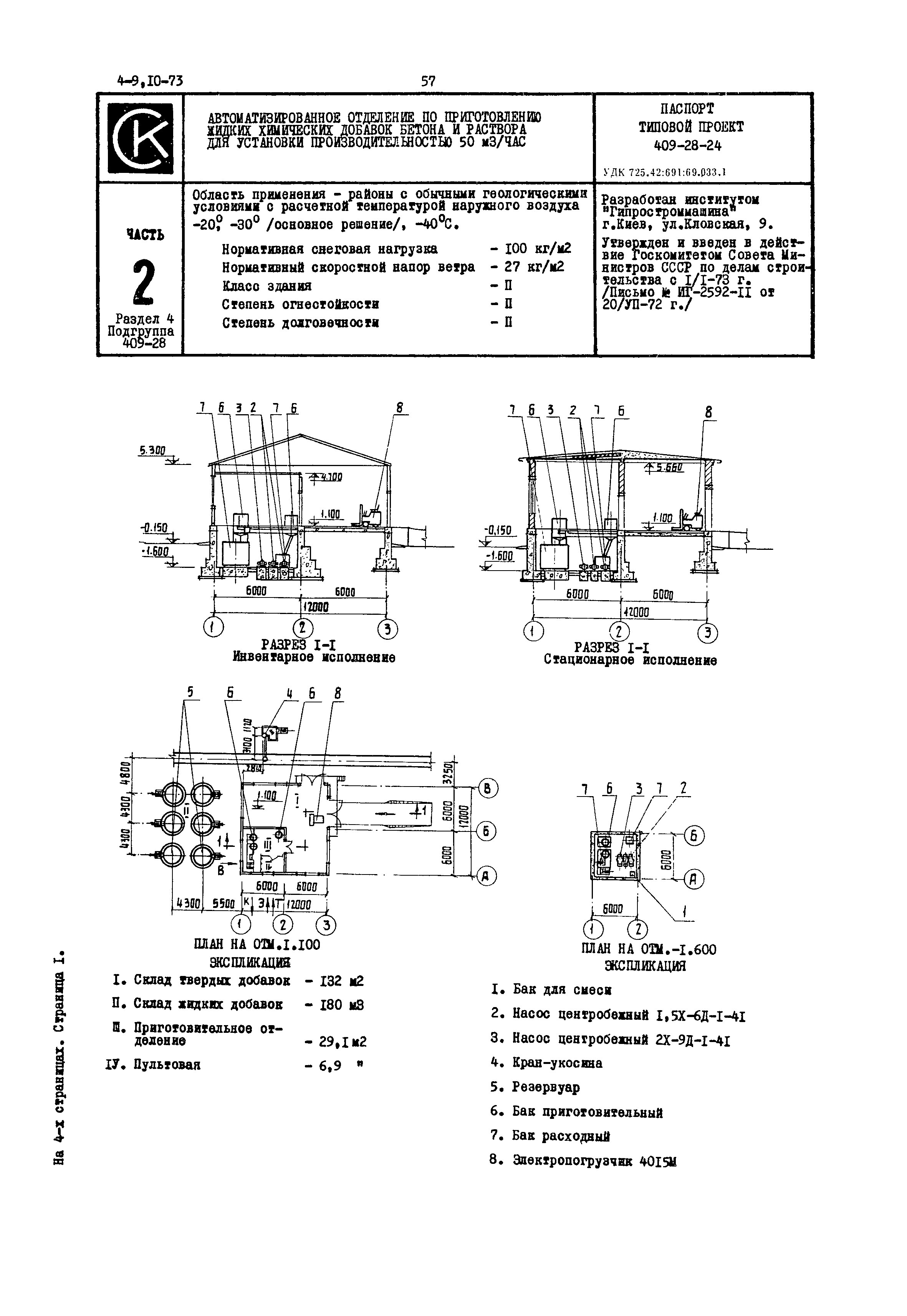
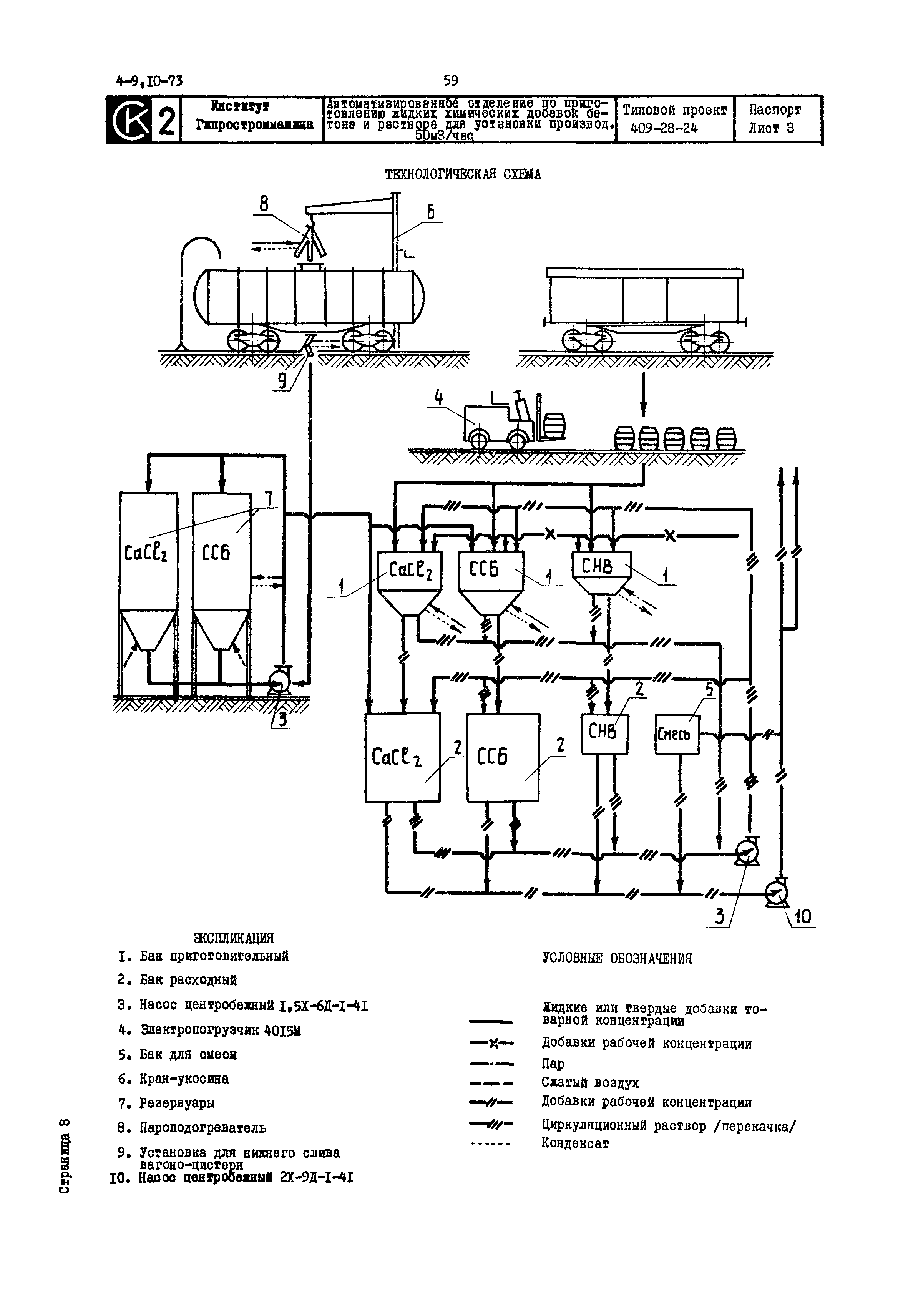
Автоматизированное отделение по приготовлению жидких химических добавок бетона и раствора для установки производительностью 50 куб. м/час| Обозначение: | Типовой проект 409-28-24 | | Обозначение англ: | 409-28-24 | | Статус: | действует | | Название рус.: | Автоматизированное отделение по приготовлению жидких химических добавок бетона и раствора для установки производительностью 50 куб. м/час | | Дата добавления в базу: | 01.10.2014 | | Дата актуализации: | 01.01.2021 | | Дата введения: | 01.01.1973 | | Список изменений: | |
   
Текстовое изменение № 1 от 01.07.1988
  
|