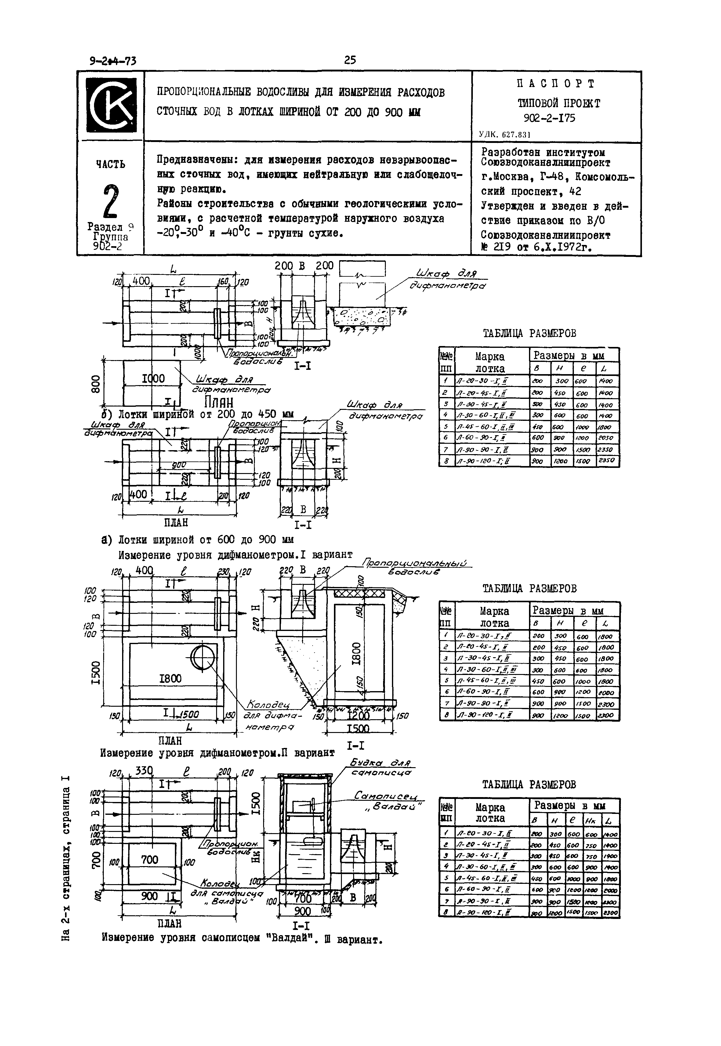
Скачать Типовой проект 902-2-175 Пропорциональные водосливы для измерения расходов сточных вод в лотках шириной от 200 до 900 ммДата актуализации: 01.01.2021 Типовой проект 902-2-175
Пропорциональные водосливы для измерения расходов сточных вод в лотках шириной от 200 до 900 мм| Обозначение: | Типовой проект 902-2-175 | | Обозначение англ: | 902-2-175 | | Статус: | не действует | | Название рус.: | Пропорциональные водосливы для измерения расходов сточных вод в лотках шириной от 200 до 900 мм | | Дата добавления в базу: | 01.10.2014 | | Дата актуализации: | 01.01.2021 | | Дата введения: | 06.10.1972 | | Дата окончания срока действия: | 01.02.1987 |

|