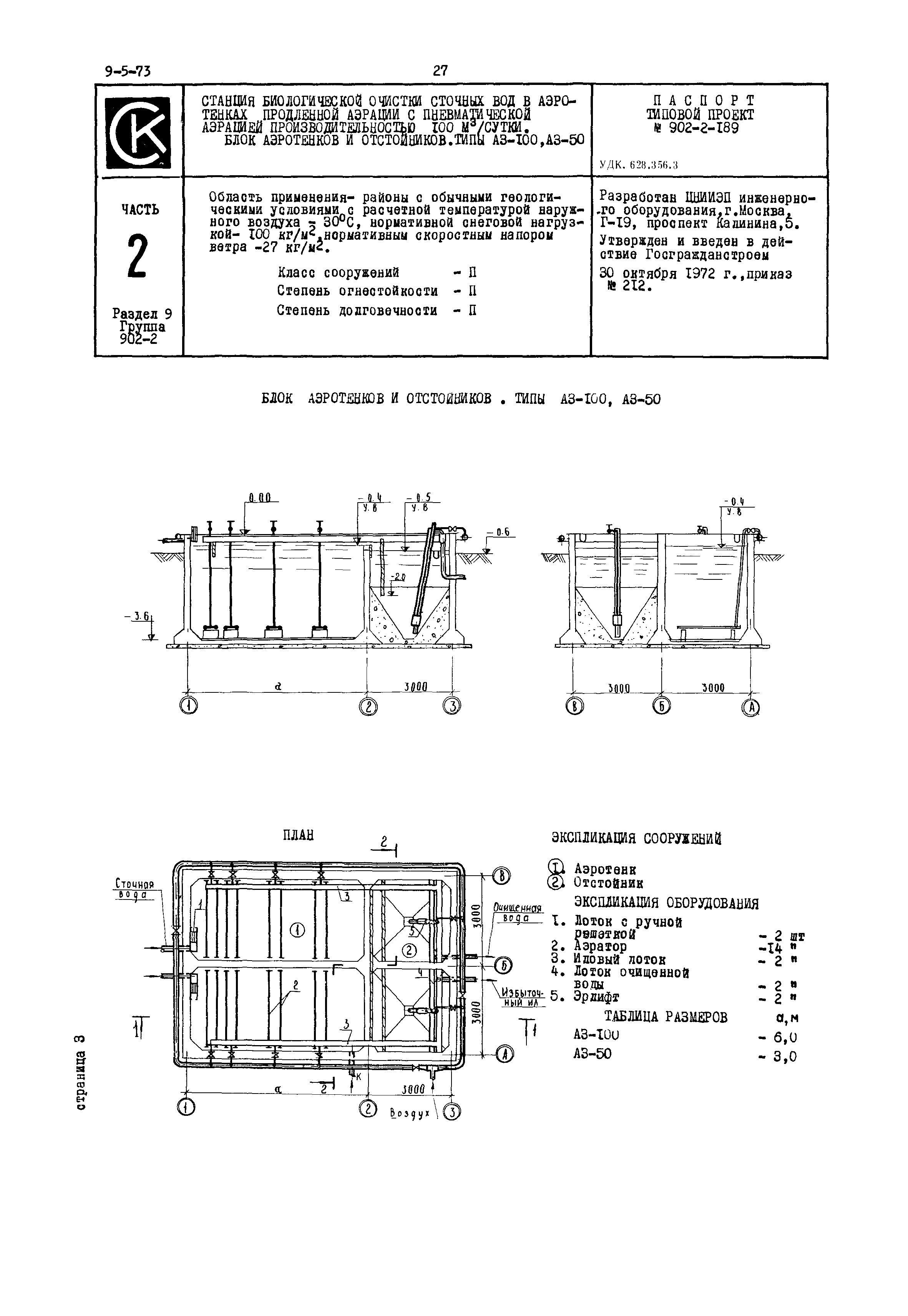
Скачать Типовой проект 902-2-189 Станция биологической очистки сточных вод в аэротенках продленной аэрации с пневматической аэрацией производительностью 100 куб. м/суткиДата актуализации: 01.01.2021 Типовой проект 902-2-189
Станция биологической очистки сточных вод в аэротенках продленной аэрации с пневматической аэрацией производительностью 100 куб. м/сутки| Обозначение: | Типовой проект 902-2-189 | | Обозначение англ: | 902-2-189 | | Статус: | заменен | | Название рус.: | Станция биологической очистки сточных вод в аэротенках продленной аэрации с пневматической аэрацией производительностью 100 куб. м/сутки | | Дата добавления в базу: | 01.10.2014 | | Дата актуализации: | 01.01.2021 | | Дата введения: | 30.10.1972 | | Дата окончания срока действия: | 01.08.1982 |
  
|