Скачать Типовой проект 901-6-34 Градирни с вентиляторами IВГ50, пленочные и капельные с секциями площадью 64 кв. м, с деревянным каркасомДата актуализации: 01.01.2021 Типовой проект 901-6-34
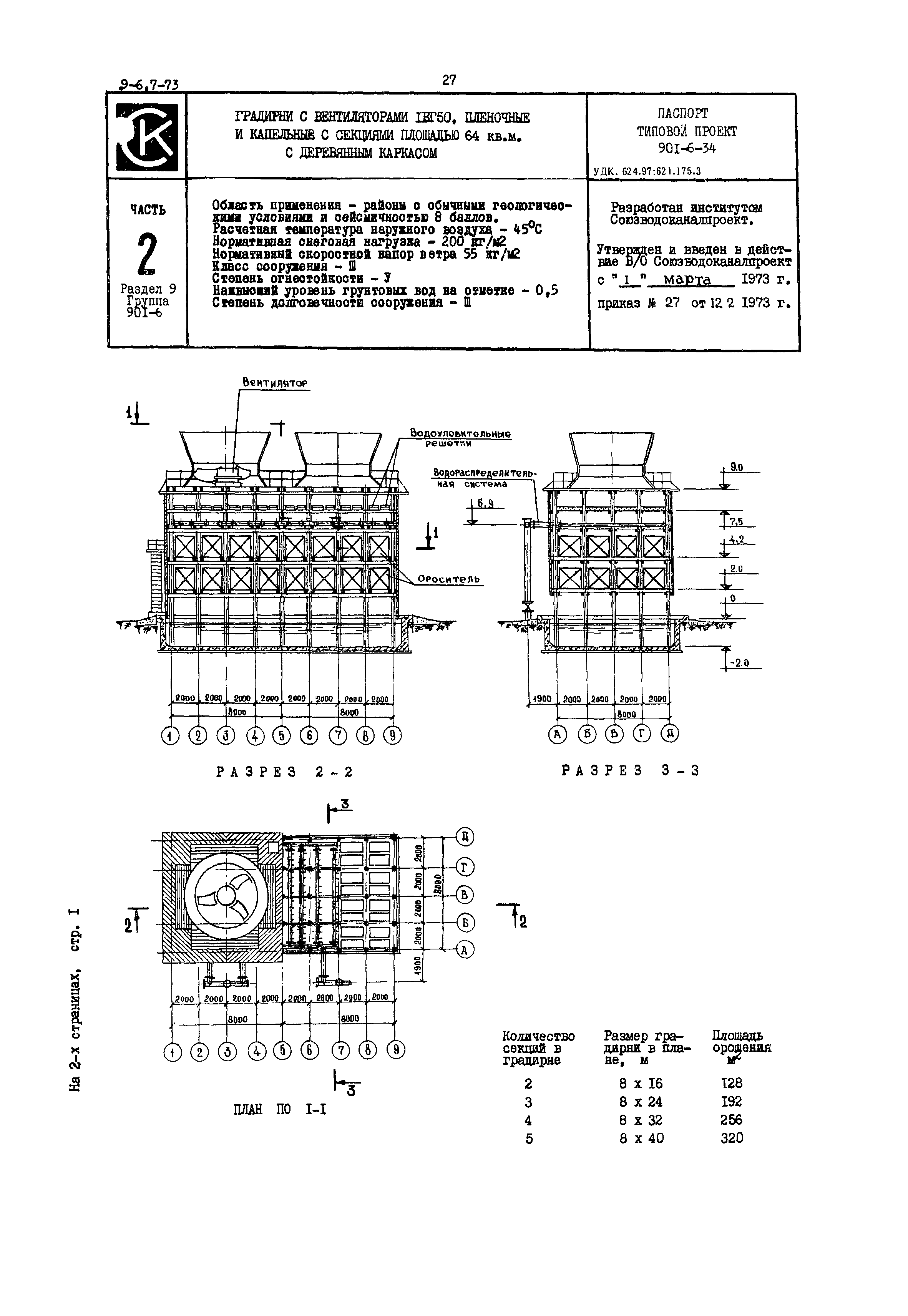
Градирни с вентиляторами IВГ50, пленочные и капельные с секциями площадью 64 кв. м, с деревянным каркасом| Обозначение: | Типовой проект 901-6-34 | | Обозначение англ: | 901-6-34 | | Статус: | не действует | | Название рус.: | Градирни с вентиляторами IВГ50, пленочные и капельные с секциями площадью 64 кв. м, с деревянным каркасом | | Дата добавления в базу: | 01.10.2014 | | Дата актуализации: | 01.01.2021 | | Дата введения: | 01.03.1973 | | Дата окончания срока действия: | 01.12.1984 |

|