Скачать Типовой проект 904-1-17 Автоматизированная отдельно стоящая компрессорная станция 4К-500А, производительностью 2000 куб. м/мин воздуха, с прямым пускомДата актуализации: 01.01.2021 Типовой проект 904-1-17
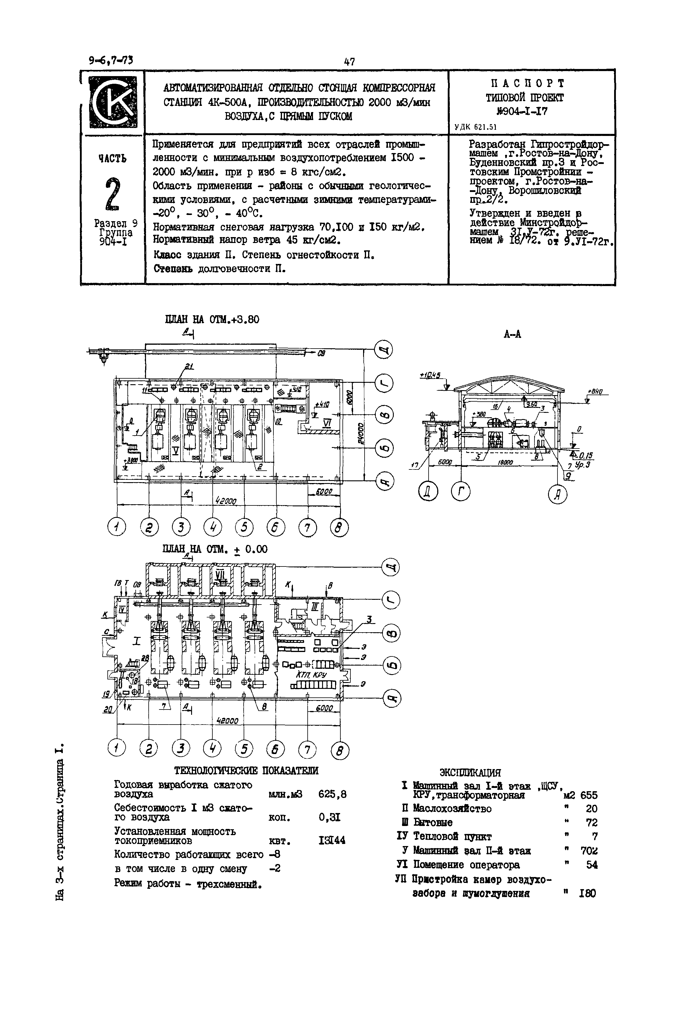
Автоматизированная отдельно стоящая компрессорная станция 4К-500А, производительностью 2000 куб. м/мин воздуха, с прямым пуском| Обозначение: | Типовой проект 904-1-17 | | Обозначение англ: | 904-1-17 | | Статус: | заменен | | Название рус.: | Автоматизированная отдельно стоящая компрессорная станция 4К-500А, производительностью 2000 куб. м/мин воздуха, с прямым пуском | | Дата добавления в базу: | 01.10.2014 | | Дата актуализации: | 01.01.2021 | | Дата введения: | 09.06.1972 | | Дата окончания срока действия: | 01.06.1977 |
 
|