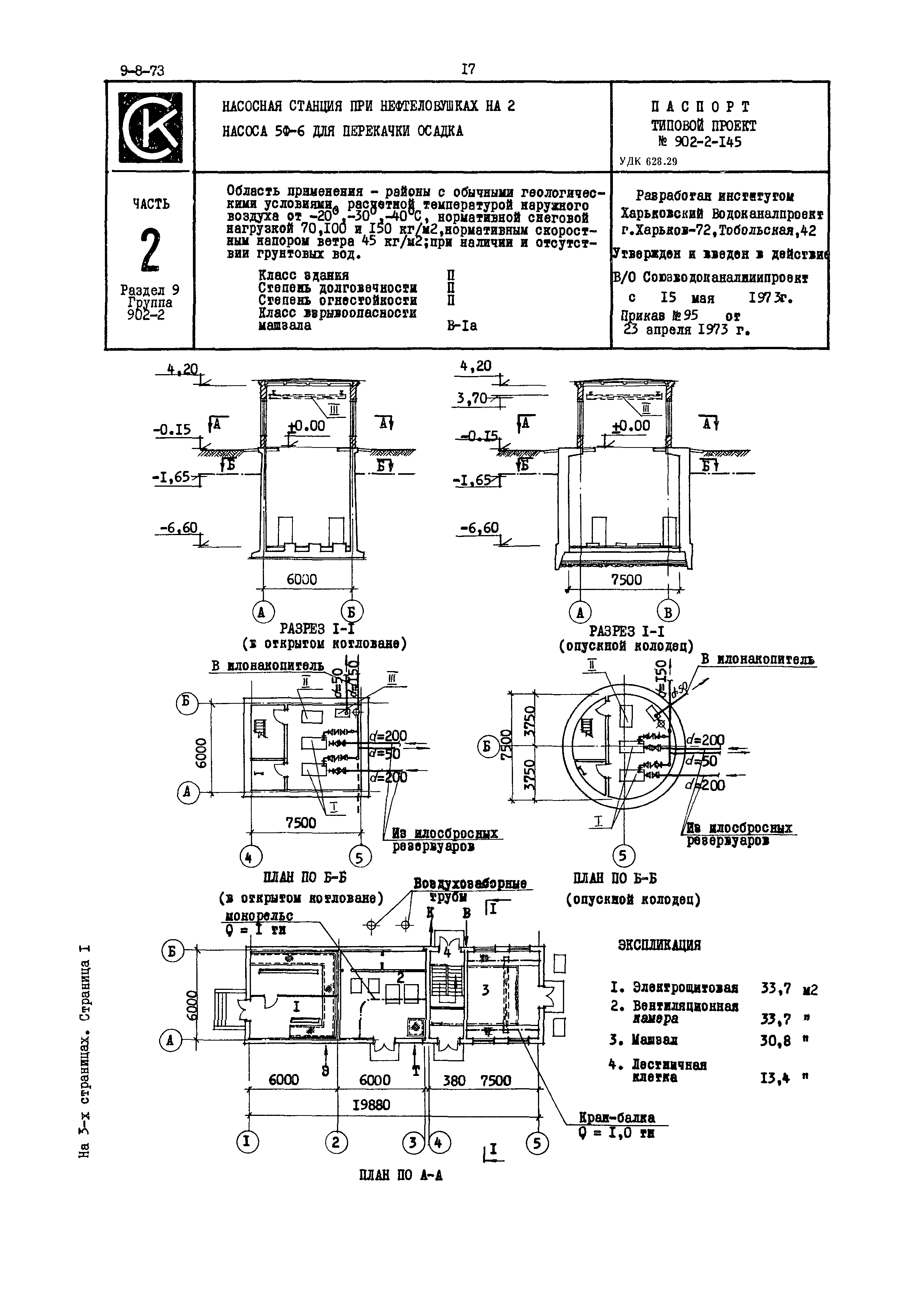
Скачать Типовой проект 902-2-145 Насосная станция при нефтеловушках на 2 насоса 5Ф-6 для перекачки осадкаДата актуализации: 01.01.2021 Типовой проект 902-2-145
Насосная станция при нефтеловушках на 2 насоса 5Ф-6 для перекачки осадка| Обозначение: | Типовой проект 902-2-145 | | Обозначение англ: | 902-2-145 | | Статус: | не действует | | Название рус.: | Насосная станция при нефтеловушках на 2 насоса 5Ф-6 для перекачки осадка | | Дата добавления в базу: | 01.10.2014 | | Дата актуализации: | 01.01.2021 | | Дата введения: | 15.05.1973 | | Дата окончания срока действия: | 01.02.1984 |
 
|