Скачать Типовой проект 902-2-148 Насосная станция при нефтеловушках на 2 насоса 5НКЭ-5х1 и 1 насос 4НКЭ-5х1 для перекачки нефтепродуктовДата актуализации: 01.01.2021 Типовой проект 902-2-148
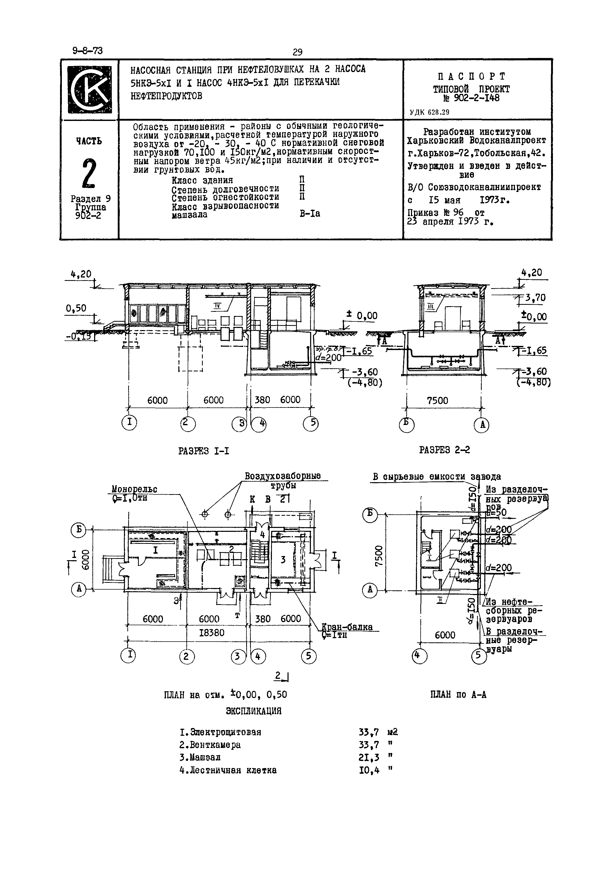
Насосная станция при нефтеловушках на 2 насоса 5НКЭ-5х1 и 1 насос 4НКЭ-5х1 для перекачки нефтепродуктов| Обозначение: | Типовой проект 902-2-148 | | Обозначение англ: | 902-2-148 | | Статус: | не действует | | Название рус.: | Насосная станция при нефтеловушках на 2 насоса 5НКЭ-5х1 и 1 насос 4НКЭ-5х1 для перекачки нефтепродуктов | | Дата добавления в базу: | 01.10.2014 | | Дата актуализации: | 01.01.2021 | | Дата введения: | 15.05.1973 | | Дата окончания срока действия: | 01.02.1984 |
 
|