Скачать Типовой проект 407-3-48/75 Трансформаторная подстанция с двумя воздушными вводами 6 - 10 кВ на один трансформатор мощностью до 160 кВА. Тип В-21-160 М3

Дата актуализации: 01.01.2021

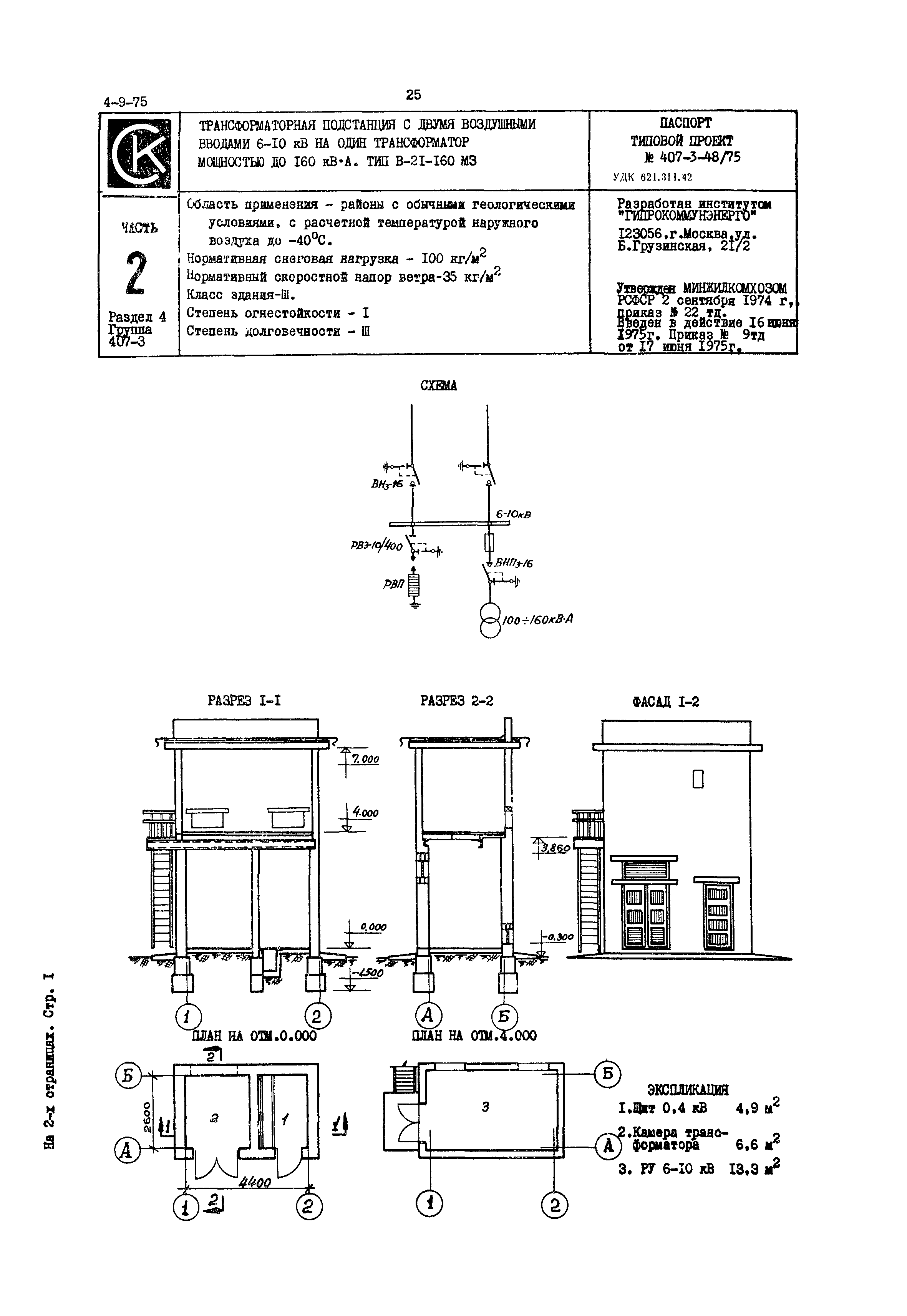
Типовой проект 407-3-48/75

Трансформаторная подстанция с двумя воздушными вводами 6 - 10 кВ на один трансформатор мощностью до 160 кВА. Тип В-21-160 М3

Обозначение: Типовой проект 407-3-48/75
Обозначение англ: 407-3-48/75
Статус:заменен
Название рус.:Трансформаторная подстанция с двумя воздушными вводами 6 - 10 кВ на один трансформатор мощностью до 160 кВА. Тип В-21-160 М3
Дата добавления в базу:12.02.2016
Дата актуализации:01.01.2021
Дата введения:16.06.1975
Дата окончания срока действия:01.06.1982
Область применения:Трансформаторная подстанция предназначена для питания силовых и осветительных нагрузок промышленных потребителей и городских электрических сетей
Список изменений:
Типовой проект 407-3-48/75Типовой проект 407-3-48/75

Текстовое изменение № от 12.12.2006

№ № № № №

Текстовое изменение № от 03.07.2007

№ № № №

Текстовое изменение № от 25.12.2007

№ №

Текстовое изменение № от 25.12.2007

№ № № №

Текстовое изменение № от 08.04.2008

№ № № № № №