Скачать Типовой проект 407-3-49/75 Трансформаторная подстанция с четырьмя воздушными вводами 6 - 10 кВ на один трансформатор мощностью до 400 кВА. Тип В-41-400 М3

Дата актуализации: 01.01.2021

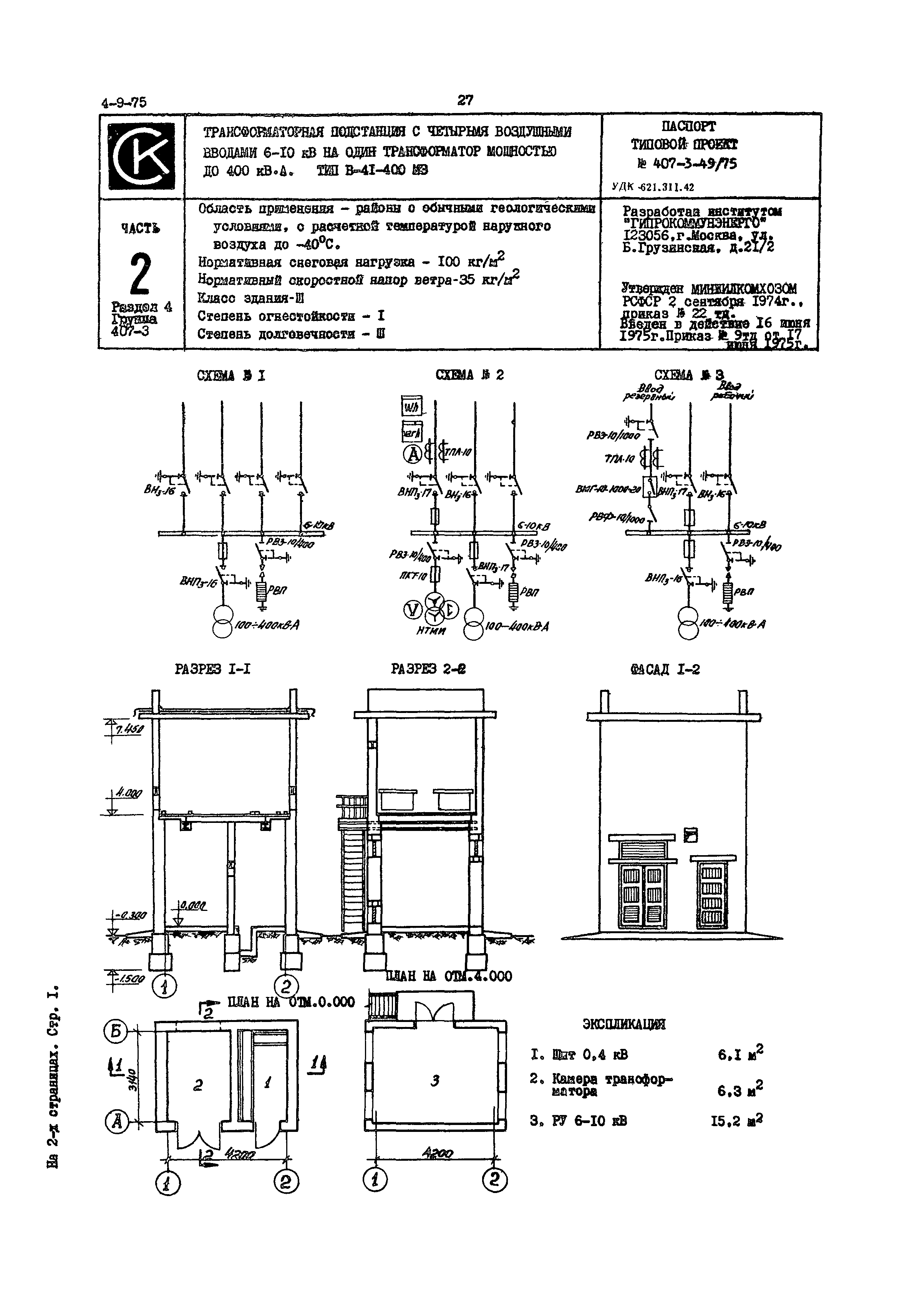
Типовой проект 407-3-49/75

Трансформаторная подстанция с четырьмя воздушными вводами 6 - 10 кВ на один трансформатор мощностью до 400 кВА. Тип В-41-400 М3

Обозначение: Типовой проект 407-3-49/75
Обозначение англ: 407-3-49/75
Статус:заменен
Название рус.:Трансформаторная подстанция с четырьмя воздушными вводами 6 - 10 кВ на один трансформатор мощностью до 400 кВА. Тип В-41-400 М3
Дата добавления в базу:01.01.2019
Дата актуализации:01.01.2021
Дата введения:16.06.1975
Дата окончания срока действия:01.06.1982
Область применения:Трансформаторная подстанция предназначается для питания силовых и осветительных нагрузок промышленных потребителей и городских электрических сетей
Типовой проект 407-3-49/75Типовой проект 407-3-49/75