Скачать Типовой проект 901-6-48 Градирни с вентиляторами 2ВГ70 пленочные с секциями площадью 144 кв. м с каркасом из железобетона

Дата актуализации: 01.01.2021

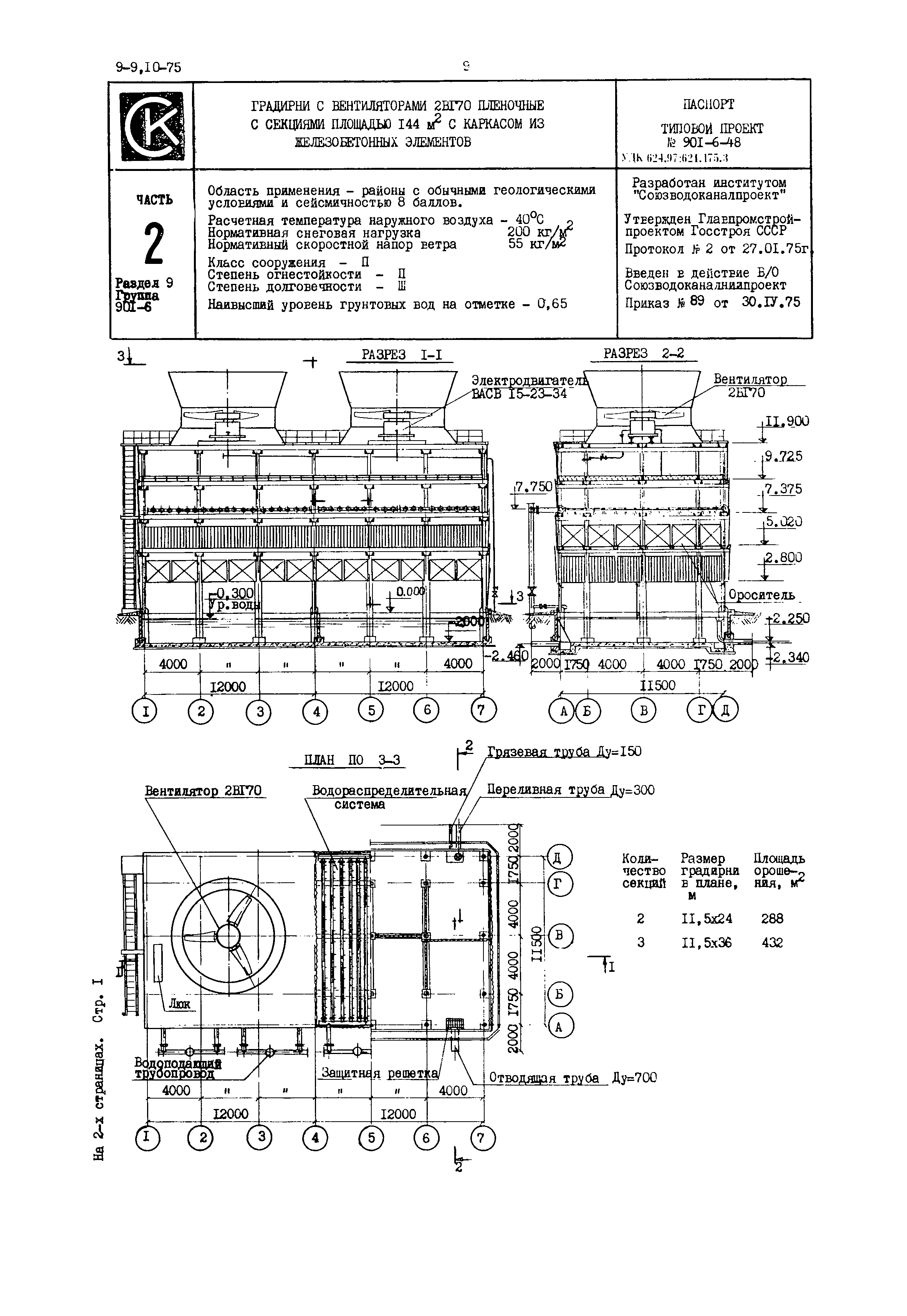
Типовой проект 901-6-48

Градирни с вентиляторами 2ВГ70 пленочные с секциями площадью 144 кв. м с каркасом из железобетона

Обозначение: Типовой проект 901-6-48
Обозначение англ: 901-6-48
Статус:отменен
Название рус.:Градирни с вентиляторами 2ВГ70 пленочные с секциями площадью 144 кв. м с каркасом из железобетона
Дата добавления в базу:21.05.2015
Дата актуализации:01.01.2021
Дата введения:25.05.1975
Дата окончания срока действия:01.07.1996
Область применения:Градирни применяются для охлаждения воды в системах оборотного водоснабжения предприятий различных отраслей промышленности с расходом воды от 5000 до 20000 куб. м/час, с перепадом температуры нагретой и охлажденной воды в диапазоне от 5 до 20 градусов Цельсия
Список изменений:
Типовой проект 901-6-48Типовой проект 901-6-48

Текстовое изменение № 1 от 01.07.1987

№ 1№ 1№ 1№ 1