Скачать Типовой проект 704-4-20 Заглубленный склад легковоспламеняющихся жидкостей и горюче-смазочных материалов емкостью 1,5 тонныДата актуализации: 01.01.2021 Типовой проект 704-4-20
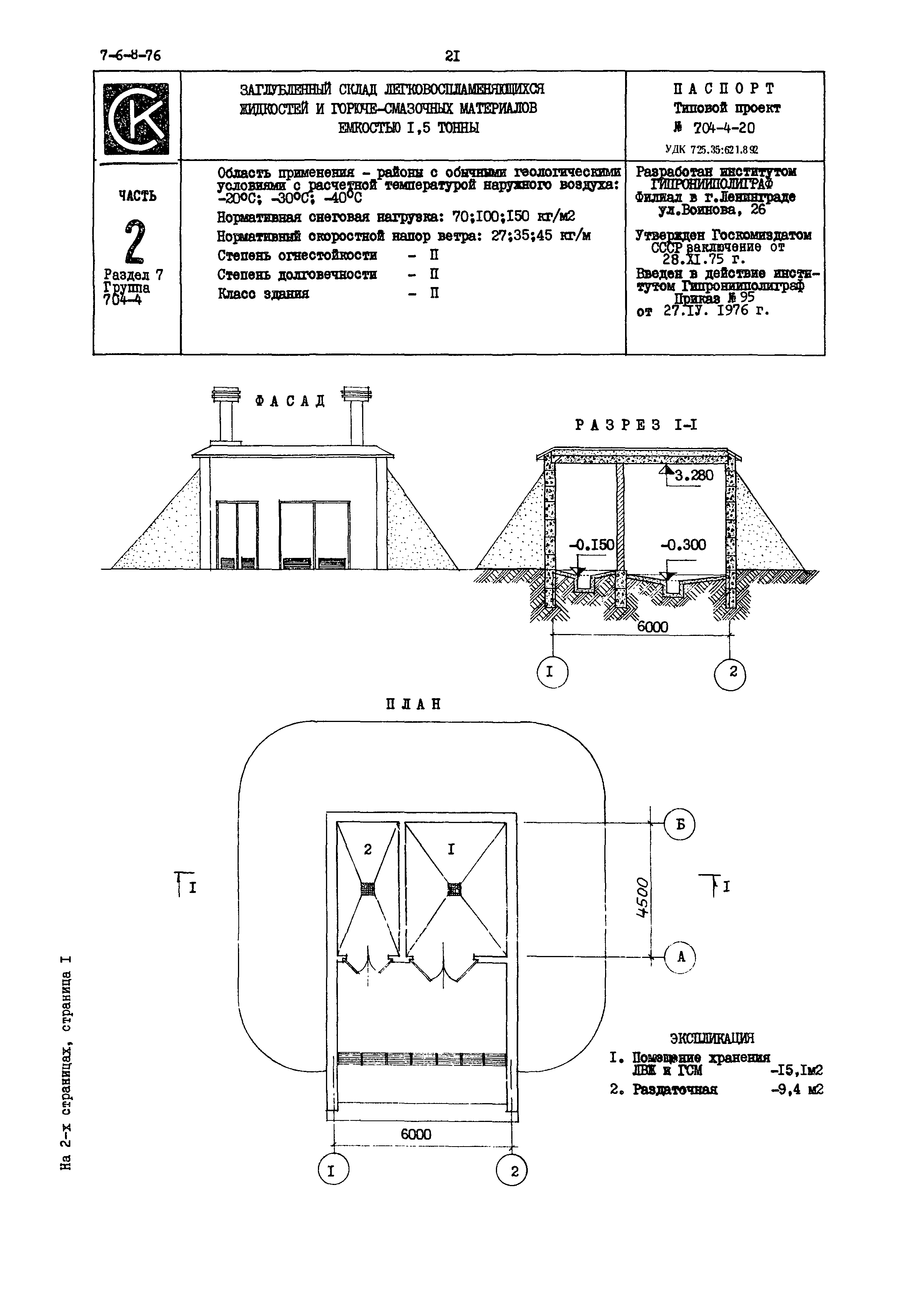
Заглубленный склад легковоспламеняющихся жидкостей и горюче-смазочных материалов емкостью 1,5 тонны| Обозначение: | Типовой проект 704-4-20 | | Обозначение англ: | 704-4-20 | | Статус: | действует | | Название рус.: | Заглубленный склад легковоспламеняющихся жидкостей и горюче-смазочных материалов емкостью 1,5 тонны | | Дата добавления в базу: | 01.01.2019 | | Дата актуализации: | 01.01.2021 | | Дата введения: | 27.04.1976 | | Область применения: | Склад предназначен для тарного хранения легковоспламеняющихся жидкостей и горюче-смазочных материалов в следующих количествах: керосин - 0,75 тонны, машинное масло - 0,45 тонны, бензин - 0,15 тонны, спирт - 0,06 тонны, тавот, индустриальные смазки - 0,06 тонны, скипидар - 0,03 тонны |

|