Скачать Типовой проект 901-6-51 Градирни с вентиляторами 2ВГ50 пленочные капельные и брызгальные с секциями площадью 64 куб. м с каркасом из железобетонных элементовДата актуализации: 01.01.2021 Типовой проект 901-6-51
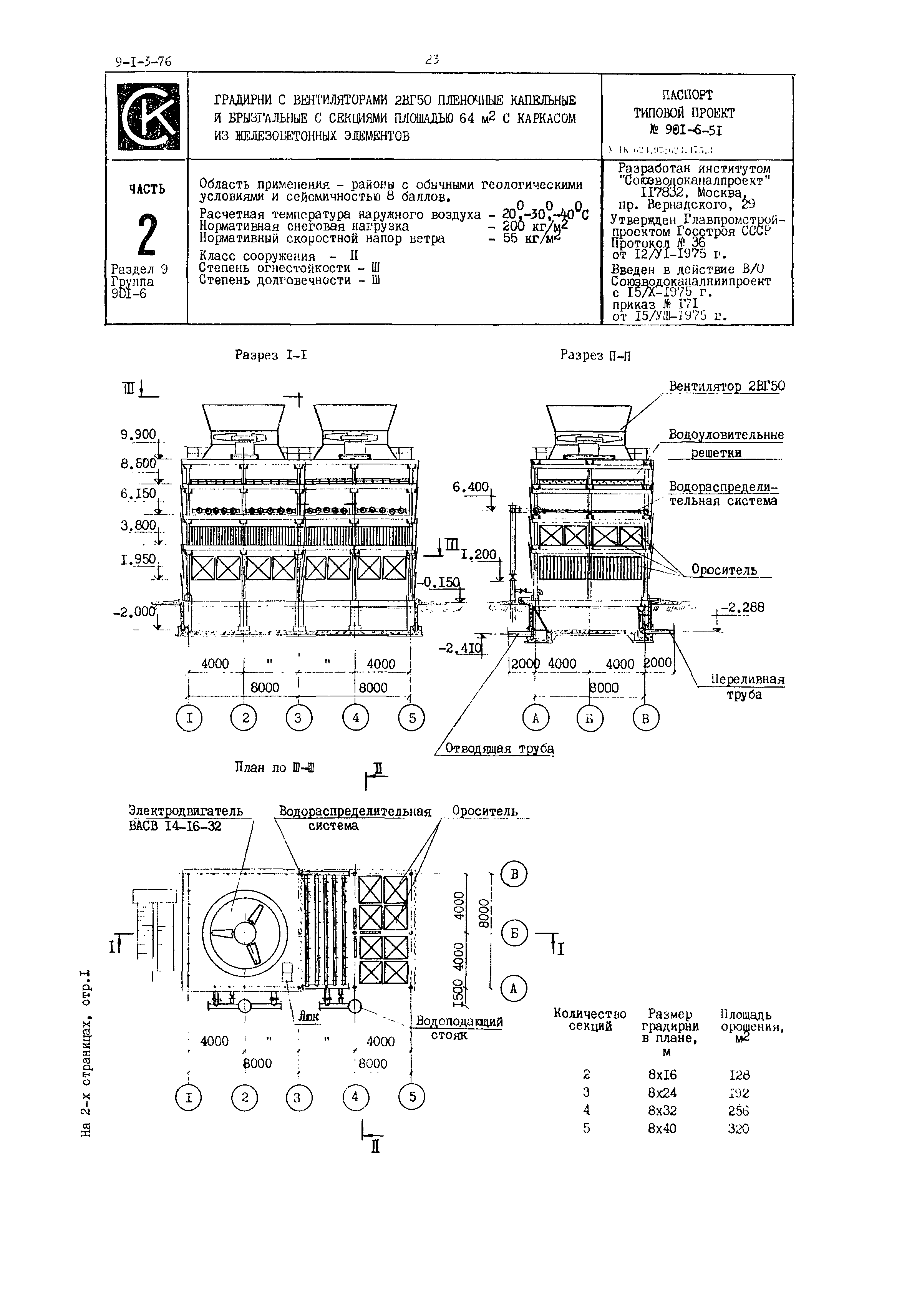
Градирни с вентиляторами 2ВГ50 пленочные капельные и брызгальные с секциями площадью 64 куб. м с каркасом из железобетонных элементов| Обозначение: | Типовой проект 901-6-51 | | Обозначение англ: | 901-6-51 | | Статус: | отменен | | Название рус.: | Градирни с вентиляторами 2ВГ50 пленочные капельные и брызгальные с секциями площадью 64 куб. м с каркасом из железобетонных элементов | | Дата добавления в базу: | 12.02.2016 | | Дата актуализации: | 01.01.2021 | | Дата введения: | 15.10.1975 | | Дата окончания срока действия: | 01.07.1996 |
   
|