Скачать Типовой проект 704-1-125 Заглубленное хранилище дизельного топлива емкостью 5 куб. мДата актуализации: 01.01.2021
|
| Обозначение: | Типовой проект 704-1-125 |
| Обозначение англ: | 704-1-125 |
| Статус: | действует |
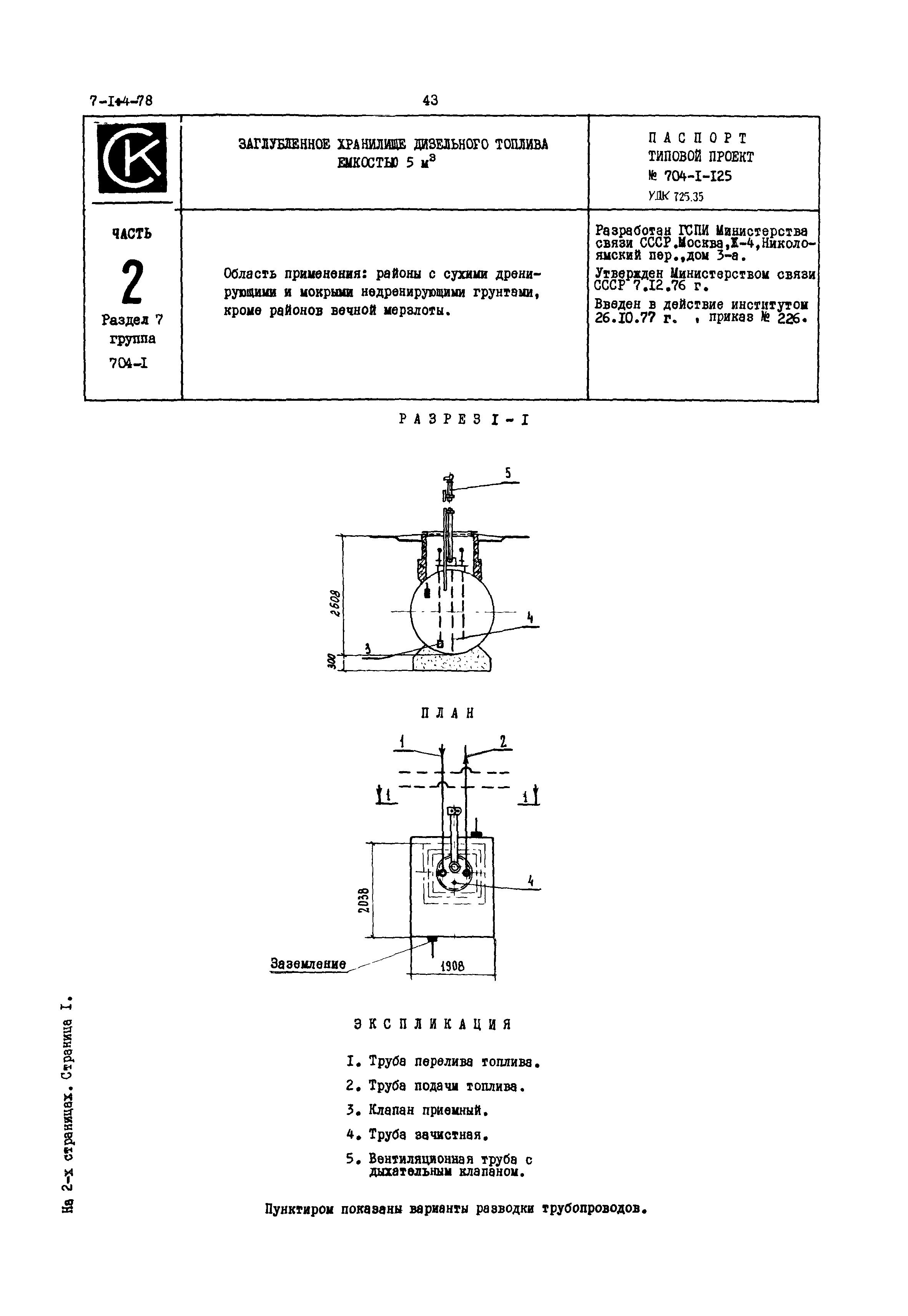
| Название рус.: | Заглубленное хранилище дизельного топлива емкостью 5 куб. м |
| Дата добавления в базу: | 01.01.2019 |
| Дата актуализации: | 01.01.2021 |
| Дата введения: | 26.10.1977 |

