Скачать Типовой проект 902-1-47 Насосная станция для перекачки производственных кислых сточных вод производительностью от 30 до 110 куб. м/час. Глубина заложения подводящего коллектора 3; 5 /4/ мДата актуализации: 01.01.2021 Типовой проект 902-1-47
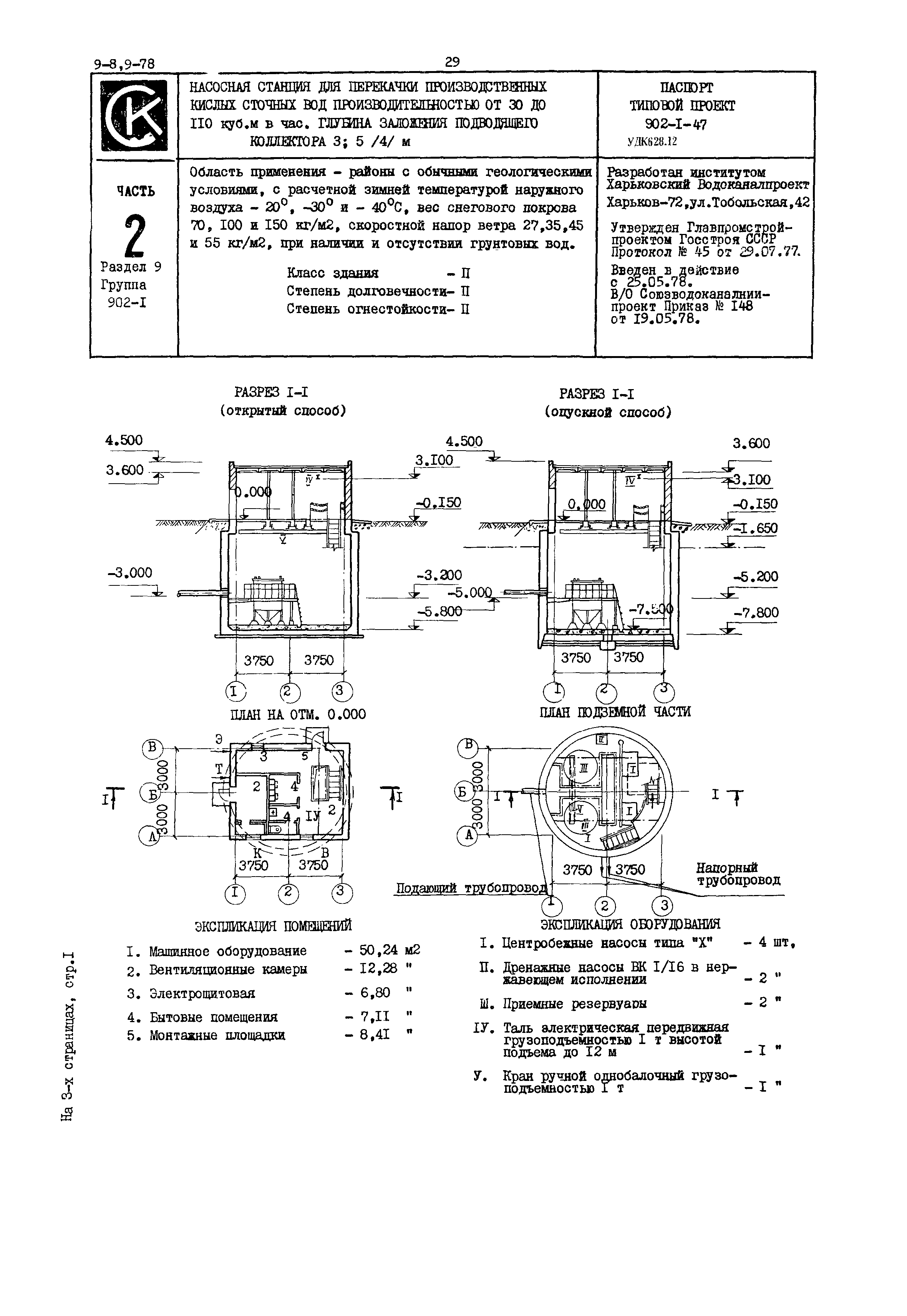
Насосная станция для перекачки производственных кислых сточных вод производительностью от 30 до 110 куб. м/час. Глубина заложения подводящего коллектора 3; 5 /4/ м| Обозначение: | Типовой проект 902-1-47 | | Обозначение англ: | 902-1-47 | | Статус: | заменен | | Название рус.: | Насосная станция для перекачки производственных кислых сточных вод производительностью от 30 до 110 куб. м/час. Глубина заложения подводящего коллектора 3; 5 /4/ м | | Дата добавления в базу: | 01.11.2014 | | Дата актуализации: | 01.01.2021 | | Дата введения: | 25.05.1978 | | Дата окончания срока действия: | 01.03.1988 |
 
|