Скачать Типовой проект 901-6-57 Градирни открытого типа с капельным оросителемДата актуализации: 01.01.2021
|
| Обозначение: | Типовой проект 901-6-57 |
| Обозначение англ: | 901-6-57 |
| Статус: | заменен |
| Название рус.: | Градирни открытого типа с капельным оросителем |
| Дата добавления в базу: | 01.01.2019 |
| Дата актуализации: | 01.01.2021 |
| Дата введения: | 14.06.1978 |
| Дата окончания срока действия: | 01.03.1986 |
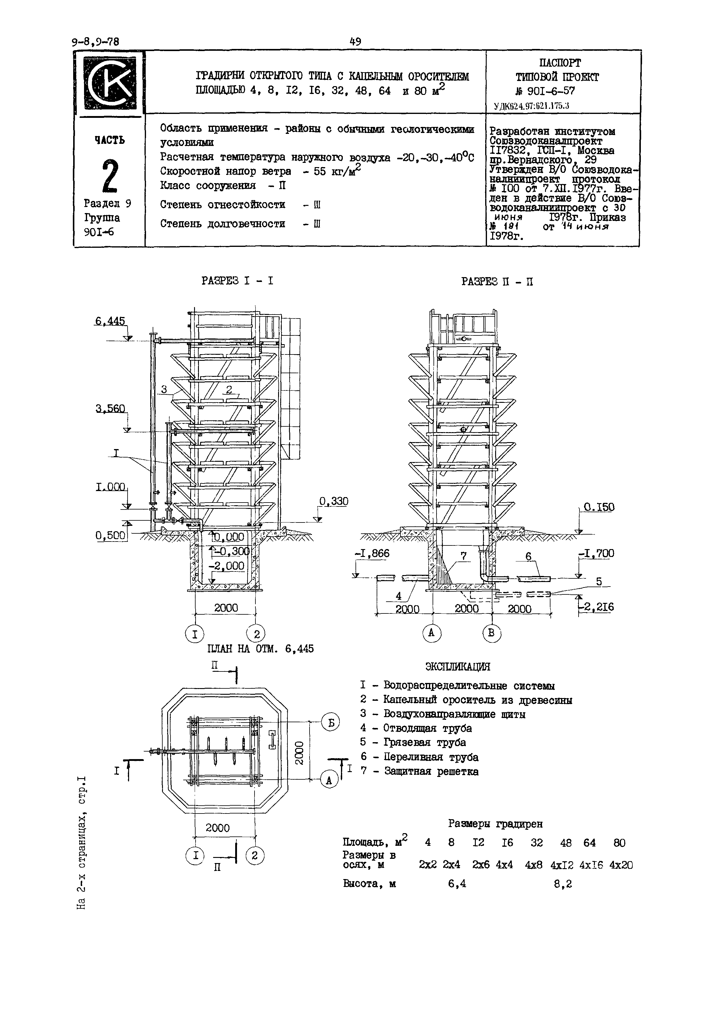
| Область применения: | Градирни предназначаются для охлаждения оборотной воды, без самовозгорающихся и трудноудаляемых примесей, с температурой не выше 50 градусов Цельсия и содержанием взвешенных веществ до 120 мг/л. Удельная гидравлическая нагрузка на 1 кв. м площади оросителя принимается от 3-х до 5-ти куб. м/ч в зависимости от требований к температуре охлажденной воды и климатологических параметров |

