Скачать Типовой проект 901-6-54 Градирня с вентилятором 06-300 № 12,5 поперечноточная объемом 24 куб. м, каркас и обшивка из алюминиево-магниевых сплавовДата актуализации: 01.01.2021 Типовой проект 901-6-54
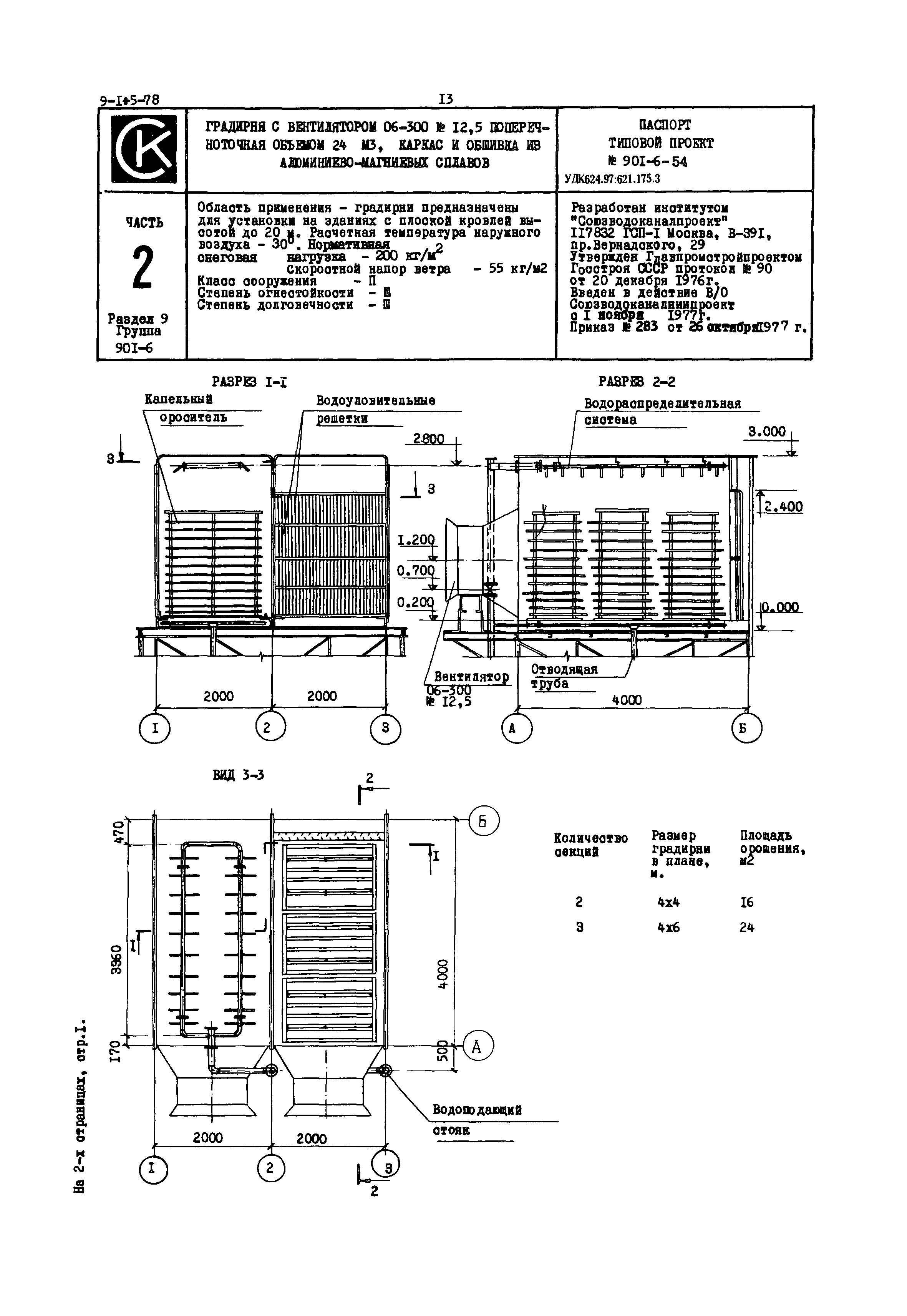
Градирня с вентилятором 06-300 № 12,5 поперечноточная объемом 24 куб. м, каркас и обшивка из алюминиево-магниевых сплавов| Обозначение: | Типовой проект 901-6-54 | | Обозначение англ: | 901-6-54 | | Статус: | отменен | | Название рус.: | Градирня с вентилятором 06-300 № 12,5 поперечноточная объемом 24 куб. м, каркас и обшивка из алюминиево-магниевых сплавов | | Дата добавления в базу: | 21.05.2015 | | Дата актуализации: | 01.01.2021 | | Дата введения: | 01.11.1977 | | Дата окончания срока действия: | 01.07.1996 | | Область применения: | Градирни предназначены для установки на зданиях с плоской кровлей высотой до 20 м. Расчетная температура наружного воздуха - 30 градусов Цельсия. Нормативная снеговая нагрузка - 200 кг/кв. м. Скоростной напор ветра - 55 кг/ кв. м. Класс сооружений - II. Степень огнестойкости - III. Степень долговечности - III |

|