Скачать Типовой проект 901-2-106 Насосные станции на трубчатых колодцах с насосами ЭЦВ производительностью до 16 куб. м/ч с бактерицидными установками ОВ-1ПДата актуализации: 01.01.2021 Типовой проект 901-2-106
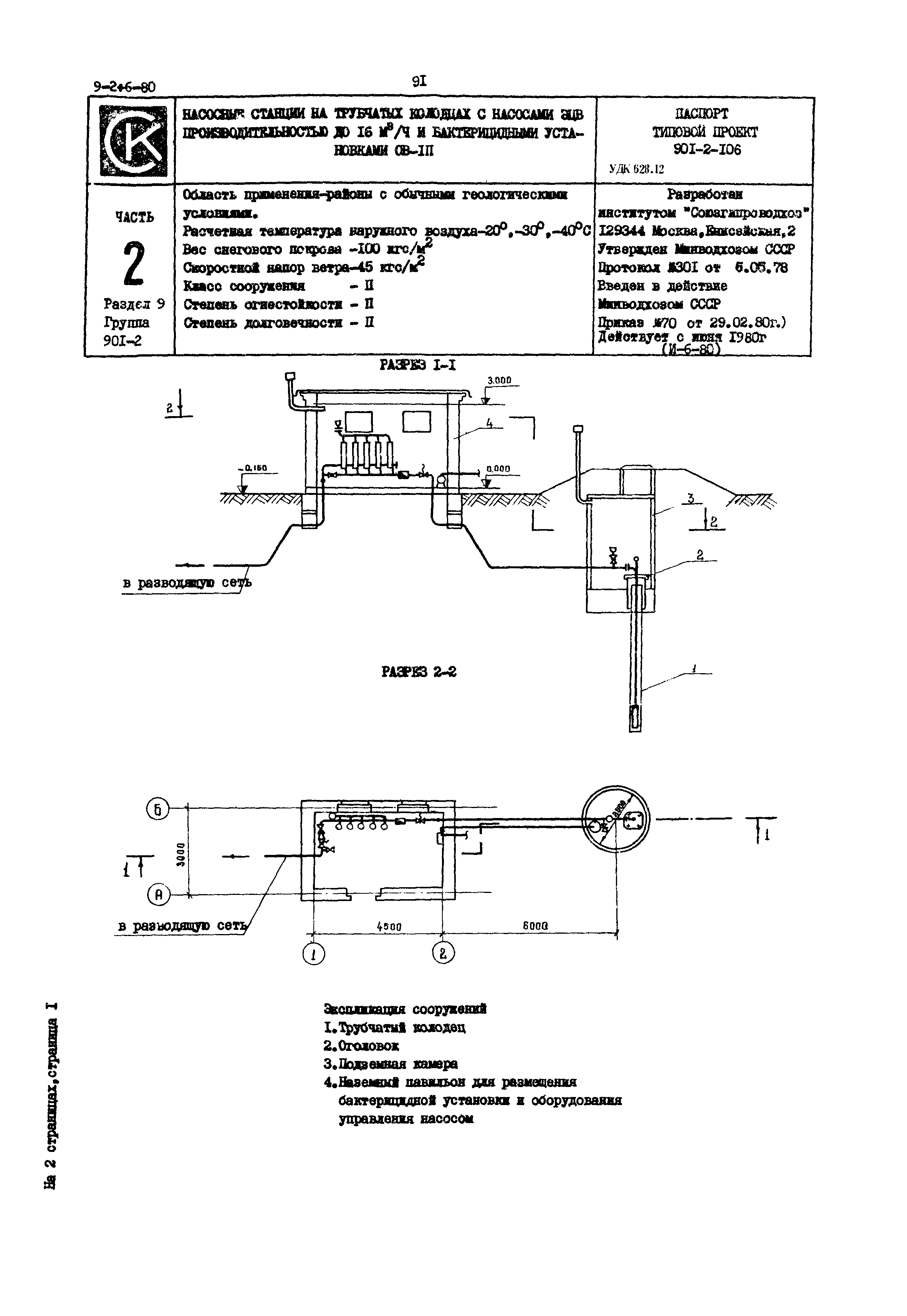
Насосные станции на трубчатых колодцах с насосами ЭЦВ производительностью до 16 куб. м/ч с бактерицидными установками ОВ-1П| Обозначение: | Типовой проект 901-2-106 | | Обозначение англ: | 901-2-106 | | Статус: | заменен | | Название рус.: | Насосные станции на трубчатых колодцах с насосами ЭЦВ производительностью до 16 куб. м/ч с бактерицидными установками ОВ-1П | | Дата добавления в базу: | 01.02.2020 | | Дата актуализации: | 01.01.2021 | | Дата введения: | 10.03.1980 | | Дата окончания срока действия: | 01.11.1986 | | Область применения: | Насосные станции на трубчатых колодцах с насосами ЭЦВ производительностью до 16 куб. м/ч с бактерицидными установками ОВ-1П применяются в тех случаях, когда вода источника водоснабжения требует обеззараживания. |

|