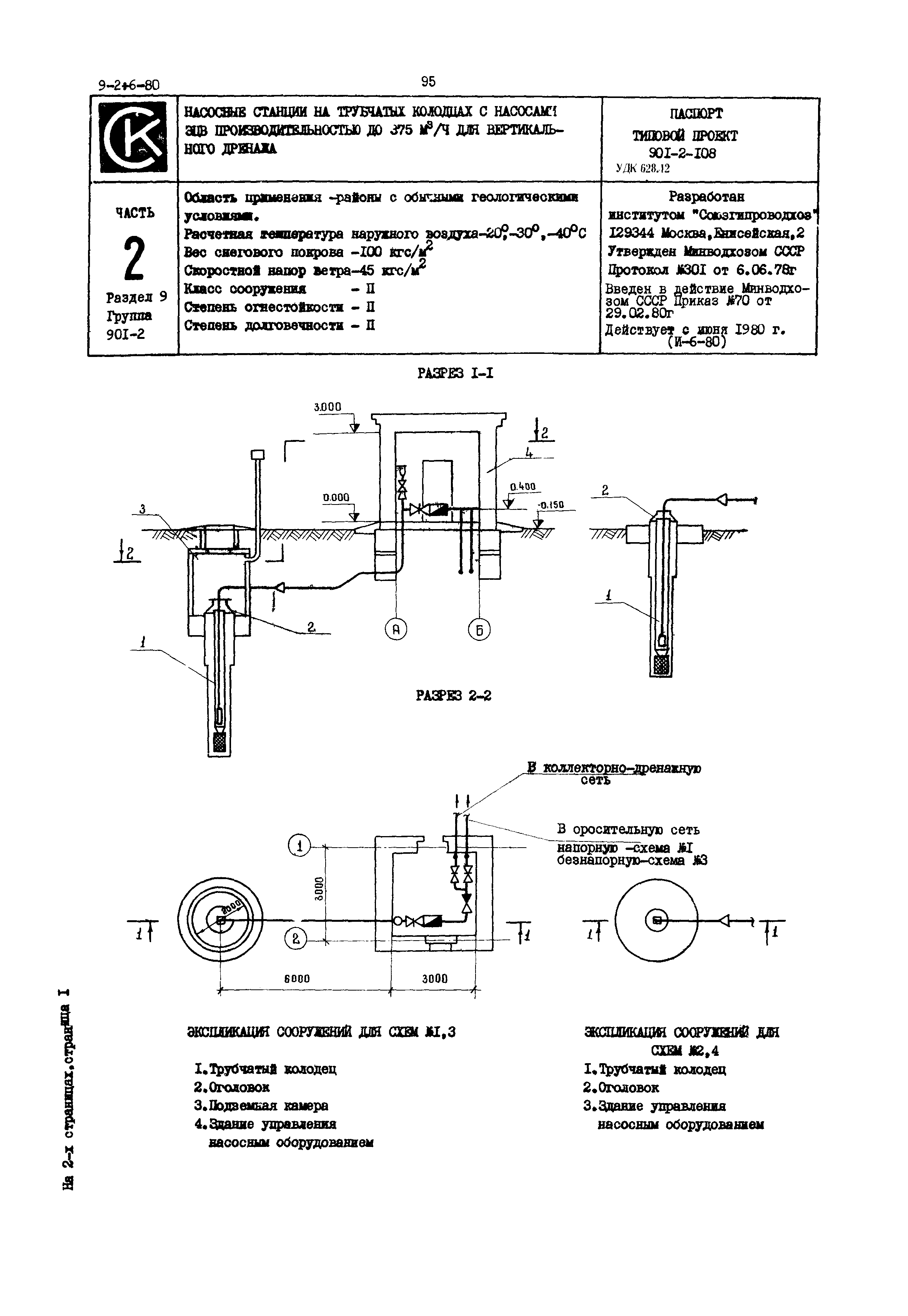
Скачать Типовой проект 901-2-108 Насосные станции на трубчатых колодцах с насосами ЭЦВ производительностью до 375 куб. м/час для вертикального дренажаДата актуализации: 01.01.2021 Типовой проект 901-2-108
Насосные станции на трубчатых колодцах с насосами ЭЦВ производительностью до 375 куб. м/час для вертикального дренажа| Обозначение: | Типовой проект 901-2-108 | | Обозначение англ: | 901-2-108 | | Статус: | заменен | | Название рус.: | Насосные станции на трубчатых колодцах с насосами ЭЦВ производительностью до 375 куб. м/час для вертикального дренажа | | Дата добавления в базу: | 12.02.2016 | | Дата актуализации: | 01.01.2021 | | Дата введения: | 10.03.1980 | | Дата окончания срока действия: | 01.12.1986 |
  
|