Скачать Типовой проект 901-8-1 Установка для фторирования питьевой воды водопроводов населенных мест производительностью 32 - 50 тыс. куб. м/суткиДата актуализации: 01.01.2021
|
| Обозначение: | Типовой проект 901-8-1 |
| Обозначение англ: | 901-8-1 |
| Статус: | не определен законодательством |
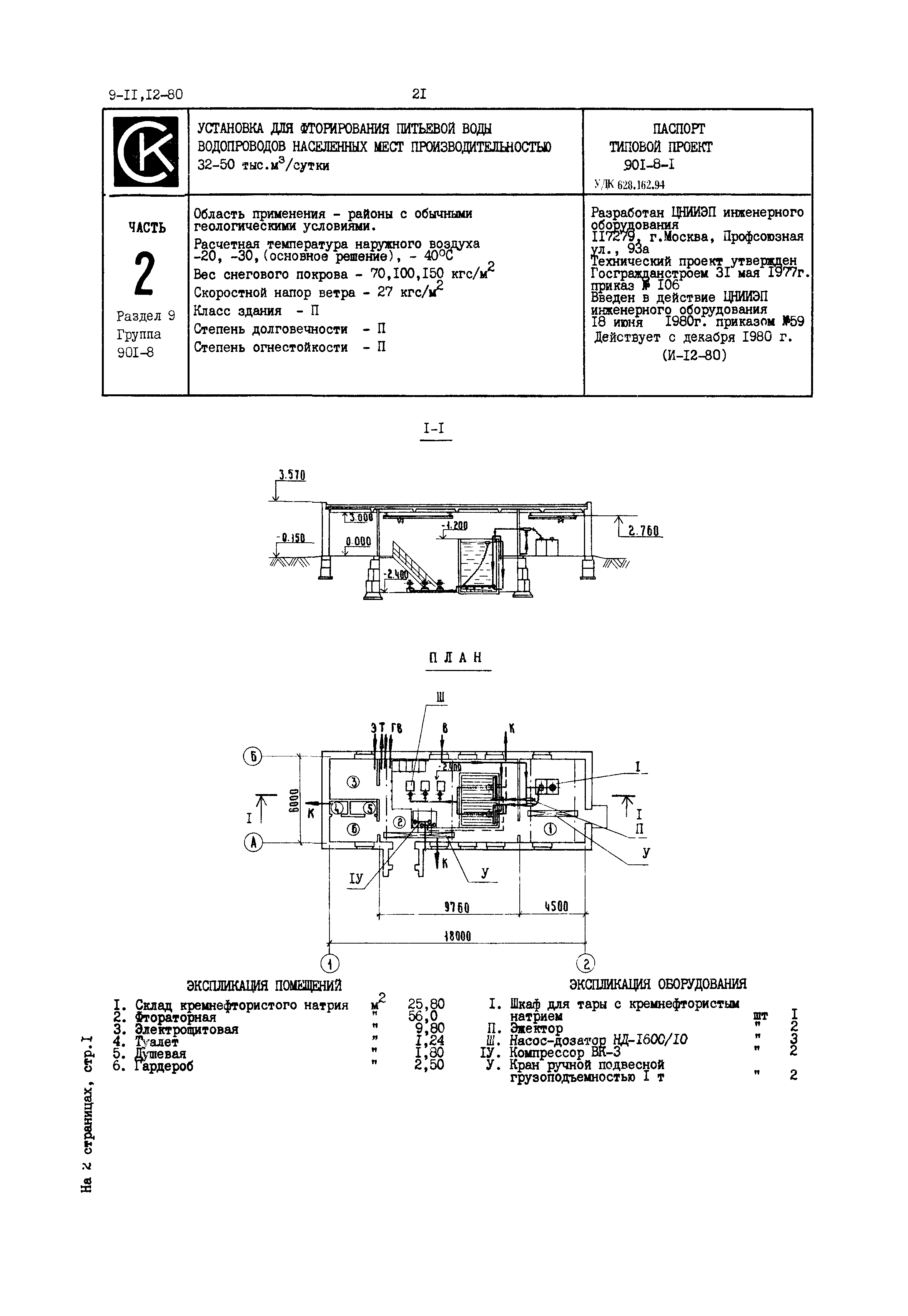
| Название рус.: | Установка для фторирования питьевой воды водопроводов населенных мест производительностью 32 - 50 тыс. куб. м/сутки |
| Дата добавления в базу: | 01.01.2018 |
| Дата актуализации: | 01.01.2021 |
| Дата введения: | 18.06.1980 |
| Дата окончания срока действия: | 30.06.2003 |
| Область применения: | Установка предназначена для фторирования питьевой воды в целях снижения заболевания населения кариесом зубов |


